Найти в Дзене
Naked Science

Технология Пермского Политеха может повысить качество добычи калийных солей с помощью ультразвука

   Технология Пермского Политеха может повысить качество добычи калийных солей с помощью ультразвука / © Ирина Мельникова
Технология Пермского Политеха может повысить качество добычи калийных солей с помощью ультразвука / © Ирина Мельникова

Получение калийных удобрений происходит благодаря переработке сильвинитовых руд. Для обогащения полезного ископаемого применяется флотация, когда с помощью специальных реагентов-собирателей из руды выделяют максимальное количество ценного компонента — хлорида калия. Наиболее эффективными собирателями можно назвать соли первичных длинноцепочечных аминов, действие которых приводит к образованию мицелл (частиц), влияющих на поглощающую способность реагентов. Но слишком крупные мицеллы в процессе флотации препятствует выделению ценного вещества из руды, что приводит к нерациональному использованию дорогостоящих реагентов. Ученые Пермского Политеха выяснили, что уменьшить мицеллообразование можно с помощью ультразвуковой обработки. Оптимально подобранные режимы меняют физико-химические свойства солянокислого амина и повышают качество извлечения хлорида калия.

Статья с результатами опубликована в Journal of Mining Science. Большую часть добываемых руд обычно составляет пустая порода. Технология их обогащения методом флотации заключается в отделении полезных частиц руды (хлорида калия) от пустой породы. Их разделение происходит благодаря гидрофобным свойствам, когда частицы определенного минерала, плохо смачивающиеся водой, стремятся избежать контакта с ней и всплывают на поверхность.

Чтобы придать это свойство хлориду калия, используют реагенты, которые собираются на его поверхности и выталкивают из воды, образуя флотационную пену. Так все ценные компоненты руды в виде пены отделяют от жидкости, сушат, а в дальнейшем используют для создания калийных удобрений.

Наиболее эффективные и распространенные реагенты-собиратели для флотации сильвинитовых руд – это соли высших алифатических аминов. Они склонны к образованию мицелл, от которых зависит поглощающая способность реагентов. Результат флотации во многом зависит от их поверхностной активности и физического состояния в жидкости. Важно не допустить слишком сильного мицеллообразования, потому что тогда они не будут равномерно распределяться по хлориду калия. Это потребует увеличения количества дорогостоящих реагентов.

Ученые Пермского Политеха выяснили, что ультразвуковым воздействием можно влиять на структурные свойства реагентов. Установили, какие параметры и как способствуют эффективному качественному процессу флотации калийных солей.

«Малоэнергоемкая и безопасная для человека ультразвуковая обработка способна изменять физико-химические свойства солянокислого амина – электрокинетический потенциал мицелл, сорбционные и пенообразующие свойства, поверхностное натяжение растворов реагентов и другие. При оптимально подобранных режимах ультразвука повышается качество и выход пенного продукта, увеличивается извлечение хлорида калия. К настоящему времени существует мало сведений о влиянии ультразвука на структурные свойства и коллоидное состояние реагента-собирателя, изучение которого важно для оптимизации процессов флотации хлорида калия», – рассказывает инженер кафедры химических технологий ПНИПУ Владимир Буров.

В реагентных растворах могут присутствовать разнообразные мицеллярные структуры: сплошные или сетчатые, состоящие из большого числа нитеобразных пластинчатых частиц. Это приводит к резкому возрастанию их мутности, вязкости и снижению поглощающей способности. Использование же ультразвуковой обработки позволяет изменить сложную структуру аминов на более простую, уменьшить размер мицелл.

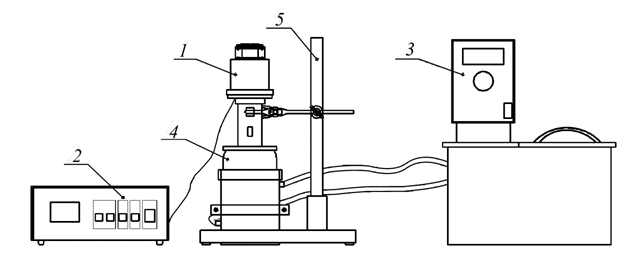
   Схема лабораторной установки для ультразвуковой обработки раствора солянокислого амина 1 — излучательный элемент; 2 — ультразвуковой генератор; 3 — термостат; 4 — реактор с рубашкой; 5 — штатив / © Владимир Буров, пресс-служба ПНИПУ
Схема лабораторной установки для ультразвуковой обработки раствора солянокислого амина 1 — излучательный элемент; 2 — ультразвуковой генератор; 3 — термостат; 4 — реактор с рубашкой; 5 — штатив / © Владимир Буров, пресс-служба ПНИПУ

Политехники провели эксперименты, обработав раствор солянокислого амина ультразвуком максимальной мощностью 0,85 Вт/см3 и продолжительностью воздействия 150 секунд. Выяснили, что этот процесс вызывает изменение структуры раствора: понижается вязкость, уменьшается объем и размер самих мицелл. В таком случае флотация проходит проще и дешевле за счет меньшего использования реагентов, так как небольшие по размеру мицеллы реагента равномерно распределяются по поверхности.

Исследование ученых ПНИПУ показывает перспективность использования ультразвуковой обработки реагента-собирателя, используемого для флотации сильвинитовых руд в калийной промышленности России. Оптимально подобранный режим ультразвука увеличивает извлечение хлорида калия примерно на три процента в процессе лабораторных испытаний.