Добавить в корзинуПозвонить
Найти в Дзене
Мастерская гараж.

Универсальные съемники с гидравлическим штоком.

Статья написана в качестве дополнения к основной статье Съемники. Так как уместить все в одну основную статью оказалось довольно сложно. Слишком большой информационный объем материала требуется для изложения и описания всех типов гидравлических съемников. Да и не все заинтересованы в вариантах съемников с гидравлическим штоком. Итак гидравлические съемники. Главное их отличие от винтовых - это применение для выпрессовки гидроцилиндра вместо прижимного винта. Благодаря такой замене стало возможным значительно увеличивать усилие выпрессовки деталей. При этом самому человеку не потребуется прилагать большие мускульные усилия для этого. Все за него сделает гидравлика. По компактности гидравлические съемники ничем не отличаются, или даже меньше механических с таким же усилием выпрессовывания. При правильной эксплуатации срок службы гидросъемников даже превышает механические. Также при наличии в конструкции гидросъемников предохранительного клапана, они обладают защитой от перегрузок.
Оглавление

Статья написана в качестве дополнения к основной статье Съемники. Так как уместить все в одну основную статью оказалось довольно сложно. Слишком большой информационный объем материала требуется для изложения и описания всех типов гидравлических съемников. Да и не все заинтересованы в вариантах съемников с гидравлическим штоком.

Итак гидравлические съемники. Главное их отличие от винтовых - это применение для выпрессовки гидроцилиндра вместо прижимного винта. Благодаря такой замене стало возможным значительно увеличивать усилие выпрессовки деталей.

При этом самому человеку не потребуется прилагать большие мускульные усилия для этого. Все за него сделает гидравлика. По компактности гидравлические съемники ничем не отличаются, или даже меньше механических с таким же усилием выпрессовывания. При правильной эксплуатации срок службы гидросъемников даже превышает механические. Также при наличии в конструкции гидросъемников предохранительного клапана, они обладают защитой от перегрузок. Которые могут приводить к поломкам съемников.

Из минусов для всех гидравлических съемников можно отметить их цену, сложность ремонта и плохую переносимость низких температур. Из за наличия гидравлической жидкости.

Существуют три основных типа гидравлических съемников. Это

  • съемники с прижимным винтом вместо насоса
  • съемники со встроенным насосом
  • и съемники с присоединяемым насосом

__________________________________________________________________________________________

Съемники с прижимным винтом вместо насоса.

Являются самыми простыми типами гидравлических съемников. Такой съемник состоит из прижимного винта. Давящего на малый гидравлический поршень. Который в свою очередь через жидкость передает давление на большой гидравлический поршень. Принцип работы основан на принципе работы сообщающихся сосудов. Который известен из курса школьной физики. Где давление в большом сосуде всегда равно давлению в малом сосуде. При этом усилие создаваемое поршнем в большом сосуде во столько же раз больше усилия создаваемого поршнем в малом сосуде, во сколько площадь большого сосуда больше площади малого сосуда. Так при разнице в диаметрах поршней в два раза. Разница усилий увеличится в четыре раза.

Демонтаж деталей таким съемником (картинка сверху), осуществляется следующим образом. Малый винт выкручивают максимально вверх. После чего съемник устанавливают для демонтажа детали. Большой винт съемника прижимают с усилием к демонтируемой детали и начинают вкручивать малый винт. Который в свою очередь давит на малый поршень. Он поднимает гидравлическое давление и большой поршень, под этим давлением, с увеличенным в несколько раз усилием, начинает давить на шток. До тех пор пока снимаемая деталь не начинает сдвигаться с места.

Самое большое усилие при выпрессовке нужно прикладывать только в начале. Далее уже сорванную деталь можно снимать вкручивая большой винт.

К достоинствам такого съемника можно следует отнести невысокую стоимость, по сравнению с другими типами гидросъемников. И его компактность.

К недостатком следует отнести особенности его конструкции. Благодаря которой рабочий ход штока небольшой. И после его выработки, для возвращения штока на место потребуется выкрутить малый винт обратно. Затратив достаточно много времени. Но как уже говорилось ранее. Самое большое усилие потребуется создавать только вначале демонтажа детали, при ее сдвиге с места. Прилагать большие усилия далее уже не потребуется. Вполне достаточно усилий от вкручивания большого прижимного винта.

__________________________________________________________________________________________

Съемники со встроенным насосом.

Так же работают по типу сообщающихся сосудов. Но гидравлическая жидкость в них находится в отдельном резервуаре. Принцип работы такой же как и при работе с бутылочными гидродомкратами. Гидравлическая жидкость с помощью встроенного плунжерного насоса из гидробака перекачивается в полость гидроцилиндра. При этом диаметр штока меньше диаметра гидроцилиндра. Так что и усилие которое может развить такой тип съемника достигают значительных величин.

Чтобы при работе гидравлическая жидкость не утекала обратно в гидробак перед насосом установлен обратный клапан. Еще один обратный клапан стоит между гидроцилиндром и насосом. Его роль в поддержании давления в гидроцилиндре. Для сброса давления имеется сливной вентиль.

Преимущества такого вида съемников перед съемниками с прижимным винтом, в возможности добавлять в полость с гидроцилиндром новую порцию жидкости. Увеличивая тем самым ход штока. Также благодаря спускному вентилю и встроенной возвратной пружине шток гидроцилиндра можно легко и быстро вернуть в исходное положение. Достаточно открыть вентиль.

За счет наличия насоса, обратных клапанов, гидробака и возвратной пружины. Стоимость такого съемника выше. Так же: при одинаковом качестве изготовления, с первым типом съемников, из за большего количества деталей выше стоимость ремонта и соответственно вероятность выхода его из строя.

__________________________________________________________________________________________

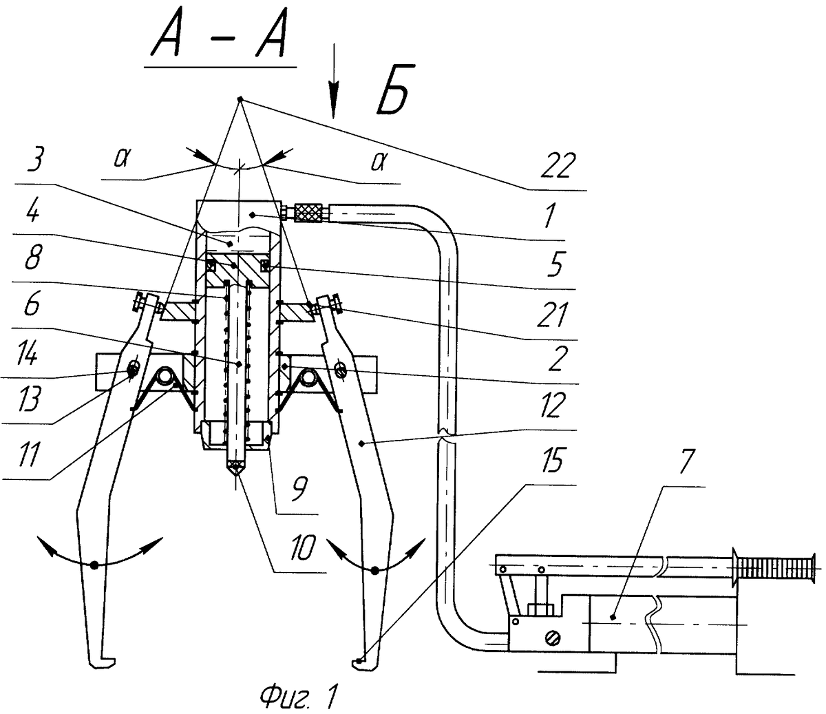
Съёмники с подключаемым насосом.

Представляют из себя съемник со штоком выполненным в виде гидроцилиндра с возвратной пружиной. Вся остальная гидравлическая часть: насос, гидробак, обратные клапана вынесены отдельно и соединены со съемником рукавом высокого давления РВД. Благодаря этому данный тип съемников может создавать высокие давления и(или) большие рабочие хода штоков гидроцилиндров. Также такие съемники можно легко подключить к электрическим гидростанциям. Обеспечивая тем самым высокую производительность их работы.

__________________________________________________________________________________________

Исходя из выше изложенного. Наиболее оптимальным для гаражного использования является: либо механический, либо первый тип гидросъемников. Их вполне хватает для нечастого обслуживания одного, двух автомобилей. Но тем кто планирует обзавестись не только данными съемниками, но и другим гидравлическим оборудованием: прессом, гидроцилиндром с полым штоком и т.д. Я советую обратить внимание на Съёмники с подключаемым насосом. Насос от них в дальнейшем можно использовать для подключения и остального оборудования. Выиграв в качестве характеристик этого оборудования.

__________________________________________________________________________________________

Правила безопасности при работе со съемниками.

Любые съемники (особенно гидравлические) испытываю значительные нагрузки при своей работе. И при поломке каких либо силовых элементов. Вся эта накопленная потенциальная энергия от их нагрузки высвобождается. Что приводит к неконтролируемому разлету частей съемника в разные стороны. На довольно большие расстояния.

Чтобы уменьшить риск, нужно:

  • пользоваться съемниками надежных фирм с хорошей репутацией
  • применять средства индивидуальной защиты: очки, перчатки и т.д.
  • не находится в момент работы съемника на оси перемещения снимаемой детали

__________________________________________________________________________________________

Фирмы производители.

Высокое качество:________________________________________________________________

SKF - фирма выпускающая лучшие в мире подшипники и все что с ними связанно. В том числе и съемники.

KUKKO - это маленькое немецкое семейное предприятие которое специализируется только на съемниках.

HAZET, STAHLWILLE, GEDORE, FACOM - фирмы выпускающие высококачественный ручной инструмент.

Хорошее качество:_______________________________________________________________

Licota, JONESSWAY - фирмы популярные у авторемонтных мастерских из за хорошего соотношения цена/качество.

Качество приемлемое для бытового использования:__________________________

Дело техники, ТЕХРИМ

__________________________________________________________________________________________

Основная статья: "Cъемники. Универсальные съемники узлов и деталей."

Статьи блога "Мастерская гараж" по данной теме.

"Cъемники. Универсальные съемники узлов и деталей." Базовая статья о съемниках.

"Универсальные съемники с гидравлическим штоком."

"Демонтаж подшипников качения и скольжения. В том числе и народными способами." Статья о способах демонтажа подшипников не только с помощью съемников.