Добавить в корзинуПозвонить
Найти в Дзене

Измеритель ёмкости электролитических конденсаторов

Те, кто занимался ремонтом советской техники, знают: в половине случаев (если не больше) неисправность заключается в "высохшем" (потерявшем ёмкость) электролитическом конденсаторе. Вот и я, когда в середине 90-х занимался ремонтом телевизоров/магнитофонов/приёмников, нуждался в приборе, позволившем бы проверять электролитические конденсаторы без выпайки из схемы.

Те, кто занимался ремонтом советской техники, знают: в половине случаев (если не больше) неисправность заключается в "высохшем" (потерявшем ёмкость) электролитическом конденсаторе. Вот и я, когда в середине 90-х занимался ремонтом телевизоров/магнитофонов/приёмников, нуждался в приборе, позволившем бы проверять электролитические конденсаторы без выпайки из схемы.

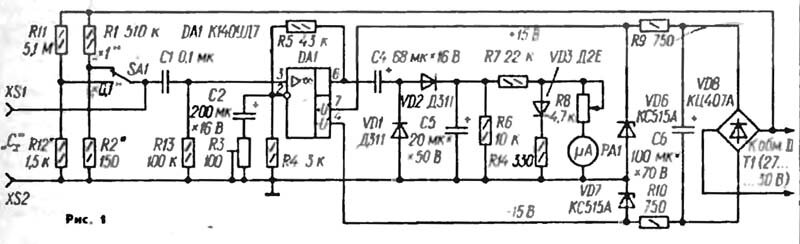
Первая схема такого прибора мне попалась на глаза в журнале "Радио" №6 за 1989 год.

Схема из "Радио" №6 за 1989 год
Схема из "Радио" №6 за 1989 год

Поскольку параметр ЭПС (эквивалентного последовательного сопротивления, он же ESR) на высоких частотах тогда не особо волновал - импульсных блоков питания было мало, то измерения на частоте сети 50 Гц вполне подходили. А чтобы прибор не реагировал на подключенные параллельно конденсатору полупроводниковые приборы, испытательное напряжение было выбрано всего 10 милливольт. Напряжение открытия p-n переходов 0,25 В (германий) или 0,65 В (кремний). Прибор оказался удобным, вот только с парой недостатков. Использовать микросхему малошумящего усилителя было слишком расточительно (она была дефицитной и дорогой), и диапазон измерений был маловат.

Поэтому в сентябрьском номере "Радио" за 1990-й год была опубликована усовершенствованная схема:

Схема из "Радио" №9 за 1990 год
Схема из "Радио" №9 за 1990 год

Был использован ОУ широкого применения и введён второй диапазон. Но нет предела совершенству! И в ноябре 1996 года была опубликована схема гораздо проще и уже с тремя диапазонами:

 Схема из "Радио" №11 за 1996 год
Схема из "Радио" №11 за 1996 год

Её то я и собрал.

Внешний вид
Внешний вид
Внутренности
Внутренности

Попался под руку большой миллиамперметр от щитового "показометра", на ней удобно было разметить шкалу ёмкости, по конденсаторам, измеренным заводским прибором. Корпус согнут из кусков алюминия, добытых уже не помню откуда. Трансформатор питания от приёмника. Пределы измерения - от 1 до 4700 мкФ. Очень он меня тогда выручал при ремонте...