Найти в Дзене
Керамзит

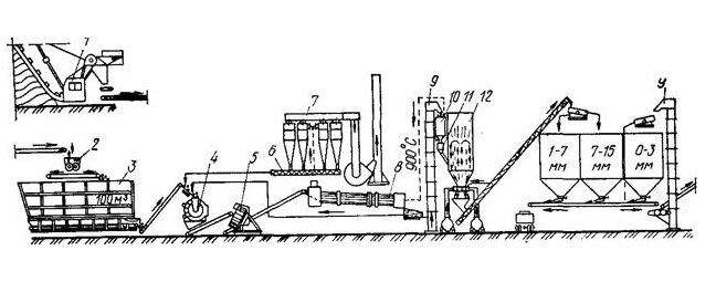
Процесс изготовления огнеупорного утеплителя

В наше время имеется множество утеплителей. Разнятся они ценой, качеством, параметрами, экологичностью и способом укладки. Одним из таких утеплителей является керамзит. Керамзит – это пористый экологичный, теплоизоляционный материал, получаемый методом вспучивания при обжиге легкоплавких глинистых пород. Качество керамзита характеризуется размером его зерен (фракции), объемным весом и прочностью. Керамзит бывает трех видов: керамзитовый гравий, керамзитовый песок и керамзитовый щебень. Гравий и щебень отличаются размером фракций. Песок - это фракция 0 – 5 мм, а гравий от 5 до 40 мм. Щебень же изготавливают из керамзитового гравия путем дробления. Изготовление керамзита – это сложный трудоемкий процесс. Сырье для керамзита является, как ранее было сказано, легкоплавкие глинистые породы. На предприятии в г.Кемерово керамзит изготавливается из керамзитовых суглинков Буренического месторождение. Месторождение пластообразное, залежи однородных суглинков светло – бурого цвета, пылеват

В наше время имеется множество утеплителей. Разнятся они ценой, качеством, параметрами, экологичностью и способом укладки. Одним из таких утеплителей является керамзит. Керамзит – это пористый экологичный, теплоизоляционный материал, получаемый методом вспучивания при обжиге легкоплавких глинистых пород. Качество керамзита характеризуется размером его зерен (фракции), объемным весом и прочностью. Керамзит бывает трех видов: керамзитовый гравий, керамзитовый песок и керамзитовый щебень. Гравий и щебень отличаются размером фракций. Песок - это фракция 0 – 5 мм, а гравий от 5 до 40 мм. Щебень же изготавливают из керамзитового гравия путем дробления.

Процесс изготовления огнеупорного утеплителя
Процесс изготовления огнеупорного утеплителя

Изготовление керамзита – это сложный трудоемкий процесс. Сырье для керамзита является, как ранее было сказано, легкоплавкие глинистые породы. На предприятии в г.Кемерово керамзит изготавливается из керамзитовых суглинков Буренического месторождение. Месторождение пластообразное, залежи однородных суглинков светло – бурого цвета, пылеваты, умеренно пластичные. В суглинках наблюдается ожелезнение в виде охристых пятен и включения органических остатков в виде тонких корочек по стенам проходов от корней растительных остатков. Суглинок светло – коричневато – бурого цвета, комковатый, уплотненный, с известковыми включениями в виде прожилок и налётов. Местами отмечаются темно – буровато – ржавые пятна гидроокиси железа. С карьера привозят глину в глинозапасник.

В глинозапаснике мостовым грейферным краном шихтуют (перемешивают) с древесные опилками с глиной. Делается это для увеличения вспучиваемости глины. Для уменьшения влажности добавляют пыль из ПОК (пылеосодительная камера). Пыль подсушивает глину, дает прочность, но при этом утяжеляет керамзит.

Из глинозапасника шихта при помощи мостового грейферного крана попадает в глинорыхлитель, где снова перемешивается и уже от туда через ленточный питатель по малому ленточному конвейеру попадает в вальцы грубого помола. Вальцы грубого помола перемалывают крупные комки глины. Далее по большому ленточному конвейеру шихта попадают в глиносмеситель. Снова перемешивается, и уже из смесителя попадает в

формовочные вальцы, где формируется сырец цилиндрической формы. С вальцов формовочных сырец попадает в сушильный барабан.. Время прохождения материала в сушильном барабане 11 мин. При такой влажности сырца, поступающего в печь, происходит плавный прогрев гранул. Температура в сушильном барабане от 450 до 550º С

Следующий процесс это обжиг сырцовых гранул во вращающейся печи цилиндрической формы L=40м и d=2,5м. Продолжительность пребывания глиняных гранул в печи 40 минут, при этом 20 минут гранулы нагреваются 700ºС, а в течении последующих 5 минут температура их доходит до 1100 - 1200ºС, при этой температуре они в течении 12 минут обжигаются, а затем 3 минуты охлаждаются до температуры 800 - 900ºС. Под действие высоких температур

происходит дегидратация, аморфизация и образования некоторого количества жидкой фазы в глинистом веществе. Характер процессов, происходящих при обжиге керамзита во вращающееся печи, позволяет условно подразделить ее на четыре зоны:

- сушка и испарение влаги;

- нагрева, совпадающую с зонами дегидратации и окислительно – восстановительных реакций;

- вспучивания;

- охлаждения.

Охлаждение является заключительной стадией тепловой обработки, в працессе которой заканчивается формирование структуры керамзитового гравия. Можно выделить две характерные стадии охлаждения:

- от температуры вспучивания до температуры затвердения;

- ниже температуры затвердения расплава.

Первая стадия охлаждения протекает в основном в зоне охлаждения вращающейся печи. Перед началом охлаждения размягченная масса гранулы керамзита состоит из жидкой фазы переменного состава и твердой фазы. По мере охлаждения происходит частичная кристаллизация расплава и превращение кристаллических фаз в формы, более устойчивые при низких температурах. Компоненты расплава кристаллизуются до затвердения жидкой фазы, при температуре примерно 50-200ºС ниже температуры вспучивания. При выходе из печи керамзит имеет температуру 800-900ºС.

Вторая стадия охлаждения проходит в слоевом холодильнике. Фактором наиболее существенно влияющем на прочность керамзитового гравия при температурах, меньших,

Чем температура затвердения, является термическое напряжение. При охлаждении гранул керамзита наружные слои стремятся сократится, чему препятствуют внутренние слои, имеющие более высокую температуру и следовательно, большую степень расширения. В результате наружные слои гранулы оказываются растянутыми, а внутренние – сжатыми. Термическое напряжение, возникающее в гранулах, тем больше, чем больше ее размер и интенсивность охлаждения. Режим охлаждении керамзитового гравия в холодильнике регулируется таким образом, чтобы не допустить снижение прочности материала в ходе охлаждения.

Охлажденный керамзитовый гравий идет в яму запаса, а затем сортируется по размерам на четыре фракции: 0-5; 5-10; 10-20; 20-40. Для этой цели применяется гравиесортировка или вибросита. Отсортированный керамзит раздельно по фракциям с помощью системы транспортеров в бункеры выдачи и хранения керамзита по фракциям.

Качество керамзита зависит от прочности (от П15 до П300), насыпной плотности (от 150 до 800 кг/м3), морозостойкости (не менее 25 циклов), водопоглащения (8-20%) и гамма-спектрометрии.

Подробную информацию можно прочитать на сайте Керамзит42.рф.