Найти в Дзене
ProTанки

Советский танк ИС-3 после попаданий в него снарядов. Уникальные фотографии

Есть танки хорошие, а есть плохие. А есть такие, которым банально не везет, и они не показывает все то, на что способы. Так сразу не узнаешь, какая машина остается буквально в тени своих легендарных собратьев. Самое обидное бывает тогда, когда этот танк еще и передовой, несмотря на какие-нибудь нюансы. Так, советский Т-44 остался по факту забыт всеми, хотя значительно превосходил Т-34 по всем характеристикам, и самое главное, в плане защиты. Похожая участь была у советского танка ИС-3. Его начали создавать под конец 44-го года, когда производство ИС-2 набирало обороты, и никто сильно не спешил. Тем не менее, первые 20 с лишком танков выпустили уже в апреле 45-го года,и ясное дело, во Второй мировой они поучаствовать не успели. Уделили особое внимание броне танка, тогда как орудие оставили от ИС-2. Как сообщалось в советской специализированной литературе, этот танк, в отличие от ИС-2 выдерживал попадания основного немецкого противотанкового орудия Pak 40. Кроме того, выдержива

Есть танки хорошие, а есть плохие. А есть такие, которым банально не везет, и они не показывает все то, на что способы. Так сразу не узнаешь, какая машина остается буквально в тени своих легендарных собратьев. Самое обидное бывает тогда, когда этот танк еще и передовой, несмотря на какие-нибудь нюансы.

-2

-3

Так, советский Т-44 остался по факту забыт всеми, хотя значительно превосходил Т-34 по всем характеристикам, и самое главное, в плане защиты. Похожая участь была у советского танка ИС-3. Его начали создавать под конец 44-го года, когда производство ИС-2 набирало обороты, и никто сильно не спешил. Тем не менее, первые 20 с лишком танков выпустили уже в апреле 45-го года,и ясное дело, во Второй мировой они поучаствовать не успели. Уделили особое внимание броне танка, тогда как орудие оставили от ИС-2.

-4
-5

Как сообщалось в советской специализированной литературе, этот танк, в отличие от ИС-2 выдерживал попадания основного немецкого противотанкового орудия Pak 40. Кроме того, выдерживал попадание из зенитного орудия Flak, и не боялся «Пантеры». А что это значит? Скорее всего то, что танк планировалось использовать в случае возможного конфликта с бывшими Союзниками, и прежде всего с американскими войсками. Тогда, немецкие противотанковые орудия которые остались после войны являлись наиболее убойными во всем мире.

-6
-7

Но, Слава Богу, никакой войны не было, и «щучий нос» являлся только интересной задумкой. Танки конечно продолжали модернизировать, но уже через 20 лет машина устарела, на фоне американского танка М-48 и английского «Центуриона». Английским танковым орудием L7 броня советского танка пробивалась на всех доступных дистанциях, что сделало его крайне уязвимым. Кроме того, советские танки очень медленно стреляли.

-8
-9

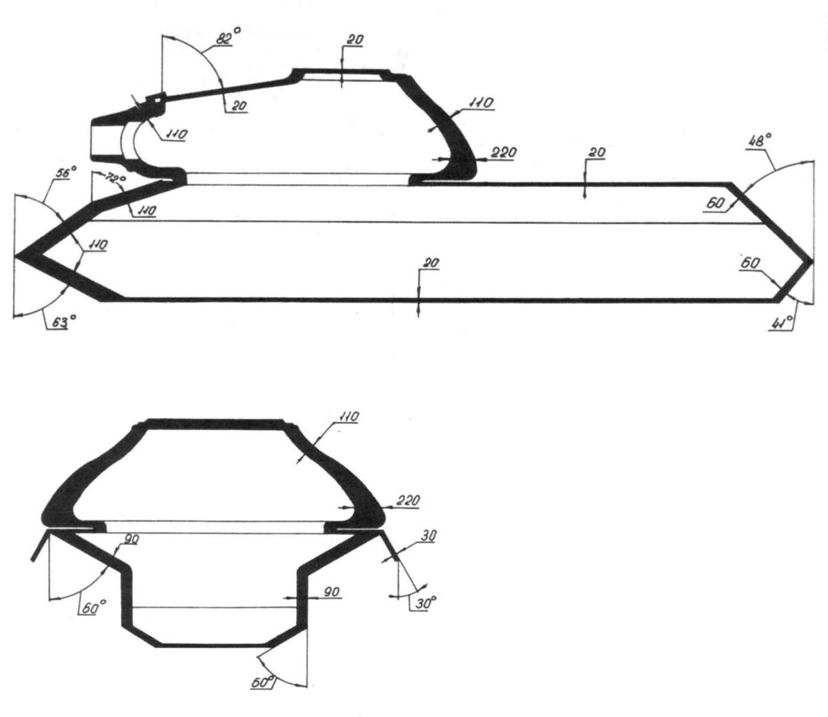
И никакого преимущества у ИС-3 не было. Особенно учитывая тот факт, что был изъян, который устранили, но лишь спустя время, и танк например, поэтому не уходил на экспорт. Из-за сложной конструкции «кормы» шов был неравномерный, и при попадании расходился. Лишь в 50-х годах смогли убрать этот недостаток.

Иллюстрация проблемы танков ИС-3.
Иллюстрация проблемы танков ИС-3.