Добавить в корзинуПозвонить
Найти в Дзене
Альтернативная история

Тишина в небе. Российский прорыв — как учёные собираются сделать авиалайнеры почти бесшумными

Российские инженеры представили концепцию перспективного магистрального самолёта с инновационной гибридной силовой установкой. Согласно патенту, опубликованному в базе данных ФИПС, воздушное судно оснащено двумя мотогондолами, в которых совмещены турбореактивные двухконтурные двигатели (ТРДД) и электрические реактивные двигатели импеллерного типа. Эти элементы размещены в задней части крыла —

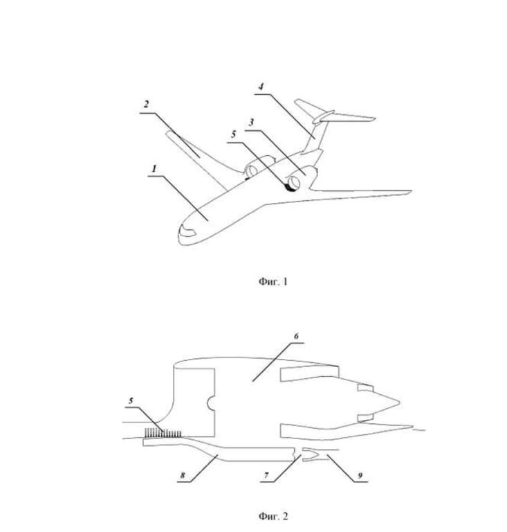
Российские инженеры представили концепцию перспективного магистрального самолёта с инновационной гибридной силовой установкой. Согласно патенту, опубликованному в базе данных ФИПС, воздушное судно оснащено двумя мотогондолами, в которых совмещены турбореактивные двухконтурные двигатели (ТРДД) и электрические реактивные двигатели импеллерного типа. Эти элементы размещены в задней части крыла — ТРДД — в зоне стыка крыла с фюзеляжем, а электродвигатели — непосредственно в крыльях под ними.

Гражданская авиация | Альтернативная история | Дзен

Особенностью конструкции является отсутствие традиционных пилонов: все поверхности мотогондол плавно интегрированы в обводы крыла и фюзеляжа. Хвостовое оперение выполнено по Т-образной схеме. На верхней поверхности крыла предусмотрена перфорация, через которую осуществляется забор воздуха из пограничного слоя для питания электрических двигателей. Такое решение предотвращает отрыв потока и обеспечивает газодинамическую устойчивость силовой установки на крейсерском режиме полёта.

Подобная компоновка даёт несколько ключевых преимуществ: снижается уровень шума над землёй, уменьшается риск попадания посторонних предметов с взлётно-посадочной полосы в двигатели, а также сокращается внешнее аэродинамическое сопротивление за счёт исключения пилонов и уменьшения омываемой поверхности.

-2

Как указано в патенте, комбинация ТРДД и электрических реактивных двигателей (ЭРД) полностью исключает образование отрывного течения у входа воздухозаборников. Турбореактивные двигатели обеспечивают основную тягу и разгон, тогда как электрические — стабилизируют воздушный поток, снижая аэродинамические и шумовые потери. Кроме того, интеграция ТРДД непосредственно в крыло без использования пилонов уменьшает пикирующий момент, создаваемый реактивной тягой.

Официальная группа сайта Альтернативная История ВКонтакте

Телеграмм канал Альтернативная История

Читайте также:

Источник: https://alternathistory.ru/tishina-v-nebe-rossijskij-proryv-kak-uchyonye-sobirayutsya-sdelat-avialajnery-pochti-besshumnymi/

👉 Подписывайтесь на канал Альтернативная история ! Каждый день — много интересного из истории реальной и той которой не было! 😉