Найти в Дзене
Pro Hi-Tech

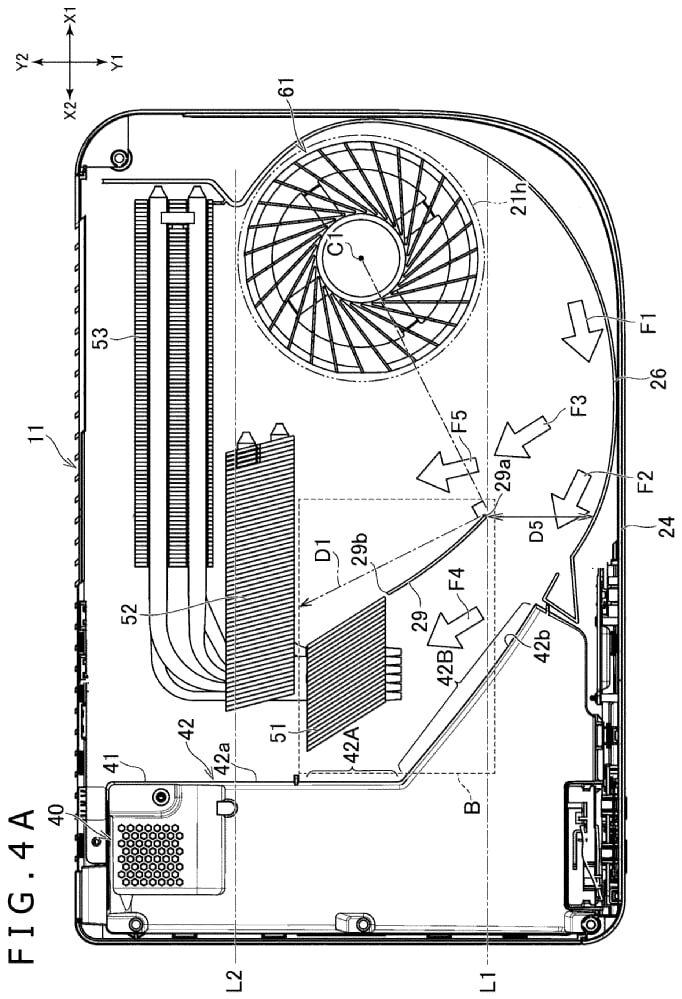
Sony запатентовала систему, в которой обычные вентиляционные отверстия дополняются перегородкой

Sony запатентовала систему, в которой обычные вентиляционные отверстия дополняются перегородкой. Она размещается между воздухозаборником и внутренними компонентами и должна не дать пыли проникать вглубь корпуса. При этом воздуху ничего не мешает — циркуляция сохраняется. Хотя в патенте упоминается PS5, это скорее условный пример.

Будет ли конструкция использоваться в будущем — вопрос открытый, как и с большинством подобных заявок.

-2