Добавить в корзинуПозвонить
Найти в Дзене

Всё о 3D-печать гипсом

В статье: история возникновения технологии, производители и разработчики оборудования, особенности технологии, примеры применения 3D-печати гипсом.
Среди группы аддитивных технологий «струйное нанесение связующего» (BJ) одна из самых распространенных и популярных в свое время – полноцветная 3D-печать гипсом (CJP – Color Jet Printing). Правда, популярность этой технологии – давно в прошлом, но даже сейчас её еще рано назвать устаревшей.
По этой технологии формируется слой порошка и на него при помощи струйных головок наносится связующее вещество. При необходимости используются инфракрасные лампы для ускорения высыхания.
Схематично это можно изобразить так: Подробнее о этой группе технологий – здесь, способы формирования слоя порошка – здесь. В случае 3D-печати гипсом используется гипсовый порошок, а в качестве связующего – вода. Все началось в конце 80-х годов прошлого века, когда в светлые головы работников Массачусетского технологического института (MIT, США) пришла идея печатать стру
Оглавление

В статье: история возникновения технологии, производители и разработчики оборудования, особенности технологии, примеры применения 3D-печати гипсом.
Среди группы аддитивных технологий «струйное нанесение связующего» (BJ) одна из самых распространенных и популярных в свое время – полноцветная 3D-печать гипсом (CJP – Color Jet Printing). Правда, популярность этой технологии – давно в прошлом, но даже сейчас её еще рано назвать устаревшей.
По этой технологии формируется слой порошка и на него при помощи струйных головок наносится связующее вещество. При необходимости используются инфракрасные лампы для ускорения высыхания.
Схематично это можно изобразить так:

Подробнее о этой группе технологий – здесь, способы формирования слоя порошка – здесь.

В случае 3D-печати гипсом используется гипсовый порошок, а в качестве связующего – вода.

История возникновения

Все началось в конце 80-х годов прошлого века, когда в светлые головы работников Массачусетского технологического института (MIT, США) пришла идея печатать струйным принтером по слою гипсового порошка. Технология была легко проверяемая, использовался обычный гипс и обычные головки от струйного принтера HP.
В 1993 году технология была запатентована и названа 3DP - three dimensional printing – трехмерная печать. Патент US5204055A, дача подачи заявки – декабрь 1989 года, дата получения патента – апрель 1993 года.
Кстати, до этого понятия 3D-печать не было – говорили о стереолитографии, применительно к SLA-машинам.

Авторство технологии интернет приписывают студенту Паулю Вильямсу, который изобрел её аж в 1980-м году… или двум студентам… но в патенте указаны четыре человека - Emanuel M. Sachs, John S. Haggerty, Michael J. Cima, Paul A. Williams.
Закс и Сима – преподаватели MIT на факультетах машиностроения и материаловедения и инженерии с 1986 года, Пауль Вильямс действительно был студентом (в англоязычной терминологии – аспирантом) магистратуры MIT, и успешно защитил магистерскую диссертацию в 1990 году под руководством Симы.

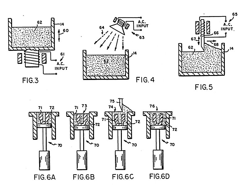
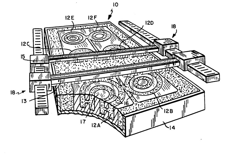
Рисунки из патента:

Внешний вид машины, на которой осуществлялась первая в мире 3DP-печать:

Z Corporation - основоположник 3DP печати гипсом

В последующим MIT передал лицензию на технологию 3DP различным компаниям, в том числе в 1996 году - Z Corporation.
Позже, в августе 2005 году Z Corp была продана Contex Holding, а в январе 2012 года приобретена 3D Systems.
Эти злоключения хорошо видны по череде названий принтеров Z Corporation – c 2005 года в них появилось упоминание Contex, а после 2012 года – они начали называться Projet, причем в скобках стыдливо упоминали старое название, например, Projet 660 Pro (Zprinter 650). Интересно, что после поглощения корпорацией Contex дело обстояло ровно наоборот – вначале писали старое название принтера, а в скобках – новое, например, ZPrinter 310 Plus (Contex DESIGNmate Mx).
"3D Systems" попыталась развить технологию - выпустив принтеры для пищевой печати (о них - здесь) и для печати керамикой. Это уже были чисто "3D Systems" разработки по дизайну.

Первый принтер Z Corporation вывела на рынок в 1996 году, в линейке были принтеры как для полноцветной цветной, так и для «обычной» 3D-печати.

Пример принтеров Z Corporation/ Contex/ Projet (3D Systems):

Пример напечатанных изделий:

Самодельные устройства и конкуренты

Использование стандартных головок от принтеров HP (например, в Projet 660 Pro (Zprinter 650) используются печатающие головки HP11, в других принтерах серии x60 для цветной печати могут использоваться головки HP57) и простота конструкции, в принципе, позволяют повторить данные принтеры в домашних условиях, тем более, что цены на них негуманные (минимум 45 000 долларов для самой «бюджетной» модели).

Фотографии печатающих головок принтеров:

Из самодельных конструкций можно упомянуть Иво де Хааса, который в 2015 году разработал DIY-проект Plan B, в 2017 году – Focus с использованием головок HP C6602 с точностью 92 точки на дюйм, в следующем проекте Oasis он уже использовал головки HP45 с точностью печати 600 точек на дюйм.

Но популярности данные проекты не получили.

В 2017 году идея полноцветной цветной печати захватила умы руководства фирмы XYZprinting (Тайвань) и они вывели на рынок машину PartPro350 xBC. Качество цветной печати было, как минимум, не хуже, чем у «фирменных» принтеров ProJet от 3D Systems. Но популярности этот принтер не получил, и сейчас его производство и продажа тихо свернута, хотя поддержка проданных экземпляров остается.

Особенности 3D-печати гипсом

Но вернемся к ZCorporation и полноцветной печати гипсом.

Первое, что нужно помнить – обычный гипс не подойдет.

Порошок для 3D-печати, несмотря на гипсовую основу, должен иметь заданную текучесть, хорошую смачиваемость, белизну (иначе исказятся цвета), высокую прочность и нужную скорость схватывания и отсутствие усадки при схватывании. Теоретически можно использовать обычный строительный гипс, но результат будет непредсказуемым. На практике желающих экономить на сравнительно дешевом порошке на установке стоимостью от 45 000 долларов и выше – не находится. Порошок представляет собой особо белый прочный гипс определенного помола с добавками клея ПВА.

В любительских конструкциях используются обычные чернила HP, или смесь воды со спиртом, но для достижения качественного результата «чернила» (биндер) должны быть специальные – с добавлением ПАВ, чтобы обеспечить смачиваемость порошка. ZCorporation использует связующее, состоящее в основном, из воды, с добавлением ПАВ, гликоля и сульфата калия.

Внешне принтер (для примера взят Zprinter 650) выглядит так:

Используются головки HP11, с чернилами черного цвета. После установки 3D-принтер автоматически их опорожняет и заправляет уже своими расходниками.

Чернила в головки подаются через СНПЧ из картриджей, по 300мл для цветных чернил и 1л для черного цвета и прозрачного цвета.

При печати головки засоряются гипсовым порошком, поэтому каждые несколько слоев происходит очистка головок снаружи специальной жидкостью.

В результате получается «зеленая» деталь – слабая, с не полностью прореагировавшим гипсом. Это связано с тем, что количество связующего подается меньше, чем нужно для полного схватывания гипса – для улучшения качества печати и ускорения высыхания слоя.

Особенность печати – интенсивность подачи биндера и краски зависит от места в сечении деталей.

Поясняющий рисунок:

Рисунок, поясняющий принцип нанесения биндера и цветных чернил при полноцветной 3D-печати гипсом
Рисунок, поясняющий принцип нанесения биндера и цветных чернил при полноцветной 3D-печати гипсом

По периметру сечения выдается максимальное количество краски, внутри – деталь неокрашенная

По периметру выдается максимальное количество биндера, внутри сечения детали – количество биндера меньше.

По окончании печати детали необходимо очистить от гипса. Это делается либо специальным «пылесосом», встроенным в принтер, либо автоматическим удалением гипса через специальные отверстия в бункере построения.

Окончательно детали очищаются в специальной камере очистки при помощи обдува компрессором через специальные насадки.

Рекламное фото. В реальности деталь надо тщательно очистить от порошка и покрыть закрепителем.
Рекламное фото. В реальности деталь надо тщательно очистить от порошка и покрыть закрепителем.

«Зеленую» деталь необходимо «закрепить» - пропитать специальным закрепителем для материала zp130 или обычной водой (для zp140).

Пропитка отпечатанной фигурки закрепителем
Пропитка отпечатанной фигурки закрепителем

При этом деталь сильно разогревается.

Закрепленная деталь уже достаточно прочна, но пористая.
Её обычно подвергают постобработке:

 покрывают специальным лаком (или обычным – тут тоже уже можно экономить)
 пропитывают цианилакрилатом
 пропитывают специальными восками (или обычным парафином)
 пропитывают раствором «английской соли» (сернокислым магнием). В случае, если цвет не важен – возможно использование медного или железного купороса.
 пропитывают специальной эпоксидной смолой (обязательно специальной! Бесцветной, чтобы не исказить цвета, и жидкой, чтобы она могла проникнуть в поры детали).

Основные направления использования 3D-печати гипсом – печать макетов, рельефных карт местности, фигурок. Одно время была попытка массово внедрить печать 3D-фигурок людей («3D-фотография»), но по ряду причин – услуга «не взлетела».

Тем не менее, прочность гипсовых деталей достаточна, чтобы их использовать в качестве формы для отливки деталей простой конфигурации из двух компонентных пластиков – полиуретана или силикона.
Теплостойкость таких форм достаточна для возможности горячей вулканизации резины или силикона горячей вулканизации.

Пример напечатанных форм и отлитых в них деталей из двухкомпонентного силикона (звездочка) и полиуретана (колесо)
Пример напечатанных форм и отлитых в них деталей из двухкомпонентного силикона (звездочка) и полиуретана (колесо)

Так же возможна изготовления форм для литься легкоплавких сплавов – олова, свинца. Для более «серьезных» металлов теплостойкость уже недостаточна, но есть фотографии отливок алюминиевого сплава в формы, напечатанные из гипсового порошка zp130:

Фотография литейной формы и отлитой в нее металлической детали, якобы алюминиевый сплав.
Фотография литейной формы и отлитой в нее металлической детали, якобы алюминиевый сплав.

Вероятнее всего, тут ошибки перевода или особенности терминологии – термостойкость гипса недостаточна для заливки алюминия, но вот заливку ЦАМа (цинково-алюминиевого сплава) гипс еще может выдержать. ЦАМ – фактически цинк, легированный алюминием для улучшения литейных свойств.

В России было закуплено достаточно много подобных принтеров, одно время HARZ Labs даже выпускал для них гипс и связующее.

Заключение

В свое время 3D-печать гипсом была очень распространена из-за доступности и дешевизны. Но времена меняются, теперь стоимость расходников для такой 3D-печати уже не кажется низкой, и 3D-печать гипсом уже дороже фотополимерной или FDM-печати.

Главная фишка – возможность получения полноцветной модели – почему-то оказалась маловостребованной. Уход в тень данной технологии несколько удивителен, т.к. в таких областях, как архитектурное макетирование, быстрое прототипирование для оценки внешнего дизайна, печать сувениров и фигурок полноцветная 3D-печать гипсом по цене и трудоемкости не имеет конкурентов даже сейчас…
Единственный конкурент - цветная струйная печать фотополимером - намного дороже, как по расходным материалам, так и по стоимости оборудования.

Остался неосвещенным еще очень интересный вопрос:
«А чем еще, кроме гипса, можно печатать на подобных принтерах, с термоголовками и связующим на основе воды?»
Различными порошками и смесями, которые могут склеиваться под действием воды – например порошком целлюлозы в смеси с водорастворимым клеем.

Но об этом – в следующей статье.

Вводная статья про группу технологий «Струйное нанесение связующего»

Статья про полноцветную 3D-печать: