Добавить в корзинуПозвонить
Найти в Дзене
Альтернативная история

Авиационные двигатели большой мощности Fairey P.24 Monarch. Великобритания

Первым оригинальным двигателем, созданным компанией Fairey Aviation Company (FAC), был P.12 Prince. Разработанный капитаном Арчибальдом Грэмом Форсайтом, Prince представлял собой 12-цилиндровый V-образный рядный двигатель с рабочим объемом 1559 куб. дюймов (25,5 л), который в окончательном варианте имел номинальную мощность 750 л.с. (559 кВт) и максимальную мощность 900 л.с. (671 кВт). Стремясь к достижению большей мощности, Арчибальд Форсайт разработал 16-цилиндровый двигатель, который получил обозначение P.16 и который имел рабочий объем 2078 куб. дюймов (34,1 л). Первоначально рассматривалась V-образная компоновка двигателя P.16, но конфигурация была изменена из-за проблем, связанных с длиной двигателя в сочетании с чрезмерными крутильными колебаниями и напряжениями длинного коленчатого вала. Конфигурация двигателя P.16 была изменена на H-16 с четырьмя рядами по четыре цилиндра. Однако, переход к двигателю конфигурации H-24 с четырьмя блоками по шесть цилиндров позволял более мощный

Первым оригинальным двигателем, созданным компанией Fairey Aviation Company (FAC), был P.12 Prince. Разработанный капитаном Арчибальдом Грэмом Форсайтом, Prince представлял собой 12-цилиндровый V-образный рядный двигатель с рабочим объемом 1559 куб. дюймов (25,5 л), который в окончательном варианте имел номинальную мощность 750 л.с. (559 кВт) и максимальную мощность 900 л.с. (671 кВт).

Двигатели и иное моторостроение | Блог альтернативная история | Дзен
Авиация реальная и альтернативная | Блог альтернативная история | Дзен

Стремясь к достижению большей мощности, Арчибальд Форсайт разработал 16-цилиндровый двигатель, который получил обозначение P.16 и который имел рабочий объем 2078 куб. дюймов (34,1 л). Первоначально рассматривалась V-образная компоновка двигателя P.16, но конфигурация была изменена из-за проблем, связанных с длиной двигателя в сочетании с чрезмерными крутильными колебаниями и напряжениями длинного коленчатого вала. Конфигурация двигателя P.16 была изменена на H-16 с четырьмя рядами по четыре цилиндра. Однако, переход к двигателю конфигурации H-24 с четырьмя блоками по шесть цилиндров позволял более мощный двигатель, который обладал бы такой же площадью поперечного сечения, что и двигатель H-16. На самом деле, из первичных источников мало что указывает на то, что двигатель P.16 или конфигурация H-16 являлись предметом серьезного рассмотрения. Работы по проектированию двигателя H-24 начались в октябре 1935 года. 24-цилиндровый Н-образный двигатель получил обозначение P.24 и, возможно, изначально назывался «Prince» (как P.12). Какое-то время P.24 назывался «Queen», но позже название было изменено на «Monarch».

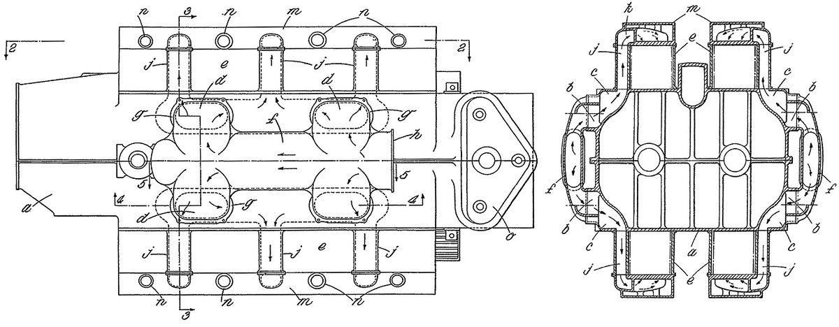
Fairey P.24 Monarch был двигателем с вертикальным расположением цилиндров, в котором левая и правая 12-цилиндровые секции двигателя могли работать независимо друг от друга. Алюминиевый картер состоял из верхней и нижней половин. Каждый блок из шести цилиндров был установлен на картере. Алюминиевая головка блока цилиндров была прикреплена к блоку цилиндров. В двигателе P.24 были сохранены диаметр и ход поршня двигателя P.12 (и P.16). Каждый цилиндр имел два впускных клапана и один выпускной клапан; все клапаны приводились в действие одним верхним распределительным валом, расположенным в задней части двигателя. Впускные клапаны диаметром 1,8125 дюйма (46 мм) приводились в действие Т-образным толкателем, а выпускной клапан диаметром 2,25 дюйма (57 мм) приводился в действие непосредственно распределительным валом. Интересно отметить, что в различных британских патентах (№ 463,501 и 465,540), поданных компанией FAC и Арчибальдом Форсайтом, указано по четыре клапана на цилиндр. Не найдено никакой информации об установке на двигатель P.24 головки с четырьмя клапанами.

С каждой стороны двигателя был размещен одноступенчатый двухскоростной нагнетатель с двумя карбюраторами, установленными на воздухозаборнике. Нагнетатели приводились в действие с задней стороны двигателя; за счет трех повышающих ступенчатых передач частота вращения вала нагнетателя в 8,3475 раза превышала частоту вращения коленчатого вала двигателя. Через короткий коллектор каждый нагнетатель подавал воздух в каналы, отлитые заодно с картером, блоком цилиндров и головкой блока цилиндров. Один канал подавал воздух в два цилиндра. В британском патенте 463,501 отмечалось, что наличие впускных каналов, отлитых как единое целое с картером, делали двигатель более чистым, более жестким и освободить вертикальное пространство между блоками цилиндров для масляного радиатора или пулемета. Однако, если говорить о пулемете, то конструкция картера не позволяла вести огонь через втулку воздушного винта. Скорее всего пулемету требовалась синхронизация для стрельбы через лопасти винта.

чертежи, взятые из британского патента №463501 иллюстрируют впускные каналы, отлитые как единое целое с картером. Нарисованная конфигурация была почти идентична той, которая использовалась в реальном двигателе. Поперечное сечение в правой части чертежа иллюстрирует многочисленные резкие повороты, которые делала топливовоздушная смесь на своем пути в цилиндры
чертежи, взятые из британского патента №463501 иллюстрируют впускные каналы, отлитые как единое целое с картером. Нарисованная конфигурация была почти идентична той, которая использовалась в реальном двигателе. Поперечное сечение в правой части чертежа иллюстрирует многочисленные резкие повороты, которые делала топливовоздушная смесь на своем пути в цилиндры

на другом чертеже из британского патента №463501 детально показаны впуск, клапаны и выпускная система. Хотя на чертеже изображено по два выпускных клапана на цилиндр, первоначально у P.24 был только один выпускной клапан. Обратите внимание, что каждый блок из шести цилиндров имеет только четыре выхлопных патрубка. В общей сложности двигатель P.24 имел 16 патрубков, поэтому его иногда ошибочно принимают за 16-цилиндровый Н-образный двигатель
на другом чертеже из британского патента №463501 детально показаны впуск, клапаны и выпускная система. Хотя на чертеже изображено по два выпускных клапана на цилиндр, первоначально у P.24 был только один выпускной клапан. Обратите внимание, что каждый блок из шести цилиндров имеет только четыре выхлопных патрубка. В общей сложности двигатель P.24 имел 16 патрубков, поэтому его иногда ошибочно принимают за 16-цилиндровый Н-образный двигатель

Топливно-воздушная смесь воспламенялась с помощью двух свечей зажигания – по одной с каждой стороны цилиндра. Свечи зажигания срабатывали с помощью четырех магнето, установленных на задней части двигателя. Два верхних магнето активировали свечи зажигания, расположенные на внутренней стороне цилиндров, а два нижних магнето активировали свечи зажигания, расположенные на внешней стороне цилиндров. Левая и правая стороны двигателя P.24 имели одинаковый порядок зажигания: 1U, 5L, 4U, 1L, 2U, 4L, 6U, 2L, 3U, 6L, 5U, и 3L. Первый и последний цилиндры имели собственные выхлопные патрубки, в то время отработанные газы четырех средних цилиндров выводились двумя общими выхлопными трубами. Благодаря такому техническому решению у двигателя P.24 было 16 выхлопных патрубков, из-за чего двигатель часто принимали за 16-цилиндровый.

В передней части двигателя каждый коленчатый вал был соединен с отдельным валом воздушного винта с передаточным отношением 0,5435. Два вала воздушных винтов составляли блок, приводивший в движение два соосных винта противоположного вращения. Коленчатые валы и вспомогательное оборудование каждой секции двигателя вращались в противоположных направлениях. Если смотреть сзади, то левый коленчатый вал вращался по часовой стрелке и приводил в действие передний пропеллер. Правый коленчатый вал вращался против часовой стрелки и приводил в действие задний винт. Соосные винты противоположного вращения двигателя P.24 были разработаны компанией FAC и были оснащены механизмом изменения шага. Каждый коленчатый вал имел шесть колен и поддерживался восемью основными подшипниками. Поршни соединялись с коленчатым валом вильчато-внутренними шатунами, при этом вильчатые шатуны соединялись с нижними цилиндрами, а внутренние шатуны – с верхними цилиндрами. Поскольку воздушные винты вращались в противоположных направлениях, то коленчатые валы и их вспомогательное оборудование не были взаимозаменяемыми.

Когда либо левая, либо правая сторона двигателя была отключена, другая сторона двигателя продолжала работать и вращала ее пропеллер. Это обеспечивало любому самолету, оснащенному двигателем P.24 надежность двух двигателей без недостатка асимметричной тяги в ситуации отказа двигателя. Такая конфигурация также позволяла выключать половину двигателя, чтобы увеличить дальность полета самолета или время пребывания самолета в зоне патрулирования. Хотя системы охлаждения и подачи масла в секции двигателя были разделены, во время испытаний двигателей использовались общие баки и радиаторы. Было отмечено, что в самолете можно установить полностью раздельные радиаторы и баки, чтобы сделать секции двигателя действительно независимыми друг от друга.

Двигатель Fairey P.24 Monarch имел диаметр цилиндра 5,25 дюйма (133 мм), ход поршня 6,0 дюйма (152 мм) и степень сжатия 6 к 1. Общий рабочий объем двигателя составлял 3117 куб. дюймов (51,1 л); первоначально он должен был развивать мощность 2000 л.с. (1491 кВт) при 2600 оборотах в минуту. Однако Арчибальд Форсайт считал, что мощность двигателя может быть увеличена до 2600 л.с. (1939 кВт) при 3000 оборотах в минуту. Двухскоростные нагнетатели обеспечивали границы высотности 6000 и 13000 футов (1829 и 3962 м). Расход топлива на взлете составлял 0,63 фунта на лошадиную силу в час (383 г/кВт×ч), на полной мощности – 0,55 фунта на лошадиную силу в час (335 г/кВт×ч) и в крейсерском режиме (60% полной мощности) – 0,45 фунта на лошадиную силу в час (274 г/кВт×ч). Двигатель Fairey P.24 Monarch имел длину 86,25 дюймов (2,19 м), ширину 43,0 дюйма (1,09 м) и высоту 52,5 дюйма (1,33 м). Масса двигателя P.24 составляла около 2330 фунтов (1057 кг), хотя во многих источниках указывается 2180 фунтов (989 кг). Возможно, расхождение в значениях массы является результатом изменений при установке различного вспомогательного оборудования.

установочный чертеж двигателя P.24 показывает этот 24-цилиндровый Н-образный двигатель в том виде, в котором он был изготовлен. В британском патенте №463501 упоминается возможность установки пушки между верхними блоками цилиндров, но в самом двигателе никогда не предусматривалось размещение подобного оборудования
установочный чертеж двигателя P.24 показывает этот 24-цилиндровый Н-образный двигатель в том виде, в котором он был изготовлен. В британском патенте №463501 упоминается возможность установки пушки между верхними блоками цилиндров, но в самом двигателе никогда не предусматривалось размещение подобного оборудования

Первый запуск двигателя P.24 состоялся в 1938 году. Испытательный стенд в компании FAC не был рассчитан на полную мощность двигателя P.24, и поэтому поочередно запускалась либо одна, либо другая секция двигателя. К 6 октября 1938 года двигатель успешно завершил двухчасовые испытания без каких-либо проблем. Были приняты меры по установке двигателя P.24 на легкий бомбардировщик Fairey Battle, и данный двигатель изучался в качестве возможной силовой установки истребителя Hawker Tornado. 13 мая 1939 года были начаты гражданские типовые испытания на продолжительность непрерывной работы двигателя P.24 в течение 50 часов, которые 14 мая были успешно завершены. Во время испытаний характеристики двигателя были следующими: нормальная мощность на высоте 10 500 футов (3200 м) при 2400 оборотах в минуту – 1200 л. с. (895 кВт), максимальная мощность на высоте 10 500 футов (3200 м) при 2750 оборотах в минуту – 1450 л. с. (1081 кВт). Вероятно, во время 50-часовых испытаний был использован односкоростной нагнетатель, обеспечивающий наддув всего 0,5 фунта на квадратный дюйм (0,04 бар; 3,4 кПа).

на данном виде сбоку легкого бомбардировщика Fairey Battle K9370 с установленным на него двигателем P.24 хорошо виден крупный подфюзеляжный радиатор. Легко понять, почему двигатель с его 16 выступающими выхлопными патрубками ошибочно принимают за 16-цилиндровый Н-образный двигатель. Обратите внимание, что пропеллеры не имеют обтекателя втулки, который был установлен позже
на данном виде сбоку легкого бомбардировщика Fairey Battle K9370 с установленным на него двигателем P.24 хорошо виден крупный подфюзеляжный радиатор. Легко понять, почему двигатель с его 16 выступающими выхлопными патрубками ошибочно принимают за 16-цилиндровый Н-образный двигатель. Обратите внимание, что пропеллеры не имеют обтекателя втулки, который был установлен позже

широко распространенный снимок легкого бомбардировщика Fairey Battle K9370 с установленным на него двигателем P.24. В то же самое время в Британии был сделан еще один снимок, на котором был показан вращающийся передний воздушный винт (левая сторона работающего двигателя). На отредактированном наборе этих снимков были удалены выхлопные патрубке, чтобы сохранить в тайне конфигурацию двигателя. Обратите внимание на обтекатель втулки винта
широко распространенный снимок легкого бомбардировщика Fairey Battle K9370 с установленным на него двигателем P.24. В то же самое время в Британии был сделан еще один снимок, на котором был показан вращающийся передний воздушный винт (левая сторона работающего двигателя). На отредактированном наборе этих снимков были удалены выхлопные патрубке, чтобы сохранить в тайне конфигурацию двигателя. Обратите внимание на обтекатель втулки винта

на данном снимке легкого бомбардировщика Fairey Battle K9370 с частично снятым капотом хорошо виден установленный на самолет двигатель P.24. Обратите внимание на нагнетатель, впускной коллектор и переднюю опору крепления двигателя
на данном снимке легкого бомбардировщика Fairey Battle K9370 с частично снятым капотом хорошо виден установленный на самолет двигатель P.24. Обратите внимание на нагнетатель, впускной коллектор и переднюю опору крепления двигателя

Легкий бомбардировщик Fairey Battle (K9370) с двигателем P.24 впервые поднялся в воздух 30 июня 1939 года; в кабине самолета сидел летчик-испытатель Кристофер С. Стэниленд (Christopher S. Staniland). Вскоре после этого тестовые двигатель P.24 достиг взлетной мощности 1540 л. с. (1148 кВт) при 2600 оборотах в минуту и наддуве 3 фунта на кв. дюйм (0,21 бар; 20,7 кПа). Параллельно продолжению испытаний двигателя P.24 в компании FAC решили применить данный двигатель в разрабатываемых самолетах. 19 октября 1939 года руководство компании FAC предложило использовать двигатель P.24 на самолетах, спроектированных в соответствии со спецификациями N8/39 и N9/39. Базовая конструкция одномоторного двухместного истребителя, разработанная главным конструктором компании бельгийцем Марселем Лобелем, была использована для удовлетворения требований обеих спецификаций с добавлением турели для N9/39. На чертежах Лобеля двигатель FAC был обозначен как «Queen», но визуально он был идентичен изготовленному авиамотору P.24. Кроме того, в конце 1939 года компания FAC окончательно отказалась от работ по 16-цилиндровым двигателям. В предложениях конца 1939 года взлетная мощность двигателя составляла 1320 л.с. (984 кВт) и 1170 л.с. (872 кВт) для полета на высоте 15000 футов (4572 м).

В 1940 году было сделано несколько запуском с достижением мощности 1750 л. с. (1305 кВт), но длительных периодов работы на таких высоких мощностях не было. Возникли проблемы с нагнетателями и основными подшипниками. Была достигнута максимальная мощность 2200 л. с. (1641 кВт), но не при одновременной работе обеих секций двигателя. Каждая отдельная секция двигателя развила мощность 1100 л.с. (820 кВт), что в сумме составило 2200 л. с. (1641 кВт). На самом деле, каждая секция двигателя выполнила два запуска при мощности 1100 л.с. (820 кВт), но они были короткими – по две минуты каждый.

В октябре 1940 года Министерство авиации дало понять, что заказы на производство двигателя P.24 размещаться не будут. Вместо этого основное внимание было уделено другим двигателям, которые были разработаны и изготовлены известными моторостроительными компаниями, располагавшими большими производственными мощностями. В апреле 1941 года командование авиации Королевского флота (Fleet Air Arm – FAA) проявило некоторую заинтересованность в P.24. Этот двигатель отличался надежностью двухмоторной силовой установки, а его соосные винты противоположного вращения исключали реакцию на крутящий момент, что делало P.24 идеальным для эксплуатации на авианосцах. Однако Министерство авиации вновь заявило, что никакого производства двигателя не будет. Однако это не помешало FAC продолжать продвигать двигатель P.24; в 1942 году компания предложила переоборудовать палубный истребитель Fairey Firefly и оснастить его двигателем P.24, который при 3000 оборотах в минуту должен был развивать мощность 2150 л.с. (1603 кВт). Министерство авиации не проявило интереса, и план не получил дальнейшего развития. 12 июля 1941 года оснащенный двигателем P.24 легкий бомбардировщик Fairey Battle был передан Королевскому авиационному НИИ (Royal Aircraft Establishment – RAE), Фарнборо. К этому времени двигатели P.24 отработали на стенде 20 часов в диапазоне мощностей 2000-2100 л.с. (1491-1566 кВт) и 5 часов при 2100-2300 л. с. (1566-1715 кВт).

В июне 1941 года Ричард Фэйри обсуждал двигатель P.24 с представителями ВВС армии США (United States Army Air Force – USAAF; AAF). В следующем месяце Арчибальд Форсайт посетил США, чтобы предоставить более подробную информацию о двигателе. Ричард Фэйри и Арчибальд Форсайт посчитали, что Министерство авиации совершило ошибку, поддержав исключительно Napier Sabre и не предоставив никакой поддержки P.24. они хотели, чтобы производство и дальнейшее совершенствование в Соединенных Штатах; производство в США известной моторостроительной компанией было бы проще, чем если бы компания FAC самостоятельно взялась за эту задачу. К этому времени к двигателю P.24 было применено название «Monarch». В августе 1941 года представители AAF заявили, что они не заинтересованы в разработке или производстве двигателя P.24 и что их заинтересовали соосные винты противоположного вращения. Однако в письме, датированном ноябрем 1941 года, Ричард Фэйри заявил, что на авиабазе Райт-Филд, Дейтон, штат Огайо, были подготовлены чертежи в трех проекциях истребителе Republic P-47 Thunderbolt и пикирующем бомбардировщике Curtiss A-25 Shrike (SB2C Helldiver) с установленными на них двигателями P.24 и что компания Ford Motor Company ведет переговоры о производстве двигателя.

Очевидное изменение интереса AAF к производству двигателей P.24 кажется странным, и, возможно, со стороны Ричарда Фэйри было больше оптимизма, чем в официальной позиции AAF. Ричард Фэйри хотел доставить двигатель P.24 в США, и заявление о заинтересованности AAF в британском двигателе было самым быстрым способом заручиться сотрудничеством Министерства авиации, которое в течение довольно долгого времени боролось с моторостроительным увлечением Ричарда Фейри. Независимо от уровня интереса AAF к двигателю, армейские ВВС, безусловно, были заинтересованы в соосных винтах противоположного вращения. 5 декабря 1941 года оснащенный двигателем P.24 легкий бомбардировщик Fairey Battle был на корабле отправлен в США. Еще один двигатель P.24 был доставлен в Фарнборо для дальнейших испытаний, а третий двигатель Monarch был подготовлен к отправке в Соединенные Штаты. После нападения Японии на Перл-Харбор второй двигатель P.24 так и не был отправлен в Америку.

Во многих источниках утверждается, что двигатель P.24 рассматривался в качестве замены Pratt & Whitney R-2800 в силовой установке истребителя P-47. Следует отметить, что заказ на 773 истребителя P-47B (602 были поставлены в варианте P-47C) был размещен в сентябре 1940 года; XP-47B совершил свой первый полет 6 мая 1941 года, а заказ на 805 истребителей P-47D был размещен в октябре 1941 года. Вся эта активность по программе P-47 имела место до того, как AAF соприкоснулись с двигателем P.24 и до вступления США во Вторую мировую войну. Прежде чем у AAF появилось достаточно времени для оценки двигателя P.24 а январе 1942 года были заказаны еще 1050 истребителей P-47D и 354 истребителей P-47G. Вероятно командование AAF было вполне довольно двигателем R-2800, поскольку полномасштабное производство истребителей P-47 уже началось, и было заказано 2982 самолета. В запросе Ричарда Фейри, датированном январем 1943 года, требовался новый комплект воздушных винтов для двигателя P.24, установленного на P-47. На тот момент оставались два месяца до вступления «Тандербортов» в бой, были изготовлены сотни самолетов и был заказаны тысячи машин. Представляется крайне маловероятным, что командование AAF всерьез рассматривало бы возможность какой-либо замены двигателя.

Когда на авиабазу Райт-Филд был доставлен Fairey Battle с двигателем P.24, самолет имел около 87 часов налета. Двигатель P.24 имел взлетную мощность 2100 л.с. (1566 кВт) и мощности на боевом режиме: 2100 л.с. (1566 кВт) на высоте 6000 футов (1829 м) и 1850 л.с. (1380 кВт) на высоте 13000 футов (3962 м); все показатели были при 3000 оборотах в минуту наддуве 9 фунтов на квадратный дюйм (.62 бар; 62,1 кПа) и с использованием 87-октанового топлива. Арчибальд Форсайт считал, что со 100-октановым топливом двигатель способен развивать мощность 2600 л.с. (1939 кВт). Эксперты AAF оценили соосные винты противоположного вращения и концепцию «двойного двигателя» новшествами, в то время как остальная часть авиамотора была ими оценена как традиционная. Эксперты AAF посчитали, что конструкция P.24 ограничивает дальнейшее совершенствование этого двигателя. Поскольку впускные коллекторы были отлиты в картере двигателя, для улучшения их пропускной способности потребовалось полностью изменить их конструкцию. Как бы то ни было, впускные коллекторы неуклюже подавали топливно-воздушную смесь в цилиндры через пять поворотов, некоторые из которых были довольно крутыми, с изгибом на 90 градусов. Цельнолитой коллектор также вызывал нагрев топливно-воздушной смеси по мере ее поступления в цилиндры. Другая проблема заключалась в том, что корпус редуктора был отлит как единое целое с картером. Если бы неисправность привела к повреждению корпуса редуктора, пришлось бы разбирать весь картер целиком. Со всеми встроенными компонентами две отливки картера были крупными и сложными. Также эксперты AAF отметили отсутствие взаимозаменяемости коленчатых валов и других компонентов. Эксперты AAF отметили, что среднее эффективное давление в тормозной системе, достигаемое двигателем P.24 при 3000 оборотах в минуту и наддуве 9 фунтов на квадратный дюйм (0,62 бар; 62,1 кПа), что соответствовало показателю двигателя Allison V-3420 при наддуве 3,75 фунтов на квадратный дюйм (0,26 бар; 25,9 кПа) и при том же количестве оборотов. Кроме того, относительно низкая граница высотности двигателя P.24 означала, что у двигателя Rolls-Royce Merlin 60-й серии было преимущество в 160 л. с. (119 кВт) на высоте 30000 футов (9144 м).

в Америке двигатель P.24 был подвергнут интенсивным испытаниям, но в AAF заинтересовались не самим двигателем, а его соосными винтами противоположного вращения. Легкий бомбардировщик Fairey Battle сохранил свой британский военный номер K9370, но опознавательные знаки Королевских ВВС были закрашены и вместо них были нанесены американские опознавательные знаки. Обратите внимание на звезду под крылом и полосы на руле направления. Некоторые утверждают, что Battle был разработан под установку двигателя P.24. Однако происхождение легкого бомбардировщика Fairey Battle можно проследить до 1933 года, а разработка двигателя P.24 была начата более чем два года спустя, в 1935 году. Ранний вариант проекта легкого бомбардировщика Fairey Battle был разработан под установку двигателя Fairey P.12 Prince
в Америке двигатель P.24 был подвергнут интенсивным испытаниям, но в AAF заинтересовались не самим двигателем, а его соосными винтами противоположного вращения. Легкий бомбардировщик Fairey Battle сохранил свой британский военный номер K9370, но опознавательные знаки Королевских ВВС были закрашены и вместо них были нанесены американские опознавательные знаки. Обратите внимание на звезду под крылом и полосы на руле направления. Некоторые утверждают, что Battle был разработан под установку двигателя P.24. Однако происхождение легкого бомбардировщика Fairey Battle можно проследить до 1933 года, а разработка двигателя P.24 была начата более чем два года спустя, в 1935 году. Ранний вариант проекта легкого бомбардировщика Fairey Battle был разработан под установку двигателя Fairey P.12 Prince

Разумеется, в конструкцию P.24 можно было внести усовершенствования, и Арчибальд Форсайт предложил выполнить доработку двигателя в Соединенных Штатах. Доработки включали в себя увеличение диаметра цилиндра двигателя P.24 до 5,5 дюймов (140 мм), что дало бы рабочий объем 3421 куб. дюймов (56,1 л) и мощность 3000 л. с. (2237 кВт),что увеличило бы общий рабочий объем и мощность до 3421 куб. дюймов (56,1 л) и 3000 л. с. (2237 кВт). Кроме того, можно было увеличить количество цилиндров в блоке до восьми, в результате чего общий рабочий объем увеличился бы до 4156 куб. дюймов (68,1 л). Диаметр цилиндра 32-цилиндрового двигателя на базе P.32 можно было бы увеличить до 5,5 дюймов (140 мм) с общим рабочим объемом 4562 куб. дюймов (74,8 л). Можно было бы разработать 24-цилиндровый двигатель с диаметром цилиндра и ходом поршня 6,0 дюймов (152 мм), который бы имел рабочий объем 4072 куб. дюймов (66,7 л) и развивал бы мощность 3400 л. с. (2535 кВт).

Дополнения к базовому P.24 включали разработку двухступенчатого нагнетателя, который позволил бы двигателю развивать мощность около 1800 л.с. (1342 кВт) на высоте 36000 футов (10973 м). Представители AAF указали, что ступени нагнетателя должны быть раздельными, причем одна ступень должна будет приводиться в движение от редуктора воздушного винта, расположенного в передней части двигателя. В мае 1942 года Арчибальд Форсайт подал заявку на патент США (№ 2470155), который решал некоторые из указанных AAF проблем редуктора двигателя и нагнетателя. В патенте описывался базовый двигатель P.24, но со съемным редуктором воздушного винта. Двигатель можно было устанавливать на различных самолетах, и различные редукторы могли быть установлены для обеспечения желаемых оборотов винта в зависимости от назначения самолета. Между двигателем и редуктором воздушного винта можно было установить удлиненный вал, который имел крепление для привода дополнительного нагнетателя, установленного на каждой стороне двигателя. Кроме того, на двигатель можно было установить различные нагнетатели с их собственными передаточными числами чтобы обеспечить разные уровни наддува в зависимости от задач самолета. В некоторых конфигурациях нагнетатели могли включаться по мере набора высоты самолетом. Кроме того, в американском патенте №2470155 было описано как двигатель P.24 мог быть использован для создания 48-цилиндрового Н-образного авиационного двигателя. 48-цилиндровый двигатель имел бы рабочий объем 6,234 куб. дюймов (102 л) и развивал мощность свыше 4400 л.с. (3281 кВт).

различные конфигурации двигателя P.24 были проиллюстрированы в патенте №2470155. Все различные конфигурации напоминают то, что компания Allison планировала для своих двигателей V-1710 и V-3420. Обратите внимание на конические зубчатые передачи для приводных валов
различные конфигурации двигателя P.24 были проиллюстрированы в патенте №2470155. Все различные конфигурации напоминают то, что компания Allison планировала для своих двигателей V-1710 и V-3420. Обратите внимание на конические зубчатые передачи для приводных валов

В июне 1942 года компания FAC и Арчибальд Форсайт подали заявку еще на один (№2395262) американский патент, в котором подробно описывалась другая конфигурация нагнетателя, но с турбонагнетателем, установленным в передней части двигателя. Эта конфигурация была кратко упомянута в патенте США №2470155. В американском патенте №2395262 турбонагнетатель был первой ступенью и приводился в действие выхлопными газами из верхнего блока цилиндров. Выхлопные газы из нижних цилиндров соединялись с выхлопными газами из турбонагнетателя. Сжатый воздух поступал из турбонагнетателя в приводной нагнетатель, расположенный в задней части двигателя. Воздух сжимался еще больше и направлялся в двигатель через коллекторы, как это было в P.24.

Арчибальд Форсайт предполагал добавить турбонагнетатели к двигателю P.24 в качестве еще одной ступени наддува. Данная концепция изложена в британском патенте №463984 (вверху, выдан в 1937 году) и патенте США №2395262 (внизу, выдан в 1946 году). Кроме того, предполагалось установить передний нагнетатель, приводимый в действие редуктором воздушного винта. Все эти устройства должны были обеспечить P.24 лучшие высотные характеристики, но ни одно из них так и не было разработано
Арчибальд Форсайт предполагал добавить турбонагнетатели к двигателю P.24 в качестве еще одной ступени наддува. Данная концепция изложена в британском патенте №463984 (вверху, выдан в 1937 году) и патенте США №2395262 (внизу, выдан в 1946 году). Кроме того, предполагалось установить передний нагнетатель, приводимый в действие редуктором воздушного винта. Все эти устройства должны были обеспечить P.24 лучшие высотные характеристики, но ни одно из них так и не было разработано

Арчибальд Форсайт рассматривал возможность комбинированного расположения турбонаддува и нагнетателя еще до первого запуска двигателя P.24. Эта концепция была изложена в британском патенте (№463984), поданном в 1935 году и выданном в 1937 году. В этом патенте турбонагнетатели должны были быть установлены по сторонам двигателя снаружи впускных коллекторов. Приводной нагнетатель должен был действовать самостоятельно для полетов на малых высотах, а турбонагнетатель должен был обеспечивать дополнительный наддув на больших высотах. На определенной высоте клапаны открывались, позволяя выхлопным газам двигателя поступать в турбонагнетатель, запуская последний в работу. В то же время клапаны впускных патрубков приводного нагнетателя закрывались. Турбонагнетатель становился первой ступенью наддува и подавал воздух в приводной нагнетатель, в котором добавлялось топливо, а смесь должна была дополнительно сжиматься перед подачей в цилиндры.

Арчибальд Форсайт также предложил разработать секцию реактивного двигателя для добавления ее к P.24. Британский патент №591048 описывал P.24, используемый в конфигурации мотокомпрессорного воздушно-реактивного двигателя. За поршневым двигателем находился нагнетатель, а за нагнетателем – большой компрессор, приводимый в движение двигателем. Топливо впрыскивалось и воспламенялось в компрессоре для создания тяги. Были доступны три варианты работы силовой установки:

  • двигатель мог приводить в действие только пропеллеры;
  • двигатель мог приводить в действие как пропеллеры, так и компрессор;
  • пропеллеры могли быть отключены, и двигатель приводил бы в действие только компрессор, который создавал бы тягу, необходимую для поддержания заданного эшелона полета.

Ряд муфт соединял и разъединял пропеллеры, поршневой двигатель и компрессор.

В британском патенте №591189 была описана концепция двигателя, очень похожая на вышеупомянутый мотокомпрессорный воздушно-реактивный двигатель, однако в нем использовались два компрессора. Каждая секция двигателя имела свою собственную компрессорную секцию, а нагнетатели поршневого двигателя также были расположены на сторонах двигателя. В дополнение к вариантам работы силовой установки, перечисленным в ранее упомянутом патенте, одна секция двигателя могла приводить в движение один пропеллер, в то время как другая секция двигателя могла приводить в действие один компрессор. Оба патента, в которых компрессоры использовались в качестве конструктивных узлов двигателя P.24, были поданы в 1944 году и выданы в 1947 году.

на заре реактивной эры Арчибальд Форсайт стремился внедрить новую технологию в конструкцию двигателя P.24. Верхний чертеж взят из британского патента №591048 и описывает один компрессор (H), установленный позади двигателя (A) и нагнетателя (F). Впускные патрубки (34) ведут от нагнетателя к двигателю. Нижний чертеж взят из британского патента №591189 и описывает компрессор (M), установленный за каждой секцией двигателя. Обе конфигурации позволяют двигателю приводить в действие винты, компрессор или и то, и другое. Кроме того, топливо можно было впрыскивать в камерах сгорания (I сверху и S снизу) для воспламенения и создания дополнительной тяги. Патенты были поданы в 1944 году и выданы в 1947 году
на заре реактивной эры Арчибальд Форсайт стремился внедрить новую технологию в конструкцию двигателя P.24. Верхний чертеж взят из британского патента №591048 и описывает один компрессор (H), установленный позади двигателя (A) и нагнетателя (F). Впускные патрубки (34) ведут от нагнетателя к двигателю. Нижний чертеж взят из британского патента №591189 и описывает компрессор (M), установленный за каждой секцией двигателя. Обе конфигурации позволяют двигателю приводить в действие винты, компрессор или и то, и другое. Кроме того, топливо можно было впрыскивать в камерах сгорания (I сверху и S снизу) для воспламенения и создания дополнительной тяги. Патенты были поданы в 1944 году и выданы в 1947 году

Арчибальд Форсайт даже задумывался об использовании компонентов P.24 для создания судового двигателя. В патенте США №2389663 описываются блоки цилиндров P.24, используемые в конфигурации 12-цилиндрового U-образного двигателя (U-12). Две секции U-12 должны были быть объединены для создания двигателя конфигурации U-24. Привод для соосных винтов противоположного вращения должен был находиться между двумя секциями U-12. В патенте отмечалось, что шестицилиндровые секции двигателя могли работать независимо друг от друга и что нагнетатели могли быть включены или отключены. На малых скоростях могла работать только одна шестицилиндровый блок без включения наддува, на максимальной скорости должна были работать все 24 цилиндра и четыре нагнетателя.

для использования в качестве судового двигателя Арчибальд Форсайт установил четыре шестицилиндровых блока двигателя P.24 на новый картер с целью создать 24-цилиндровый U-образный двигатель. На этом чертеже из американского патента №2389663 показан двигатель и то, как он будет приводить в действие соосные винты противоположного вращения. Коническая зубчатая передача обозначена номером 10
для использования в качестве судового двигателя Арчибальд Форсайт установил четыре шестицилиндровых блока двигателя P.24 на новый картер с целью создать 24-цилиндровый U-образный двигатель. На этом чертеже из американского патента №2389663 показан двигатель и то, как он будет приводить в действие соосные винты противоположного вращения. Коническая зубчатая передача обозначена номером 10

Все эти изобретательные идеи по созданию двигателей не дали результата. Как уже упоминалось, британцы сделали ставку на двигатель Napier Sabre, а не на P.24. В командовании AAF посчитали, что двигатель P.24 (в том виде, в котором он был изготовлен) при 3000 оборотах в минуту и использовании 100-октанового топлива сможет развить мощность всего 2460 л. с. (1834 кВт) и что ни одна часть двигателя не была настолько замечательной, чтобы оправдать производство в Соединенных Штатах. Это мнение не помешало представителям AAF провести интенсивные испытания легкого бомбардировщика Fairey Battle с установленным на него двигателем P.24. У Fairey Battle, отправленного обратно в Великобританию в 1943 году, наработка двигателя P.24 была увеличена на 250 часов. Всего с двигателем P.24 самолет налетал 340 часов.

Fairey P.24 Monarch был последней попыткой компании Fairey Aviation создать поршневой авиационный двигатель. Двигатель оказался надежным и обладал некоторыми необычными характеристиками, но в нем не было ничего революционного. И Великобритания, и Соединенные Штаты отказались от возможности производить этот двигатель
Fairey P.24 Monarch был последней попыткой компании Fairey Aviation создать поршневой авиационный двигатель. Двигатель оказался надежным и обладал некоторыми необычными характеристиками, но в нем не было ничего революционного. И Великобритания, и Соединенные Штаты отказались от возможности производить этот двигатель

В заключение хотелось бы сказать, что некоторые источники полагают что если бы компания FAC получила ресурсы, выделенные компании Napier для разработки двигателя Sabre, то P.24 стал бы феноменальным двигателем. P.24 был хорошим двигателем, но его характеристики, по-видимому, не были исключительно замечательными для эпохи, в которую он был создан. Несмотря на то, что P.24 работал надежно, двигатель с рабочим объемом 3117 куб. дюймов (51,1 л) на протяжении большей части своего срока службы развивал мощность менее 2000 л.с. (1491 кВт). Двигатель P.24 Monarch и его соосные винты противоположного вращения сохранились и в настоящее время экспонируются в Музее авиации Королевского флота в Йовилтоне. Скорее всего, двигатель и винты использовались на легком бомбардировщике Fairey Battle.

в настоящее время единственный сохранившийся двигатель P.24 Monarch и его воздушные винты хранятся в Музее авиации Королевского флота в Йовилтоне. Всего были изготовлены три двигателя P.24 (Снимок Rory57 получен через flickr.com)
в настоящее время единственный сохранившийся двигатель P.24 Monarch и его воздушные винты хранятся в Музее авиации Королевского флота в Йовилтоне. Всего были изготовлены три двигателя P.24 (Снимок Rory57 получен через flickr.com)

Официальная группа сайта Альтернативная История ВКонтакте

Телеграмм канал Альтернативная История

Читайте также:

Взгляд из Великобритании 1940 года на немецкие боевые самолеты. Часть 5 Авиационный двигатель Daimler-Benz DB 601A - Альтернативная История
Авиационные двигатели Fairey P.12 Prince. Великобритания - Альтернативная История

Источник: https://alternathistory.ru/aviaczionnye-dvigateli-fairey-p-24-monarch-velikobritaniya/

👉 Подписывайтесь на канал Альтернативная история ! Каждый день — много интересного из истории реальной и той которой не было! 😉