Найти в Дзене
Navygaming Channel

Палуба- раз, палуба-два... - главное найти и не перепутать!

Когда- то давно, как только начал знакомиться с историей военно-морского флота (по заметкам из "Морской Коллекции" журнала "Моделист-конструктор", преимущественно, )) с боевыми кораблями казалось все просто- есть броненосные и есть бронепалубные. У броненосных - обязательно должен быть броневой пояс, а у бронепалубных - может быть только броневая палуба. В принципе все так и есть, но есть некоторые особенности - и палуб может быть несколько, и называются они по разному, и бронируются не одинаково, особенно на разных флотах. Давайте сравним. Так для британских линкоров типа "Орион" горизонтальное бронирование корабля включало: 38-мм броню верхней палубы в районе цитадели; броню главной палубы в носовой и кормовой оконечностях (38 мм); 25,4-мм броню средней палубы. Нижняя палуба также бронировалась листами переменной толщины (от 25,4 мм - до 102-мм). Интересно, что броневые палубы располагались уступом, и их в каждой конкретной точке корпуса было две: в средней части броней защищалась в
Когда- то давно, как только начал знакомиться с историей военно-морского флота (по заметкам из "Морской Коллекции" журнала "Моделист-конструктор", преимущественно, )) с боевыми кораблями казалось все просто- есть броненосные и есть бронепалубные. У броненосных - обязательно должен быть броневой пояс, а у бронепалубных - может быть только броневая палуба. В принципе все так и есть, но есть некоторые особенности - и палуб может быть несколько, и называются они по разному, и бронируются не одинаково, особенно на разных флотах.

Давайте сравним. Так для британских линкоров типа "Орион" горизонтальное бронирование корабля включало: 38-мм броню верхней палубы в районе цитадели; броню главной палубы в носовой и кормовой оконечностях (38 мм); 25,4-мм броню средней палубы. Нижняя палуба также бронировалась листами переменной толщины (от 25,4 мм - до 102-мм). Интересно, что броневые палубы располагались уступом, и их в каждой конкретной точке корпуса было две: в средней части броней защищалась верхняя и средняя палубы; в оконечностях – главная и нижняя. Вроде все просто - четыре палубы снизу вверх.

Схема бронирования линкоров типа "Орион"
Схема бронирования линкоров типа "Орион"

А вот для немецких линкоров типа "Нассау" бронировалась верхняя (25+20 мм) и собственно броневая палубы (20 + 35-60 мм), которая располагалась на разных уровнях. Батарейная палуба не бронировалась.

Схема броневой защита линкоров типа "Нассау"
Схема броневой защита линкоров типа "Нассау"

На следующих немецких дредноутах типа "Гельголанд" горизонтальное бронирование включало две основные броневые палубы - главную (20+35 до 60 мм) и верхнюю (25+20 мм), кроме этого батарейная палуба имела легко бронирование (8 мм+от 16 до 25-35 мм). Кроме этого защиту имели некоторые участки платформ под броневой палубой. "Кайзеры" имели верхнюю и бронированную палубу, которые прикрывала броня переменной толщины, кроме того палуба полубака была частично забронирована (над казематом - 30 мм). Таким образом видно, что в немецком флоте того времени суще­ствовало традиционно принятые и несколько отличные от других фло­тов названия палуб, особенно тех, которые прикрывались броневыми листами. Попробуем разобраться с этим вопросом.

Схема бронирования дредноутов типа "Гельголанд"
Схема бронирования дредноутов типа "Гельголанд"

Начнем с того, что в немецком военном флоте (времен Первой мировой) броневая палуба (Panzerdeck) не имела строго определенной высоты. Если внутри цитадели она размещалась немного выше ватерлинии, то в оконечно­стях вне цитадели уже опускалась под ватерлинию и, хотя по абсо­лютной высоте здесь она становилась ниже, тем не менее, сохраняла свое название броневой. Например, для "Гельголанда" в пределах цитадели главная броневая палуба размещалась всего на 0,86 м выше ватерлинии.

Более низкие уровни называли верхней и нижней платформами. Над броневой палубой находились батарейная (Batteriedeck) и главная (Hauptdeck), которую сами немцы изредка называли еще и верхней (Oberdeck) - главной палубой всегда была верхняя непрерывная палуба по всей длине корабля, так как именно от нее брались все данные для проектных расчетов. Здесь следует отметить, что батарейная палуба сохраняла свое название, даже если на ней не было орудий - это, например, произош­ло, когда на последующих дредноутах противоминная артиллерия была перенесена на уровень выше.

Линейный корабль "Кайзер"
Линейный корабль "Кайзер"

Также традиционно в немецком флоте сохранялось понятие про­межуточной палубы (Zwischendeck) - продолже­ние уровня броневой палубы в нос и в корму от броневых траверзов (то есть - вне цитадели). Причем у первых типов немецких дредноутов эта палуба считалась продолжением "главной броневой" и также имела скосы к бортам. У того же "Гельголанда" в кормовой части она имела толщину 35-60-35 мм (в зависимости от участка), в носовой - 35 мм.

Отметим, что такие названия палуб сохранялись в конструкторских чертежах и спецификациях и на немецких лин­корах, спроектированных после Первой мировой войны - вплоть до «Бисмарка» и непостроенных типа линкоров «Н».

Поскольку zwischendeck иногда (дословный перевод) мож­но обозначить и как средняя палуба, то в литературе на русском языке иногда именно так и стали делать. При этом автоматически переносили это понятие на батарейную палубу - по аналогии с британским флотом, где броневая называется нижней (или главной), а над ней средняя и верхняя. Возникновение таких ошибок объясняют тем, что многие немецкие издания сначала переводились на английский, при этом английские перевод­чики не всегда трансформировали названия палуб в соответствии с принятыми в британском флоте. Затем, авторы, не зная этого и не считают нужным сверить правильность соответствия и на­званий палуб после перевода с английского на русский , еще больше распространяли ошибки. Свою долю путаницы внесли и сами нем­цы, так как военные моряки не всегда придерживались проектной терминологии.

Например, когда, после линкоров типа «Гельголанд», противоминная батарея была перенесена на уровень главной палубы, они стали называть (в отступление от конструкторских чертежей) эту палубу батареей, имея в виду только участок казематов (аналогично, например, шлюпочной палубе). Но с переходом на башенную среднюю артиллерию и с лик­видацией казематных батарей, моряки стали называть палубы также как и конструкторы.
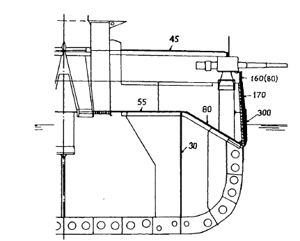
Поперечное сечение в районе мидель - шпангоута линкора типа «Кайзер»
Поперечное сечение в районе мидель - шпангоута линкора типа «Кайзер»

Палуба надстройки в немецком флоте называлась Aufbaudeck. Причем в зависимости от конструкции корабля это могла быть также и палуба полубака, так как в немецком флоте полубак считается над­стройкой над главной палубой. Но здесь не было строгой терминоло­гии, так как сами конструкторы иногда называли полубак как Oberdeck (в этом случае верхняя непрерывная палуба обязательно называлась Hauptdeck). Если над полубаком имелась еще одна палуба надстрой­ки ее называли верхней палубой надстройки (Obere Aufbaudeck). Выше палубы надстройки начинались ярусы мостиков (Brucke).

Сравнение бронирования линкоров «Фридрих дер Гроссе» (тип «Кайзер») и «Кинг Джордж V», сечение по мидель-шпангоуту
Сравнение бронирования линкоров «Фридрих дер Гроссе» (тип «Кайзер») и «Кинг Джордж V», сечение по мидель-шпангоуту

Как видим, у каждого флота были свои особенности и свои подходы в деле обеспечения защищенности своих линкоров. Тут главное не перепутать, )).

А что вы думаете по этому поводу? Узнать подробности строительства и устройства линкором типа "Кайзер" можно здесь и здесь.