Найти в Дзене
Cocked and Locked

Винтовка, спасшая производителя: Savage 110

В истории этой винтовки, увидевшей свет ровно 65 лет назад, хватало поворотов судьбы. Начнем с того, что, когда руководство Savage Arms решило включить в свой модельный ряд в 1956 году доступную, но надежную и качественную болтовую винтовку, обнаружилось, что единственный конструктор фирмы, которому задача была бы по плечу, Николас Брюер, уже уволился. И, хотя по состоянию здоровья он не мог вернуться на постоянную работу, Брюер сумел дома выполнить заказ бывшего работодателя и практически после этого умер, успев только подать документы на патентование - правообладателем патентов в итоге стала уже его вдова, Маргарет. Вышедшая в 1958 году винтовка получила название "модель 110" по простейшей причине: ее цена в магазинах не должна была по плану превышать 110 долларов. И, будь ее создатель жив, он имел бы все основания считать себя триумфатором: винтовка с тех пор выпускается непрерывно в количестве уже более нескольких миллионов, являясь в этом плане национальным рекордсменом (хотя леге

В истории этой винтовки, увидевшей свет ровно 65 лет назад, хватало поворотов судьбы. Начнем с того, что, когда руководство Savage Arms решило включить в свой модельный ряд в 1956 году доступную, но надежную и качественную болтовую винтовку, обнаружилось, что единственный конструктор фирмы, которому задача была бы по плечу, Николас Брюер, уже уволился. И, хотя по состоянию здоровья он не мог вернуться на постоянную работу, Брюер сумел дома выполнить заказ бывшего работодателя и практически после этого умер, успев только подать документы на патентование - правообладателем патентов в итоге стала уже его вдова, Маргарет.

-2

Вышедшая в 1958 году винтовка получила название "модель 110" по простейшей причине: ее цена в магазинах не должна была по плану превышать 110 долларов. И, будь ее создатель жив, он имел бы все основания считать себя триумфатором: винтовка с тех пор выпускается непрерывно в количестве уже более нескольких миллионов, являясь в этом плане национальным рекордсменом (хотя легендарный Winchester 70 начал выпускаться и раньше, но с перерывом в 2000-х, а Remington 700 появился только в 1962-м).

-3

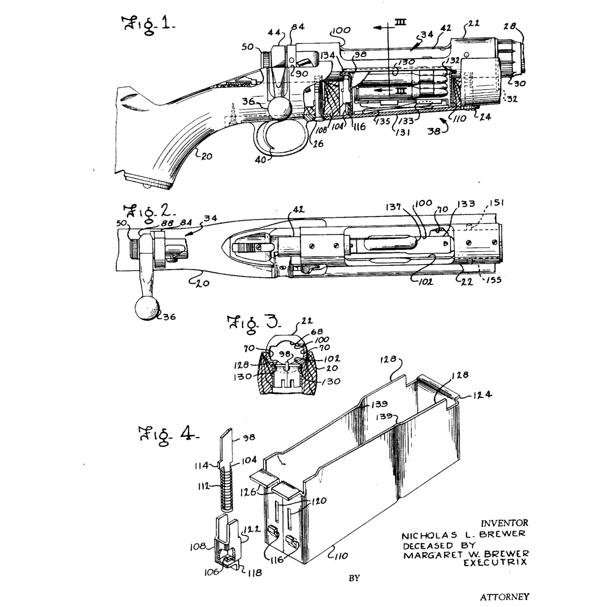
Поставленную перед ним задачу Брюер выполнил блестяще. Там, где можно было сэкономить - он экономил, используя штамповку и литье, но при этом ствольная коробка и ствол изготавливались из кованых заготовок, а нарезы изготавливались с высокой точностью дорнированием (кстати, этот станок на фабрике работал аж с 1898 года).

Центральная часть затвора изготавливалась из обычной трубки, с плавающей кованой личинкой спереди и съемной рукояткой сзади - но зато никаких нареканий на прочность запирания не было, а для выпуска "леворукой" модификации заводу пришлось только поменять расположение единственного выреза под рукоять на ложе плюс сделать "отзеркаленную" рукоятку и такой же зеркальный вырез окна в ствольной коробке. Это, между прочим, позволило фирме первой выпустить массово исполнения "для левши", благо что центральное расположение предохранителя было одинаково удобно всем.

-4

Магазин винтовки изначально был неотъемным, а она сама предлагалась только в двух вариантах - под .30-06 и .270 Winchester.

-5

В 1962 году на рынке появился "Ремингтон 700" - его не удалось сделать таким же дешевым, но разница в цене была не такой уж принципиальной. Зато он имел более приятный "из коробки" УСМ (а у ранних "110" он нуждался обычно в доработке) и предлагался в большем числе калибров. Пускай рядовые исполнения в среднем имели кучность хуже, чем у Savage, но конкуренция началась нешуточная. И еще больше ее обострил 1964 год, когда по воле "эффективных менеджеров" старый добрый Winchester 70 превратился в совершенно другую по факту винтовку, что стрелки по стране восприняли не лучшим образом.

В 1966 году выходит Savage Model 110C - первая в череде последующих исполнений, которые за прошедшее время устанешь считать. Здесь уже появился отъемный магазин, УСМ был прилично улучшен, список калибров начал расширяться. Всего же за это время базовая "110" во что только не превращалась - от "пистолета" 110PCS до высокоточных исполнений, выигрывавших соревнования высокого уровня.

Savage Model 12 F/TR - не что иное, как предельно вылизанная "110" по факту. С такой винтовкой, например, Джеймс Крофтс взял "золото" национального чемпионата 2012 года, стреляя на 1000 ярдов
Savage Model 12 F/TR - не что иное, как предельно вылизанная "110" по факту. С такой винтовкой, например, Джеймс Крофтс взял "золото" национального чемпионата 2012 года, стреляя на 1000 ярдов

Более того, даже болтовые ружья компании корнями уходят все в эту же модель.

Но, увы, именно в 1960-х у компании начались проблемы. Еще в 1963 году ее владельцем стала компания Black&Decker (тогда под маркой Savage выпускались даже газонокосилки), а с 1972 года фирма и вовсе начала переходить из рук в руки. Производство не модернизировалось, начались проблемы с качеством...

-7

(Нет, это не Ижмаш в девяностые!)
(Нет, это не Ижмаш в девяностые!)
Для сравнения - наши дни
Для сравнения - наши дни

Конкурентная гонка с "Ремингтоном" не просто была безнадежно проиграна - фирма имела все шансы превратиться в заштатного производителя дешевого шлака, и без того в конце 1980-х теряя по 25 миллионов долларов в год (более 63 миллионов нынешних). В 1988 году началась процедура банкротства.

Спас фирму ее тогдашний кризисный управляющий, Рон Коберн - человек сам по себе той еще судьбы, успевший и эмигрировать в США из Северной Ирландии с семью долларами в кармане, и поработать сварщиком на заводе Ford, и побыть помощником шкипера в Греции, и инженером в Лондоне, и поработать в Германии на "Сименс", а затем - в Сингапуре и Гонконге, и стать директором инженерного подразделения "Смит-Вессона"...

-10

Приняв руководство, он понял, что из 11 актуальных на тот момент линеек оружия фирма может позволить себе оставить только одну. Ответ на вопрос "какую?" был очевиден: сократив 75% штата (причем начав с "галстуков", а не рабочих), он сконцентрировал все усилия остатков фирмы на производстве Model 110. И выбор был правильным.

Первым я уволил тогдашнего президента. Я выбрал "Модель 110", потому что она была единственной, для производства которой у нас были пригодными все оборудование и оснастка. Вся остальная продукция была в плачевном состоянии из-за износа станков, оснастки и приспособлений. Еще одна вещь, которая мне нравилась в "Модели 110", заключалась в том, что у нее была репутация винтовки потрясающей точности. Я знал, что смогу перестроить бизнес сначала только за счет ценового преимущества на некоторое время, но что мне действительно нужно было сделать, так это подчеркнуть точность, чтобы выделиться и укрепить наши позиции на рынке. Я продал на аукционе все лишнее оборудование, кроме нужного для производства "Модели 110", за 350000 долларов, что позволило мне платить рабочим пять месяцев. Мы сдали лишние производственные площади железнодорожной компании, чтобы собрать немного больше денег.

Я решил, что в ближайшее время мы не собираемся возвращаться к производству дробовиков или множества других продуктов. Мы собирались сконцентрироваться на одном продукте, и, если это не сработает, что ж, придется попотеть. Никаких маркетинговых исследований, никаких рыночных тестов, мы просто взяли и побежали. У нас не было времени на все это.
Рон Коберн, интервью журналу American Rifleman

За полтора года благодаря производству только Model 110 фирма смогла полностью расплатиться с долгами и избавиться от угрозы банкротства. В 1995 году Коберн выкупил ее у владельцев за 33 миллиона и, по ухмылке судьбы, они сами после этого стали банкротами, вложив деньги в приснопамятные доткомы с ожидаемым результатом - а Savage осталась на плаву. Коберн оставил кресло только в 2013 году, в общей сложности пробыв сначала наемным управленцем, а затем и владельцем, ровно четверть века.

Ну а что Model 110? Она как выпускалась, так и выпускается по сей день, вместе со своими "потомками".

-11

Оружие
2735 интересуются