Добавить в корзинуПозвонить
Найти в Дзене
Эпонимы и Мы

СКОБА СМОЛЯКОВА

Сейчас я вас опять разочарую. В том смысле, что, как предупреждал в самом начале, стараюсь делать ставку на полную расшифровку каждого эпонима, чтобы было понятно не только о чём он, но и чьё имя за ним стоит, с портретом и фактами из биографии. А так получается, увы, далеко не всегда. И некоторые эпонимы превращаются в "висяки", то есть одна их часть понятна, а вот вторая остаётся загадкой, неразрешимой проблемой, нераскрытым преступлением, пардон - достижением, которое не знаешь, кому приписать. Так было, если вы помните, со СПИРАЛЬЮ БРУНО. Но там, по крайней мере, был хоть какой-то намёк на то, кто такой, этот Бруно. А вот в случае со СКОБОЙ СМОЛЯКОВА нет вообще никаких зацепок. То есть абсолютно. Сама скоба - вот она: Представляет собой Y-образную плотницкую скобу, сваренную из двух (или из полутора) обычных П-образных. Применяют её, как правило, при укладке пола, чтобы подгонять доски как можно ближе друг к другу, сильно прижимая клином. Возможно, она применяется ещё где-то. Ду

Сейчас я вас опять разочарую. В том смысле, что, как предупреждал в самом начале, стараюсь делать ставку на полную расшифровку каждого эпонима, чтобы было понятно не только о чём он, но и чьё имя за ним стоит, с портретом и фактами из биографии. А так получается, увы, далеко не всегда. И некоторые эпонимы превращаются в "висяки", то есть одна их часть понятна, а вот вторая остаётся загадкой, неразрешимой проблемой, нераскрытым преступлением, пардон - достижением, которое не знаешь, кому приписать.

Так было, если вы помните, со СПИРАЛЬЮ БРУНО. Но там, по крайней мере, был хоть какой-то намёк на то, кто такой, этот Бруно.

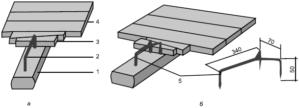
А вот в случае со СКОБОЙ СМОЛЯКОВА нет вообще никаких зацепок. То есть абсолютно.

Сама скоба - вот она:

СКОБА СМОЛЯКОВА. Фото с сайта https://azowo.ru/chasto-peregorayut-lampochki/betonnye-poly-v-podvalnyh-pomeshcheniyah-zalivka-sten-i-pola/
СКОБА СМОЛЯКОВА. Фото с сайта https://azowo.ru/chasto-peregorayut-lampochki/betonnye-poly-v-podvalnyh-pomeshcheniyah-zalivka-sten-i-pola/

Представляет собой Y-образную плотницкую скобу, сваренную из двух (или из полутора) обычных П-образных. Применяют её, как правило, при укладке пола, чтобы подгонять доски как можно ближе друг к другу, сильно прижимая клином.

Фото с сайта https://cyberpedia.su/26x177b7.html
Фото с сайта https://cyberpedia.su/26x177b7.html

Возможно, она применяется ещё где-то. Думаю, плотники могут об этом рассказать более подробно. Но, даю голого на отсечение: ни один среднестатистический строитель, даже с большим опытом работы, не даст ответа на очень простой вопрос - кем же был этот таинственный Смоляков, как его полное имя, когда и где жил, чем ещё прославился. И информации об этом - ноль, ни в книгах по плотницкому делу, ни даже в Интернете, "где всё есть".

Может быть, вы поможете?

Буду весьма признателен!