Найти в Дзене
Дед Ложкарь

Курительная трубка. Часть 1 – начало

Текст целиком и полностью написан исключительно автором данного блога. Все изделия, приведённые рисунки и фотографии выполнены автором. Пост не содержит никакой запрещенной, или ограниченного пользования, информации. Пост касается исключительно описания процесса работы с деревом и изготовления из него различных полезных предметов. Данный пост является изложением исключительно собственного мнения и опыта работы, не является услугами по просветительской деятельности и не подлежит лицензированию в соответствии с Федеральным законом «Об образовании». Читаем медленно и вдумчиво, не забываем дочитывать текст до конца! Будьте здоровы и хорошего всем настроения! Поступила мне заявка изготовить в качестве подарка на день рождения курительную трубку. Я не курильщик, сам трубками не пользовался, в руках не держал и видел их только издали. Отказаться от заказа я не мог, опыта изготовления такой продукции я не имею. Поэтому я предупредил, что со своей стороны я конечно приложу все возможные свои ус

Текст целиком и полностью написан исключительно автором данного блога.

Все изделия, приведённые рисунки и фотографии выполнены автором.

Пост не содержит никакой запрещенной, или ограниченного пользования, информации. Пост касается исключительно описания процесса работы с деревом и изготовления из него различных полезных предметов.

Данный пост является изложением исключительно собственного мнения и опыта работы, не является услугами по просветительской деятельности и не подлежит лицензированию в соответствии с Федеральным законом «Об образовании».

Читаем медленно и вдумчиво, не забываем дочитывать текст до конца!

Будьте здоровы и хорошего всем настроения!

Поступила мне заявка изготовить в качестве подарка на день рождения курительную трубку. Я не курильщик, сам трубками не пользовался, в руках не держал и видел их только издали. Отказаться от заказа я не мог, опыта изготовления такой продукции я не имею. Поэтому я предупредил, что со своей стороны я конечно приложу все возможные свои усилия, но качества конечной продукции я, к сожалению, гарантировать не смогу. Уж что получится, то получится.

Трудился я над изготовлением трубки больше двух месяцев. Естественно это было не каждый день и не по 8 часов в день. Но часть дней отпуска, а затем большое количество вечеров и выходных дней было потрачено. Сразу должен сказать, что в результате получилось не совсем то, что хотелось – конечным продуктом я не доволен. Но считаю возможным, и даже необходимым, поделиться своим опытом и ошибками. Считаю, что мой опыт может быть интересным, поэтому выставляю его на всеобщее обозрение. Итак, читайте!

Прежде чем приступать к выполнению задачи по изготовлению трубки, я естественно, постарался ознакомиться с доступной (даже вернее сказать «легкодоступной», так пользовался исключительно интернетом) информацией.

Что можно сказать по материалам.

В принципе трубки можно делать много из чего – из древесины или растительных остатков (бамбук, кукурузные початки), глины (керамика), камня и других материалов. В зависимости от используемого материала будет различаться вкус, так как будут различные условия горения (тления) табака и взаимодействия горячих продуктов с материалом трубки.

Меня интересует исключительно древесина. Поэтому дальше рассматриваю исключительно этот материал. Для этих целей, в принципе, можно использовать различные породы древесины. Правда применять древесину хвойных пород нежелательно как в силу её рыхлости, так и вследствие наличия смол. Лучше применять наиболее твёрдые породы. Наилучшей (то есть в настоящее время наиболее предпочтительной для изготовления) породой древесины является бриар – корневой нарост (кап) на древесине эрики древовидной, относящейся к семейству вересковых. Но также делают трубки и из древесины вишни, самшита, грецкого ореха, хурмы, яблони, груши, сливы.

Материалы для изготовления чубука и собственно мундштука не так критичны. Для мундштука главное, чтобы он не давал неприятного привкуса во рту. Поэтому часто для их изготовления используют полимерные материалы.

Я не претендую на изготовление дорогой курительной трубки, мне бы сначала отработать технологию изготовления, поэтому специально покупать бриар не имеет смысла. А декоративные свойства конечному изделию я придам посредством художественной резьбы. Это и определило мой выбор используемых пород древесины. Все части курительной трубки я планирую изготовить из различных пород древесины.

Что можно сказать по устройству.

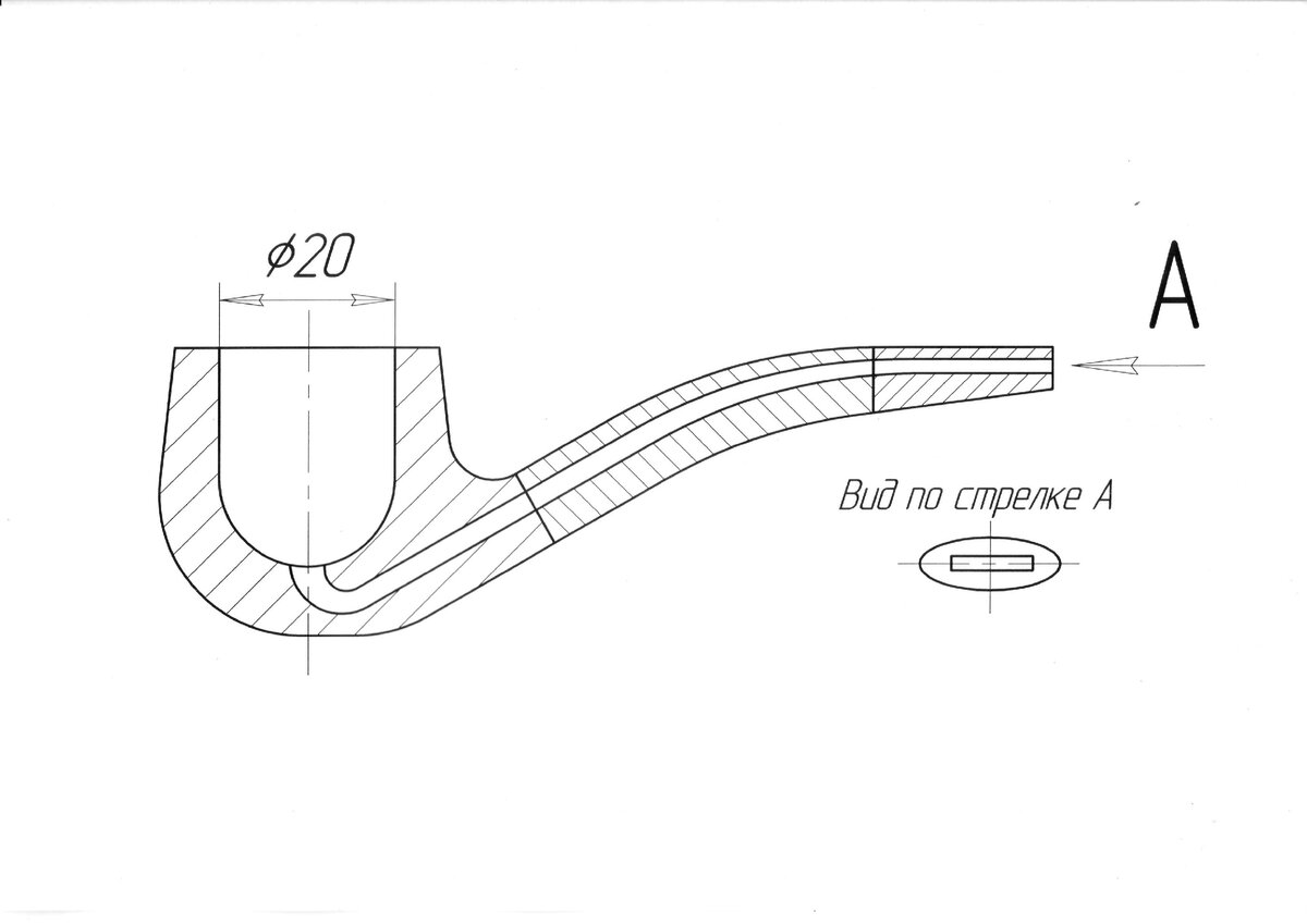
Не открою Америки, сказав что в принципе устройство трубки примерно всем понятно – трубка состоит из чаши (куда закладывают табак и собственно где происходит сам процесс горения/тления), мундштука (загубника, который непосредственно контактирует со ртом), ну и соединительной между ними части (чубук). Чашу вместе с чубуком называют стамель. Принципиальная схема трубки изображена ниже.

Основная часть – это, конечно, чаша. Именно её надо выполнять из наиболее твердых (вернее сказать термостойких) материалов. Внутренний объём камеры, в которую помещают табак, обычно примерно равен объёму сигареты, и имеет диаметр около 20 мм. Продукты тления табака (табачный дым – собственно целевой продукт курения) по дымовому каналу из камеры горения должен попасть в рот курильщика. Чтобы обеспечить лучшие условия горения и наибольшую полноту сгорания табака, канал должен выходить из камеры снизу, а сама камера должна иметь форму параболоида вращения. В крайнем случае, нижняя часть камеры должна, как минимум, иметь полусферическую или коническую форму.

Чубук может иметь различную форму и длину – быть как прямым, так и изогнутым, коротким или очень длинным. Желательно обеспечить максимальную гладкость дымового канала – это необходимо для чистки трубки после курения.

Мундштук для лучшего восприятия дыма должен иметь не круглый выход дымового канала, а плоский, обеспечивающий более широкую полосу дыма.

Вот собственно основная информация, которая была мне необходима для начала работы. Дальше лежал выбор непосредственно технологии изготовления.

Наиболее простым способом изготовления был вариант вырезать всю трубку из единого массива. Такой вариант практикуют некоторые. Для этого надо взять две ровные дощечки (ну или один брусок расколотый на две половинки), совместить вместе и вырезать внешний контур трубки, высверлить углубление камеры, затем стамесками выбрать дымовой канал и склеить всё вместе. Такая технология даёт возможность наиболее тщательно произвести обработку внутренних полостей чаши и дымового канала, облегчает изготовление плоского канала загубника, можно сделать чубук любой длины и формы дымового канала, но используется клей для конечной сборки. Но это не классическая технология изготовления курительных трубок. Поэтому такая технология была отвергнута.

Было решено отдельно изготовить чашу, отдельно чубук и отдельно мундштук. В идеале хотелось получить что-то типа набора типа «лего» – взаимозаменяемые различные составные части. Например, поменять одну чашу на другую, заменить (или даже вообще убрать) чубук. Ну а уж что получилось в результате – то получилось.

Приступаю к постепенной практической реализации.

Для начала попробую изготовить чашу. В качестве исходного материала для изготовления чаши мною была выбрана древесина вишни. По сравнению с другими доступными мне материалами (слива, яблоня), древесина вишни является более часто используемой для курительных трубок.

В магазинах для рукоделий можно приобрести бруски древесины вишни. Древесина хорошо высушена, ровная, не имеет сучков. Но есть несколько но. Во-первых, на самом деле, как правило, это не древесина вишни. Это древесина черешни. Вишня, по сравнению с черешней, является существенно более тугорослым деревом, соответственно годовые кольца черешни более широкие, а древесина – более рыхлая. А для изготовления трубок желательно использовать возможно более плотную древесину. Как правило, рекомендуют комлевую, или даже корневую часть. Вторым моментом является то, что соответственно годовые кольца не будут концентрически располагаться вдоль камеры , соответственно прогорать трубка будет неравномерно. В-третьих – отсутствует боковой вырост (сучок, корень), из которого будет выполнен стыковочный узел с чубуком. Поэтому было решено обойтись собственными запасами древесины вишни. К тому же это и экономия средств!

На садовых участках летом выбили несколько вишен. Я воспользовался случаем и сделал себе запас этой древесины. В частности заготовил и несколько отрезков вместе с сучками. Это конечно не комель и не корень, но уж что есть, то есть.

Так как опыта по части изготовления трубок у меня нет, то чтобы потом не мучиться, заготовку для чаши решил продублировать (а вдруг что-то пойдет не так, а точнее сказать – в брак).

Поэтому сделал заготовки, немного их подсушил.

-2

-3

Очищаю от коры, отпиливаю излишки.

-4
-5

-6
-7

Для высверливания углубления в чаше воспользуюсь перовым сверлом на 20 мм.

-8
-9

Для стыковки с чубуком сверлю углубление сверлом по дереву диаметром 10 мм.

Чтобы получить камеру с сужающейся нижней частью, необходимо либо переточить перовое сверло, сделав его узким в нижней части, либо углубление выбирать каким-то другим методом. Портить сверло мне совершенно не хотелось. Поэтому я решил доработать впоследствии камеру при помощи клюкарзы.

Но сначала надо просверлить дымоходный канал. Диаметр канала обычно составляет от 2,5 до 4 мм. Судя по полученной мной информации, наиболее предпочтительными являются диаметры 3,0…3,5 мм. Канал буду делать сверлением с двух сторон – со стороны углубления в чаше и со стороны чубука. А где-то там внизу они должны будут пересечься. Естественно плавного перехода у меня не получится, а будет состыковка (пересечение двух просверленных отверстий под острым углом).

Беру сверло по дереву диаметром 3 миллиметра и сначала засверливаю по центру углубления в чаше – формирую вертикальную часть канала.

-10

Следующий этап – канал наклонный. Его решил выполнить при помощи буравчика. Начинаю засверливать.

-11

Неудача – появилась трещинка на нижней стороне чаши.

-12

Ну, пока этот вариант выбрасывать не буду. На нём буду отрабатывать дальнейшие работы. Меняю бурав на сверло по дереву. Приходится воспользоваться сверлом в 4 мм, другое не достаёт. Просверливаю.

-13

Проверяю дутьём – соединение каналов есть.

Перехожу к второму варианту чаши. Засверливаю перовым сверлом углубление.

-14

3-х миллиметровым сверлом сверлю вертикальный канал. Точнее сказать, решил его сделать немного наклонным – угол небольшой, но канал отклонён навстречу к боковому.

-15

Вот получилось такое углубление.

-16

Перехожу на боковой канал. Сначала засверливаю сверлом на 10 мм углубление примерно в 2,0…2,5 см.

-17

Затем меняю сверло на четырёх миллиметровое и продолжаю сверление наклонного канала. Тут главное не увлекаться, чтобы не просверлить насквозь. На вроде бы получилось состыковать.

Пока у меня получились заготовки для чаши. Дальше продолжу другие работы.

Дочитали до конца поста? Не забываем ставить лайк и оставлять комментарии!