Добавить в корзинуПозвонить
Найти в Дзене
ДЕНЕЖНЫЙ МЕШОК

Необычный отопительный котел изобрели и запатентовали инженеры Алатырского механического завода

Оглавление

Для начала, приведу краткую справку по заводу АО "АМЗ", который юридически является правообладателем по новому патенту, о котором пойдет речь ниже.

АО «Алатырский механический завод» расположен в городе Алатырь (Чувашская Республика), был основан еще в 1893 году, как "Алатырские железнодорожные мастерские", и настоящее время специализируется на продукции для железнодорожного транспорта - начиная от производства уникальных вагонных замедлителей и деталей для пассажирских вагонов и заканчивая вагонными кипятильниками и отопительным оборудованием.
Завод АО "АМЗ" специализируется на продукции для железнодорожного транспорта. Иллюстрация - pixabay
Завод АО "АМЗ" специализируется на продукции для железнодорожного транспорта. Иллюстрация - pixabay

Новая разработка инженеров АО "АМЗ", запатентованная в качестве полезной модели, интересна тем, что позволяет задействовать до 3-х видов энергоносителя (жидкое топливо, твердое топливо и электричество) и при этом обеспечивает безопасное использование устройства на вагонном подвижном составе при ускорении 3g и скорости до 120 км/ч.

Полезная модель так и называется "КОМБИНИРОВАННЫЙ КОТЕЛ" (патент № 202053).
Авторы полезной модели - Фуртас Сергей Владимирович, Гришин Александр Евгеньевич и Тиссен Дмитрий Васильевич.
Правообладатель по патенту - Акционерное общество "Алатырский механический завод".

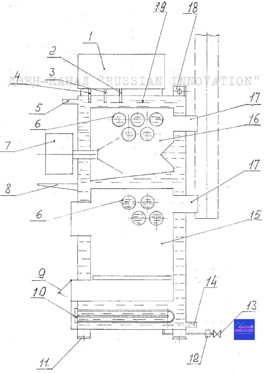
Вот как, согласно патентному описанию, выглядит запатентованный комбинированный котел схематически:

Схематическое изображение запатентованного отопительного котла (© АО "АМЗ", ПМ - 202053).
Схематическое изображение запатентованного отопительного котла (© АО "АМЗ", ПМ - 202053).

Итак, рассмотрим детально - в чем же заключается новизна и уникальность данного технического решения?

Прежде всего, стоит отметить, что камера сгорания жидкого топлива расположена в верхней части котла (см. поз. 16 на схеме выше). При этом, камера сгорания жидкого топлива отделена от расположенных в нижней части котла камеры сгорания твердого топлива (см. поз. 15 на схеме выше) и электрического ТЕНа (см. поз. 10 на схеме выше) при помощи специальной жидкостной рубашкой, наполненной этиленгликолем.
Одной из важных особенностей конструкции является также наличие дымоходов в каждой из имеющихся камер сгорания (см. поз. 17 на схеме выше).

По утверждению авторов полезной модели, предложенная конструкция котла позволяет ему выдерживать давление до 4 бар.

Ниже приведем таблицу технических характеристик данного котла:

Технические характеристики (© АО "АМЗ", ПМ - 202053)
Технические характеристики (© АО "АМЗ", ПМ - 202053)

В настоящее время уже был успешно собран и протестирован опытный образец данного котла. Вот как он выглядит:

Опытный образец запатентованного отопительного котла (© АО "АМЗ", ПМ - 202053).
Опытный образец запатентованного отопительного котла (© АО "АМЗ", ПМ - 202053).
Для изготовления опытного образца была использована сталь 3,8 мм толщиной для внутренних топок.Но возможно также изготовление из сталей 09Г2С.

По-моему, это тот случай, когда российские инженеры сделали очень качественный и полезный продукт. Уверен, что в ближайшее время мы сможем оценить его по достоинству на практике - в поездах дальнего следования Российской железной дороги.

А как вы считаете?

Ознакомиться подробнее с техническими характеристиками полезной модели № 202053 вы можете здесь.

Спасибо за лайк и подписку на канал!