Найти в Дзене
Андрей Ратников

Типичные ошибки при устройстве прохода труб через стены и фундаменты загородных домов

В предыдущей статье я немного рассказал о наиболее распространённых материалах и методах герметизации узлов прохода труб через стены и фундаменты загородных домов. А сейчас речь пойдет о том, как не надо выполнять эти работы, и какие ошибки наиболее характерны при таких работах. Вот так не стоит делать даже и в сухих грунтах: Труба имеет жесткую заделку в стену и может быть повреждена при усадке дома или сезонном пучении грунтов. В грунтах водонасыщенных необходимо устройство водонепроницаемого узла ввода, просто напихать в дырку кирпичей и заклякать раствором - явно недостаточно. Кстати, у некоторых каналов в Дзене появилась возможность комментировать новые публикации. Вы можете задать вопрос или оставить свой комментарий в конце статьи. Здесь уже чуть лучше, ровненько затёрли раствор: И старательно замазали битумной мастикой: Но в водонасыщенных грунтах этого недостаточно, протечки со временем будут неизбежны. Следующий пример - халтурный способ подготовки трубы к бетонирован

В предыдущей статье я немного рассказал о наиболее распространённых материалах и методах герметизации узлов прохода труб через стены и фундаменты загородных домов.

А сейчас речь пойдет о том, как не надо выполнять эти работы, и какие ошибки наиболее характерны при таких работах.

Вот так не стоит делать даже и в сухих грунтах:

Труба имеет жесткую заделку в стену и может быть повреждена при усадке дома или сезонном пучении грунтов.

В грунтах водонасыщенных необходимо устройство водонепроницаемого узла ввода, просто напихать в дырку кирпичей и заклякать раствором - явно недостаточно.

Кстати, у некоторых каналов в Дзене появилась возможность комментировать новые публикации. Вы можете задать вопрос или оставить свой комментарий в конце статьи.

Здесь уже чуть лучше, ровненько затёрли раствор:

-2

И старательно замазали битумной мастикой:

-3

Но в водонасыщенных грунтах этого недостаточно, протечки со временем будут неизбежны.

Следующий пример - халтурный способ подготовки трубы к бетонированию с гидроизоляционным жгутом:

Жгут необходимо соединить торец в торец, срезав торцы под углом 45 градусов
Жгут необходимо соединить торец в торец, срезав торцы под углом 45 градусов

Если сделать так, как на фото, трубу может перекосить из-за неравномерных нагрузок при разбухании жгута.

О правильном монтаже гидроизолирующих бентонитовых шнуров при изготовлении бетонных конструкций читайте здесь.

В следующем примере жгут расположен очень близко к краю стены (нужно не менее 50-80 мм от края), а прямоугольное отверстие для прохода трубы через стену замазано обычным, а не расширяющимся (безусадочным) раствором:


 В результате жгут выперло из зазора между трубой и бетоном, а вверху отверстия образовалась щель при усадке раствора.
В результате жгут выперло из зазора между трубой и бетоном, а вверху отверстия образовалась щель при усадке раствора.

Схема узла прохода канализационной трубы через стену подвала:

В качестве эластичного уплотнителя использована монтажная пена, не являющаяся гидроизоляцией.
В качестве эластичного уплотнителя использована монтажная пена, не являющаяся гидроизоляцией.

Так нельзя делать, сколь бы не уверяли вас строители, что используют особую, влагостойкую пену. Кроме того, гильза использована без фланца и посажена в отверстие стены на обычный цементный раствор, дающий усадку при твердении.

Здесь уже откровенная, ничем не прикрытая халтура:

-7

Для таких целей применяют бутилкаучуковый герметик, а не монтажную пену. Подробно про герметизацию стыков колец при изготовлении из них септиков я рассказывал в отдельной статье. Здесь же еще раз подчеркну - монтажная пена не является гидроизоляцией и не может использоваться при контакте с грунтом.

Проход труб через фундаментную плиту по грунту:

-8

Если эта плита будет находиться ниже уровня земли, на трубы необходимо установить кольца из гидроизолирующего бентонитового жгута или гидроизолирующий воротник из нитрилкаучука, а не только намазать вокруг трубы битумной мастикой по рубероиду.

Подробно о правильном применении бентонитовых жгутов и гидроизолирующих воротников для устройства прохода труб через фундаменты можно прочитать по ссылке.

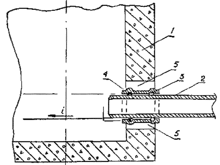
Проход канализационного трубопровода сквозь стенки колодца и другие строительные конструкции при помощи штатной муфты из ПВХ:

1 - железобетонная стенка колодца; 2 - труба из ПВХ; 3 - муфта из ПВХ; 4 - резиновое кольцо; 5 - заделка цементным раствором
1 - железобетонная стенка колодца; 2 - труба из ПВХ; 3 - муфта из ПВХ; 4 - резиновое кольцо; 5 - заделка цементным раствором

Заделка муфты обычным цементным раствором не даст водонепроницаемого узла прохода.

Муфта с уплотнительными резиновыми кольцами в таком варианте монтажа имеет смысл только для быстрой замены трубы без повреждения стенки колодца. Вместо обычного строительного раствора здесь следует использовать безусадочные гидрофобные составы на основе цемента.

Аналогично и со штатными резиновыми манжетами:

-10

Если трубу установить в отверстие, пробитое кувалдой, или перфоратором, и замазать обычным цементным раствором, водонепроницаемого узла прохода не получится.

Использование муфт из ПВХ или резиновых манжет даёт хороший результат при их заливке в монолитные бетонные конструкции, но не таким способом, как показано на схеме и фото выше.

Кстати, видите в конце статьи справа ма-аленькую такую плашечку с
протянутой рукой и сердечком над ней? Ну, где поддержать написано. Это
вы теперь можете не только автору спасибо сказать, если статья
понравилась, но и копеечку ему заслать в качестве материального
воплощения спасибы ))

А кто не видит, может нажать сюда, если таки желание есть.