Добавить в корзинуПозвонить
Найти в Дзене

Смонтировали сваи под пирс для ледового картинга. Крутили сваи прямо со льда

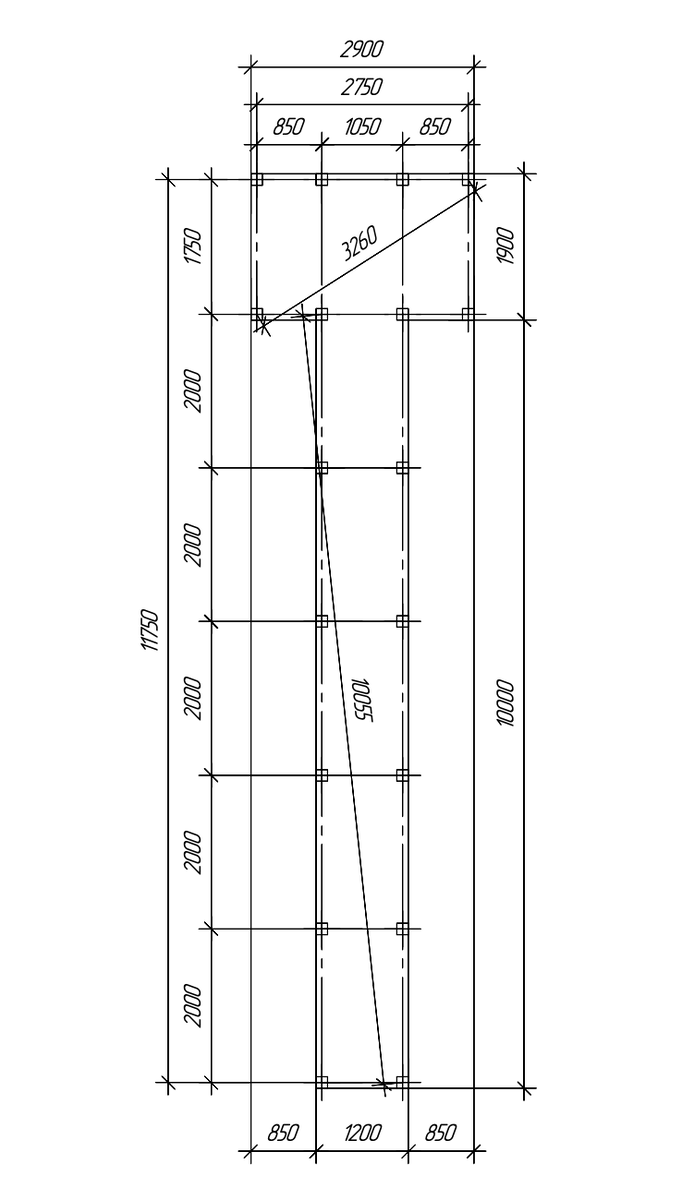
Заказчик поставил специалистам задачу смонтировать свайное основание для понтона на водоеме в Рузском районе Московской области, где проходят гонки на картах по льду. Главным вызовом для бригады КЗС стала погода. Рассказываем! Существует несколько способов закрутить сваи в дно водоема: с берега (только на очень небольшое расстояние с учетом вылета стрелы сваекрута и рельефа), с плавучих понтонов и зимой со льда. Заказчик выбрал последний вариант. В монтаже со льда есть свои нюансы. Он проще, чем монтаж с плавучего понтона, но, конечно, сложнее, чем обычный монтаж на земле. Но в целом для опытных специалистов это понятная задача. Разметили свайное поле и в местах установки свай во льду пробурили отверстия. План свайного поля для понтона длиной 11,75 м представлен ниже. Всего потребовалось 18 свай диаметром 108 мм с толщиной стенки 4 мм. С помощью переносной электрической машинки закрутили сваи в дно до проектной глубины. Глубина водоема в месте монтажа составляла от 1,4 до 2 метров. Еще
Оглавление

Заказчик поставил специалистам задачу смонтировать свайное основание для понтона на водоеме в Рузском районе Московской области, где проходят гонки на картах по льду. Главным вызовом для бригады КЗС стала погода. Рассказываем!

Существует несколько способов закрутить сваи в дно водоема: с берега (только на очень небольшое расстояние с учетом вылета стрелы сваекрута и рельефа), с плавучих понтонов и зимой со льда. Заказчик выбрал последний вариант.

В монтаже со льда есть свои нюансы. Он проще, чем монтаж с плавучего понтона, но, конечно, сложнее, чем обычный монтаж на земле. Но в целом для опытных специалистов это понятная задача.

Процесс монтажа

Подготовка

Разметили свайное поле и в местах установки свай во льду пробурили отверстия.

План свайного поля для понтона длиной 11,75 м представлен ниже. Всего потребовалось 18 свай диаметром 108 мм с толщиной стенки 4 мм.

-2

Погружение

С помощью переносной электрической машинки закрутили сваи в дно до проектной глубины.

Глубина водоема в месте монтажа составляла от 1,4 до 2 метров. Еще более чем на 3 м надо было заглубить сваи в дно. А также оставить «цоколь» пирса над уровнем воды. Поэтому суммарно нужно было использовать сваи длиной 6—8,5 м.

Даже с учетом глубины водоема, закрутить такую сваю целиком с помощью машинки было бы невозможно. А использование самоходного сваекрута было недоступно из-за ограничений по массе. Поэтому использовали сваи длиной 4,5 м с удлинителями на 1 и 1,5 м, и наращивали длину каждой сваи несколько раз.

Обвязка

Смонтированные сваи обрезали в единый уровень, заполнили цементно-песчаной смесью, а затем смонтировали на сваи оголовки. Поверх оголовков приварили металлическую обвязку из профильной трубы сечением 80 × 80 и 60 × 40 мм и толщиной 3 мм. Труба связала сваи в единую жесткую конструкцию и сформировала каркас для настила.

Ниже — фото готового каркаса для пирса.

-3
-4

Сложности

Толщина льда на старте работ составляла 30—35 см, что позволяло безопасно находиться на льду группе людей с оборудованием. Но работы велись во второй половине марта, и на четвертый день, когда мы заканчивали обвязку, лед начал хорошенько таять.

При такой погоде еще одного рабочего дня в запасе у нас не было. Пришлось поднажать, чтобы завершить работу, но наши ребята справились.

Неважно, нужен ли свайный фундамент под частный дом или под пирс, настил, забор, на горе, на воде, в лесу — специалисты КЗС умеют работать даже в самых сложных условиях. Свяжитесь с менеджером, чтобы обсудить задачу. Сайт завода — kzs.ru.