Добавить в корзинуПозвонить
Найти в Дзене

ЗДК-175: советский квадроцикл-вездеход, который умел пахать и косить

1992 год. Пока весь мир гонял на ярких японских квадриках по песку, в Коврове собрали машину, которая умела пахать землю, косить траву, тащить тонну дров и ехать там, где застревал даже УАЗ.
За 1800 рублей.
И никто этого не заметил. Конструкторы завода имени Дегтярёва пошли по пути разумной унификации. За основу взяли проверенный одноцилиндровый двухтактный двигатель от «Восхода-3М-01». Но его серьёзно доработали: дефорсировали, пожертвовав максимальными оборотами ради тяги на «низах». Гонять на таком было бесполезно, зато он тащил плуг или прицеп как вол. Для тяжёлой работы на малых скоростях мотор получил систему принудительного воздушного охлаждения с отдельным вентилятором — решение, непривычное для мотоциклов того времени. Сердцем и душой ЗДК был не мотор, а его невероятный задний мост. Это настоящий инженерный шедевр, превращавший квадроцикл в мини-трактор. Почему этот мост до сих пор заставляет ахнуть: Суровая правда эксплуатации
Цифры скромные: мощность около 10 л.с., максималь
Оглавление
ЗДК-175 4ШП советский квадроцикл
ЗДК-175 4ШП советский квадроцикл

Советский квадроцикл ЗДК-175: как трактор на четырех колесах провалился в 90-е

1992 год. Пока весь мир гонял на ярких японских квадриках по песку, в Коврове собрали машину, которая умела пахать землю, косить траву, тащить тонну дров и ехать там, где застревал даже УАЗ.
За 1800 рублей.
И никто этого не заметил.

От «Восхода» — к вездеходу-универсалу

Конструкторы завода имени Дегтярёва пошли по пути разумной унификации. За основу взяли проверенный одноцилиндровый двухтактный двигатель от «Восхода-3М-01». Но его серьёзно доработали: дефорсировали, пожертвовав максимальными оборотами ради тяги на «низах». Гонять на таком было бесполезно, зато он тащил плуг или прицеп как вол. Для тяжёлой работы на малых скоростях мотор получил систему принудительного воздушного охлаждения с отдельным вентилятором — решение, непривычное для мотоциклов того времени.

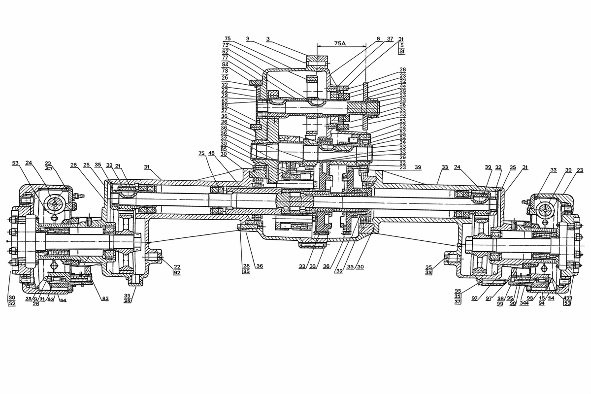
Главный секрет: задний мост-трансформер

Сердцем и душой ЗДК был не мотор, а его невероятный задний мост. Это настоящий инженерный шедевр, превращавший квадроцикл в мини-трактор.

задний мост ЗДК-175 4ШП
задний мост ЗДК-175 4ШП

Почему этот мост до сих пор заставляет ахнуть:

  • Демультипликатор — дополнительная коробка с понижающей и повышающей ступенью. Для пахоты — «понижайка», для дороги — «повышалка».
  • Полноценный реверс — задний ход для маневров с прицепом.
  • Блокируемый дифференциал — включаешь блокировку, и оба задних колеса крутятся синхронно, чтобы вылезти из самой вязкой грязи.
  • Вал отбора мощности (ВОМ) — та самая «фишка» тракторов! К нему подключали активное навесное оборудование: косилку, снегоуборщик, помпу.
  • Колёсные редукторы — финальное увеличение крутящего момента и дорожного просвета.
ЗДК-175 4ШП мотовездеход
ЗДК-175 4ШП мотовездеход

Суровая правда эксплуатации
Цифры скромные:
мощность около 10 л.с., максимальная скорость до 50 км/ч налегке, а в рабочем режиме — около 40 км/ч.

Никакого чистого бензина! Как и любой советский двухтактник, ЗДК требовал «коктейль» из бензина и масла в пропорции 25:1. Расход в смешанном режиме был 4,5–6 литров на 100 км. Слабым местом считалась сложная механическая тормозная система, которую энтузиасты часто меняли на гидравлику.

Неразлучный спутник: прицеп «Енот»

Рассказ о ЗДК будет неполным без его верного компаньона — легкового прицепа «Енот». Его история началась на Павловском автобусном заводе (ПАЗ) в 1989 году. Этот тандем стал спасением для дачников, садоводов и охотников лихих 90‑х.

ЗДК-175 4ШП с прицепом Енот
ЗДК-175 4ШП с прицепом Енот

Почему его забыли? Горький финал

Увы, гениальная машина опоздала. В серию ЗДК‑175‑4ШП пошёл уже в 1992 году, когда страна и её экономика были в глубоком кризисе. Всего выпустили около 500 экземпляров. Уникальный вездеход-трудяга не вписался в новые рыночные реалии и тихо сошёл со сцены.

Заключение: легенда, которая всё-таки победила

ЗДК‑175‑4ШП не стал массовым, но он доказал правильность концепции универсального компактного вездехода для работы и отдыха. Он делал то, за что сегодня просят миллионы, ещё в 1992‑м. Просто его время тогда ещё не пришло.

так могла выглядеть статья о ЗДК-175 4ШП в газете 1992 г
так могла выглядеть статья о ЗДК-175 4ШП в газете 1992 г

Поделитесь статьёй с отцом, дедом или товарищем из деревни — пусть тоже узнают, какая техника у нас когда-то была.

Еще больше обзоров, видео и фото в моем телеграмм-канале t.me/kvadrobloger

А вы что думаете?
Встречали ли вы этот уникальный квадроцикл вживую? Мог ли он, по-вашему, стать народным хитом, если бы история повернулась иначе? Поделитесь своим мнением в комментариях!