Найти в Дзене
ДЕНЕЖНЫЙ МЕШОК

Автомобиль повышенной безопасности запатентовал изобретатель из села Лозовое в Крыму

Не просто концепт, а детально проработанная инженерная система, в которой каждая часть — от лобового стекла до подвески — подчинена одной цели: сжаться, чтобы выстоять. Анатомия идеи: не сложить, а собрать В чём суть? Мы привыкли, что прочность — это монолит. Броня. Непробиваемый каркас. Кузьменко мыслит иначе. Его прочность — в предусмотренной, контролируемой гибкости. Его автомобиль в момент опасности не сопротивляется силе слепо, а… уступает ей, направляя её в русло безопасной трансформации. Представьте:
– Лобовое стекло, шарнирно опускающееся в салон.
– Рулевая колонка, складывающаяся вниз.
– Боковины кузова, заваливающиеся внутрь.
– Передняя и задняя части, соединённые шарниром, сходящиеся друг к другу.
– И главное — целая система червячных валов, электродвигателей, муфт и рычагов, которые это движение синхронизируют и управляют им. Вот как это выглядит схематически, согласно патентной документации: Это не хаотичное смятие. Это балет, где каждый элемент знает своё место в траектор

Идеи приходят по-разному. Озарение, как вспышка. Кропотливое, терпеливое созревание. А иногда — как ответ на вызов, брошенный самой жизнью. Простой житель села Лозовое в Крыму, Василий Дмитриевич Кузьменко, инженер и изобретатель, однажды задал себе вопрос, который, возможно, нечасто приходит в голову жителям мегаполисов с их подземными паркингами и охраняемыми дворами. А ВОТ КАК защитить автомобиль — ценный, необходимый, уязвимый — от того, что сильнее любой преграды? От удара? От деформации? От самой катастрофы? И он нашел ответ. Неожиданный, элегантный, как будто подсказанный самой природой, где все гибкое, адаптивное, складное переживает бури. Ответ — патент № 2820165. «Автомобиль складывающийся».

Не просто концепт, а детально проработанная инженерная система, в которой каждая часть — от лобового стекла до подвески — подчинена одной цели: сжаться, чтобы выстоять.

Анатомия идеи: не сложить, а собрать

В чём суть? Мы привыкли, что прочность — это монолит. Броня. Непробиваемый каркас. Кузьменко мыслит иначе. Его прочность — в предусмотренной, контролируемой гибкости. Его автомобиль в момент опасности не сопротивляется силе слепо, а… уступает ей, направляя её в русло безопасной трансформации.

Представьте:
– Лобовое стекло, шарнирно опускающееся в салон.
– Рулевая колонка, складывающаяся вниз.
– Боковины кузова, заваливающиеся внутрь.
– Передняя и задняя части, соединённые шарниром, сходящиеся друг к другу.
– И главное — целая система червячных валов, электродвигателей, муфт и рычагов, которые это движение синхронизируют и управляют им.

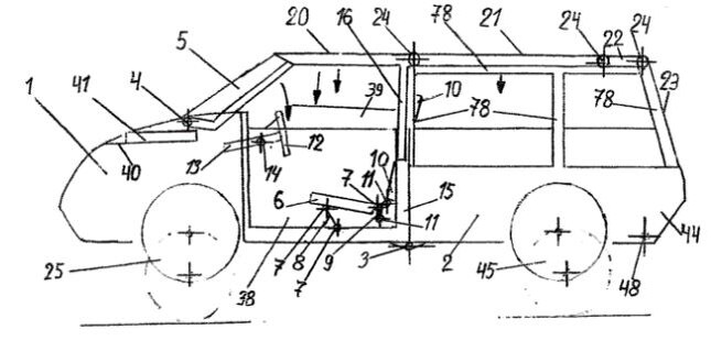
Вот как это выглядит схематически, согласно патентной документации:

© Василий Дмитриевич Кузьменко, ИЗ - 2820165 (из материалов патента)
© Василий Дмитриевич Кузьменко, ИЗ - 2820165 (из материалов патента)

Это не хаотичное смятие. Это балет, где каждый элемент знает своё место в траектории сжатия. Преднамеренная деформация — вот ключ. Энергия удара расходуется не на разрушение жёсткой конструкции, а на выполнение запрограммированного действия — складывания. Каркас при этом, судя по описанию, сохраняет целостность. Он становится компактнее, плотнее, превращаясь в защитную капсулу для пассажиров.

– А если удар сбоку? Боковины сложатся, приняв удар на себя.
– А если лобовой? Передняя часть начнёт «заворачиваться».
– А если сзади? Сработает задняя часть с её поперечным ребром жёсткости.

Универсальный алгоритм выживания. Идея, достойная восхищения своей смелостью и… простотой. Почему же до этого не додумались гиганты автопрома?

Контекст и вызов: почему именно сейчас?

Автомобильная промышленность — консервативна. Её эволюция — это путь постепенных улучшений: подушки безопасности, зоны программируемой деформации, системы экстренного торможения. Все это — пассивная реакция. Изобретение Кузьменко — это попытка активной трансформации. Это шаг в сторону заимствования у природы принципов выживания.

Но давайте посмотрим шире. Проблема, которую решает крымский изобретатель, — лишь верхушка айсберга. Мегаполисы задыхаются от машин. Парковочные места — дефицит, сравнимый с золотыми слитками. А если бы автомобиль после остановки мог… сложиться, уменьшив свою занимаемую площадь на треть, а то и наполовину? Патент намекает и на эту возможность. Регулируемые складывающиеся опоры, возможность сжатия кузова — это не только для удара. Это и для города будущего, где каждый сантиметр пространства на счету.

Экономический потенциал? Колоссальный.

  1. Безопасность. Снижение тяжести последствий ДТП — это спасённые жизни и миллиарды, сэкономленные на лечении, ремонте, страховых выплатах.
  2. Логистика. Парковки, перевозка автомобилей, их хранение — всё станет эффективнее.
  3. Новые рынки. Узкие улочки исторических городов, перенаселённые агломерации Азии, места, где пространство — роскошь.

Однако между патентом и конвейером — пропасть. Из каких материалов должны быть шарниры, выдерживающие удар? Какова стоимость такой системы? Насколько она надёжна в повседневной эксплуатации? Вопросов — море. Но первый и самый важный шаг — идея — уже сделан.

Диалог с будущим: что думает сам изобретатель?

Мы не брали интервью у Василия Дмитриевича. Но патентная документация говорит сама за себя. Это голос инженера-практика. Человека, который мыслит не абстрактными схемами, а валами, муфтами, шестернями. В его описании нет места высокопарным фразам о «революции». Есть чёткость: «шарнирно установлены», «имеют возможность перемещаться», «посредством червячных валов».

-3

Это типичный почерк российского изобретателя-одиночки. Не из кремниевой долины, не из студии дизайна. Из гаража, из мастерской, где руками проверяется каждая гипотеза. Его мотивация — не мгновенная прибыль, а решение задачи. Конкретной, осязаемой. Как защитить то, что важно?

– Значит, можно? – возможно, спрашивал он себя, делая очередной набросок.
– А если вот так… соединить вал с муфтой… и дать ей двигаться…
– Получится! Должно получиться.

И получилось. На бумаге. В формуле изобретения. А что дальше?

Перспективы: между утопией и реальностью

Шансы на реализацию? Скептик скажет: призрачны. Слишком сложно, дорого, непроверенно. Оптимист возразит: все великие идеи начинали с патента, который все считали бредовым.

Реальность, как всегда, где-то посередине. Полномасштабное производство «складывающегося автомобиля» в ближайшее десятилетие действительно маловероятно. Но отдельные технологические решения — шарнирные узлы повышенной прочности, системы синхронизированной трансформации кузова — могут быть востребованы.

  1. Нишевое применение. Спецтехника, автомобили для работы в экстремальных условиях, где риск деформации высок.
  2. Сотрудничество. Покупка патента или лицензии крупным игроком для исследований и адаптации.
  3. Грантовая поддержка. Такой проект мог бы претендовать на финансирование в рамках программ технологического прорыва, особенно с учётом акцента на импортозамещение и суверенитет в критических отраслях.

Но главная ценность истории Василия Кузьменко — даже не в конкретном устройстве. Она — в сигнале. Сигнале о том, что инновационный потенциал России — не в столичных офисах, а часто — в регионах, в сёлах, в головах упрямых энтузиастов, которые мыслят вне рамок. Им не хватает часто ресурсов, связей, маркетинга. Но им не занимать смелости мысли.

Заключение: философия складного будущего

Изобретение из Лозового — это больше, чем техническая новинка. Это философский взгляд на мир, который становится всё более хрупким и перенаселённым. Как выжить в нём? Кузьменко предлагает: будь не жёстким и непреклонным, а гибким, адаптивным, умным. Умей вовремя сложиться, чтобы сохранить главное — сердцевину, ядро, жизнь.

Этот принцип работает и в экономике. Кризисы, удары рынка, геополитические бури… Жёсткие системы ломаются. Гибкие — адаптируются и выживают. Может, именно поэтому эта история находит такой отклик? Она — метафора нашего времени.

Патенту № 2820165 предстоит долгий путь. Испытания, расчёты, поиск инвесторов. Но сам факт его существования — уже победа. Победа человеческой изобретательности над инерцией мышления. Победа веры в то, что один человек в своём гараже может придумать то, до чего не додумались целые институты.

Остаётся лишь задать один, самый важный вопрос: УСЛЫШАТ ЛИ ЕГО? Услышат ли там, где решают судьбы технологий и инвестиций? Или уникальная, многообещающая идея так и останется строчками в реестре Роспатента — памятником смелости, которой не нашлось применения?

Время покажет. А пока — снимаю шляпу перед изобретателем из крымского села, который посмел перепридумать самую, казалось бы, незыблемую вещь — автомобиль. Чтобы сделать его не просто средством передвижения, а средством спасения.

Если вы заинтересовались данной разработкой - ознакомиться подробнее со всеми техническими характеристиками изобретения вы можете здесь.

Спасибо за лайки и подписку на канал!

А угостить автора чашечкой кофе можно через донат. Кнопка доната справа под статьей, в шапке канала или по ссылке.