Добавить в корзинуПозвонить
Найти в Дзене

"АНАЛОГОВ НЕТ!" – часть 3/3

⬆️Завершаю серию постов на популярную тему среди инженеров разбором реального кейса, когда "уникальная технология" уже давно запатентована. Первую и вторую части – читайте по ссылкам. Подобных примеров, на самом деле много, этот просто мой любимый – проект с громким заявлением об отсутствии аналогов. Формулировка темы выглядела следующим образом: «Разработка инновационной технологии и сканирующей аппаратуры для оценки технического состояния обсадных колонн и приустьевой части в незаглушенных скважинах с многоколонной конструкцией…» 🔘Ключевой аргумент уникальности заключался в следующем: Отсутствуют аналогичные технические решения, сочетающие возможность однократного прохода оборудования при сканировании скважин с количеством колонн до пяти и диаметром труб до 610 мм. Тут не нужно обладать знаниями в области, чтобы понять, в чём здесь подвох. Если хорошо поискать (тогда ещё не было нейросетевых инструментов), то найти прямой аналог можно. Но, для чистоты экперимента будем считать,

"АНАЛОГОВ НЕТ!" – часть 3/3

⬆️Завершаю серию постов на популярную тему среди инженеров разбором реального кейса, когда "уникальная технология" уже давно запатентована. Первую и вторую части – читайте по ссылкам.

Подобных примеров, на самом деле много, этот просто мой любимый – проект с громким заявлением об отсутствии аналогов.

Формулировка темы выглядела следующим образом:

«Разработка инновационной технологии и сканирующей аппаратуры для оценки технического состояния обсадных колонн и приустьевой части в незаглушенных скважинах с многоколонной конструкцией…»

🔘Ключевой аргумент уникальности заключался в следующем:

Отсутствуют аналогичные технические решения, сочетающие возможность однократного прохода оборудования при сканировании скважин с количеством колонн до пяти и диаметром труб до 610 мм.

Тут не нужно обладать знаниями в области, чтобы понять, в чём здесь подвох. Если хорошо поискать (тогда ещё не было нейросетевых инструментов), то найти прямой аналог можно. Но, для чистоты экперимента будем считать, что нельзя – и глянем, что же покажут патенты. Конечно, если просто вбить в поиск про сканирование "… до 5 колонн", то ничего не найдется (на момент поиска – а это было ещё за несколько лет до ковида). Тут большинство людей радуются и радостно клеят лейбл "аналогов нет".

Однако более глубокий патентный анализ показал, что:

➡️Технология уже была разработана – и не одним, а сразу несколькими мировыми лидерами отрасли.

➡️Существующие решения тщательно охраняются – суммарно зарегистрировано более 40 патентов от компаний Halliburton, Baker Hughes, Schlumberger (сейчас это SLB).

Что же мы видим в патентах:

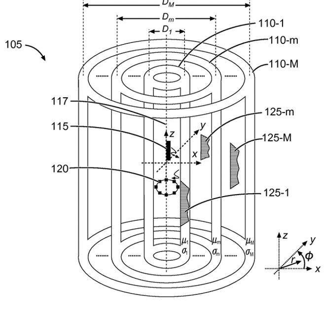
"Система, содержащая: по меньшей мере, передатчик и приемник, подвижные, чтобы занимать диапазон глубин в пределах внутреннего диаметра, по меньшей мере, двух концентрических труб, расположенных в геологической формации…"

➡️По меньшей мере двух. Это и 3, и 4, и 5...

Или вот ещё, этот пример меня особенно радует:

"Способ может включать размещение инструмента электромагнитного каротажа в стволе скважины, при этом инструмент электромагнитного каротажа может содержать передатчик и приемник; выполнение первого измерения с помощью электромагнитного каротажного инструмента в первой номинальной секции ствола скважины, где первая номинальная секция может содержать М труб, где М может быть числом труб, расположенных в первой номинальной секции; выполнение второго измерения с помощью инструмента электромагнитного каротажа во второй номинальной секции ствола скважины, где вторая номинальная секция может содержать N труб, где N может быть количеством труб во второй номинальной секции, где N может отличаться от М…"

➡️N и M, ну мы поняли.

Кроме того, даже коммерческие названия продуктов дают однозначные намёки. Например, Halliburton Pipe Xaminer® V, где латинская «V» прозрачно указывает на количество колонн, на которое рассчитан инструмент. У Baker Hughes и Schlumberger таких звучных названий нет, но нужные технические характеристики в патентах есть.

Итак, если всё или почти всё уже придумано – значит права вторая группа инженеров, которые говорят, что не сделано ничего нового? На мой взгляд нет, но это уже другая история.

А пока основные выводы этой серии постов под хэштэгом #аналогов_нет:

1️⃣Заявления об "отсутствии аналогов" необходимо рассматривать с большой осторожностью.

2️⃣Чаще всего они обусловлены или злонамеренным умыслом, или отсутствием глубокого патентного анализа.

3️⃣Это не означает, что всё уже изобретено. Напротив, инновации возможны и нужны.

4️⃣Но для их верификации требуется профессиональная оценка – иначе велика вероятность повторения давно существующих решений.

-2