Добавить в корзинуПозвонить
Найти в Дзене
Petr Vokhmintsev

Нереализованные космические проекты. Часть 1

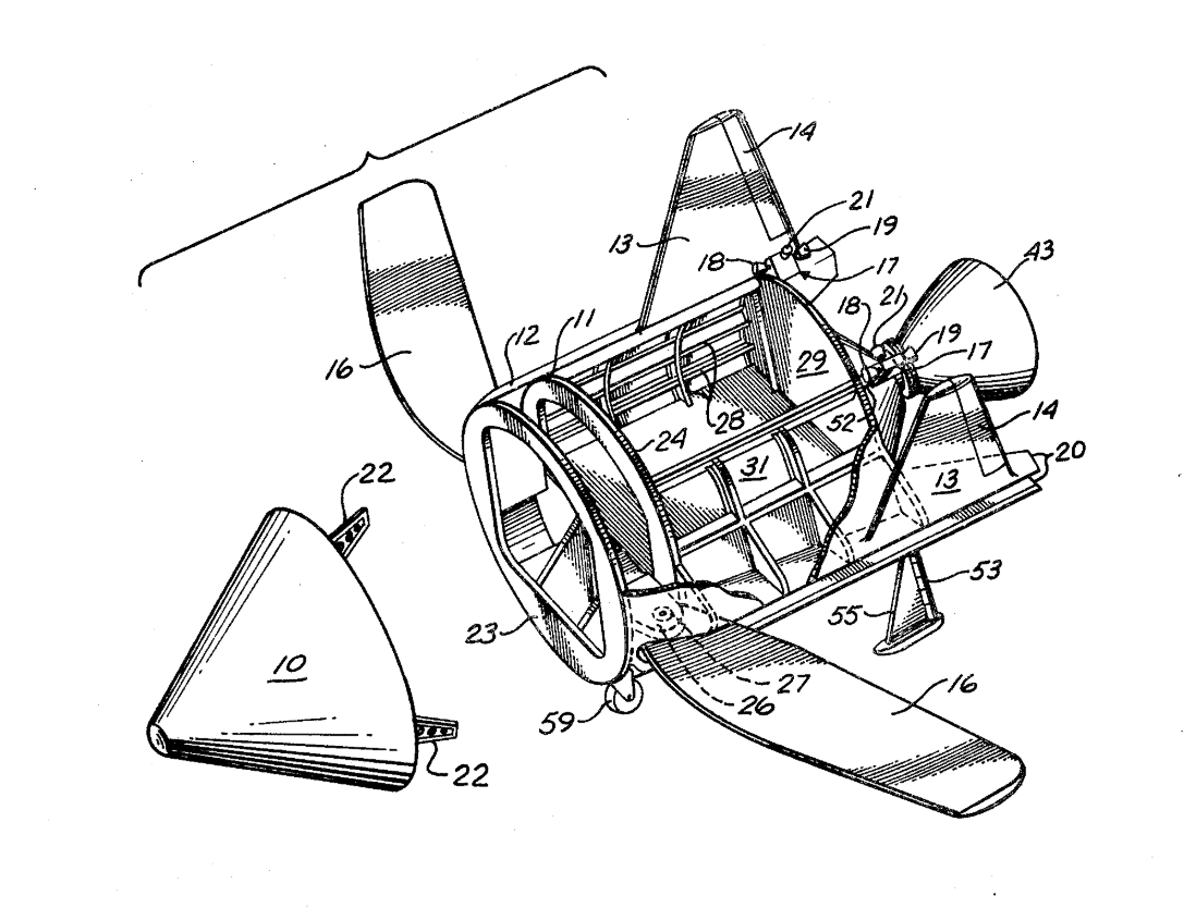
Раз затронули тему сверхтяжёлых ракет на твёрдом топливе, то давайте посмотрим на нереализованные проекты 1960-х - 70-х годов. Энтузиазма тогда было много, идей разной степени завиральности тоже. Вы, например знаете, что в США есть патент полученный компанией Rockwell на крылатый космический челнок в формфакторе... внезапно Аполлона с сервисным модулем: "Аэрокосмический аппарат, содержащий конический передний отсек для экипажа или командный модуль, соединенный с цилиндрическим задним служебным модулем. Аэродинамические стабилизаторы расположены вдоль средней линии по бокам цилиндрической части и на значительном расстоянии позади нее для обеспечения подъемной силы на гиперзвуковых скоростях, а для аэродинамической устойчивости и управляемости на стабилизаторах предусмотрены вертикальные ребра жесткости. Крылья устанавливаются внутри аэродинамических обтекателей на высоких скоростях и выдвигаются из них с возможностью поворота на более низких скоростях и высотах для обеспечения низкоскор

Раз затронули тему сверхтяжёлых ракет на твёрдом топливе, то давайте посмотрим на нереализованные проекты 1960-х - 70-х годов. Энтузиазма тогда было много, идей разной степени завиральности тоже.

Вы, например знаете, что в США есть патент полученный компанией Rockwell на крылатый космический челнок в формфакторе...

Скриншот патента
Скриншот патента

внезапно Аполлона с сервисным модулем:

Скриншот патента
Скриншот патента

"Аэрокосмический аппарат, содержащий конический передний отсек для экипажа или командный модуль, соединенный с цилиндрическим задним служебным модулем. Аэродинамические стабилизаторы расположены вдоль средней линии по бокам цилиндрической части и на значительном расстоянии позади нее для обеспечения подъемной силы на гиперзвуковых скоростях, а для аэродинамической устойчивости и управляемости на стабилизаторах предусмотрены вертикальные ребра жесткости. Крылья устанавливаются внутри аэродинамических обтекателей на высоких скоростях и выдвигаются из них с возможностью поворота на более низких скоростях и высотах для обеспечения низкоскоростной подъемной силы."

Скриншот патента
Скриншот патента

Рисунок 3 я привёл выше, повторять не буду.

Скриншот патента
Скриншот патента

передняя стойка шасси с колесом, задняя как у агрегата X-15 в виде короткой лыжи.

Скриншот патента
Скриншот патента

Рисунки 5, 6 и 7 по непонятной причине на листе расположены снизу вверх

Скриншот патента
Скриншот патента
Скриншот патента
Скриншот патента

Для запуска явно планировался Сатурн-5.

С пятницей!

Наука
7 млн интересуются