Найти в Дзене
ДЕНЕЖНЫЙ МЕШОК

Житель Владивостока придумал, как повысить эффективность работы ДВС и получил патент на изобретение

На минувших выходных занимался своей машинкой. Заменил свечи зажигания, а также масло в двигателе внутреннего сгорания. После проведенных работ заметил существенное улучшение тяги двигателя. Машинку будто подменили. Такое ощущение, словно лошадок под капотом стало вдвое больше. В этой связи, решил погуглить тему повышения эффективности работы двигателя и наткнулся на очень интересный и при этом довольно свежий патент на изобретение нашего соотечественника, жителя Владивостока, ветерана труда и заслуженного изобретателя Приморского края, Печкина Ильи Петровича. Изобретение так и называется "Способ повышения эффективности работы поршневого двигателя внутреннего сгорания" (патент на ИЗ № 2788062 от 16 января 2023 года). Вот как, согласно патентной документации, выглядит схематически предложенное изобретателем решение: На вышеприведенном рисунке изображена предложенная изобретателем кинематическая схема устройства для реализации способа повышения эффективности работы поршневого двигателя в
Оглавление
© ДЗЕН-КАНАЛ "МАСТЕР НОВАТОР" (фото автора)
© ДЗЕН-КАНАЛ "МАСТЕР НОВАТОР" (фото автора)

На минувших выходных занимался своей машинкой. Заменил свечи зажигания, а также масло в двигателе внутреннего сгорания. После проведенных работ заметил существенное улучшение тяги двигателя. Машинку будто подменили. Такое ощущение, словно лошадок под капотом стало вдвое больше.

В этой связи, решил погуглить тему повышения эффективности работы двигателя и наткнулся на очень интересный и при этом довольно свежий патент на изобретение нашего соотечественника, жителя Владивостока, ветерана труда и заслуженного изобретателя Приморского края, Печкина Ильи Петровича.

Изобретение так и называется "Способ повышения эффективности работы поршневого двигателя внутреннего сгорания" (патент на ИЗ № 2788062 от 16 января 2023 года).

Вот как, согласно патентной документации, выглядит схематически предложенное изобретателем решение:

© Илья Петрович Печкин, ИЗ - 2788062.
© Илья Петрович Печкин, ИЗ - 2788062.

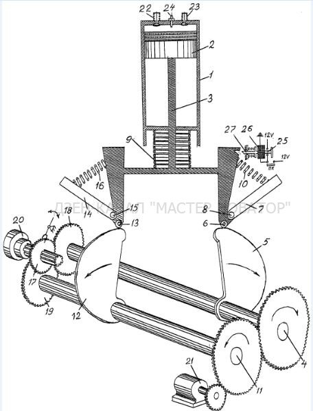
На вышеприведенном рисунке изображена предложенная изобретателем кинематическая схема устройства для реализации способа повышения эффективности работы поршневого двигателя внутреннего сгорания.

А так, согласно патента, выглядит кинематическая схема устройства для реализации способа во время преобразования прямолинейного движения Т-образного штока поршня во вращательные движения профилированных кулачков:

© Илья Петрович Печкин, ИЗ - 2788062.
© Илья Петрович Печкин, ИЗ - 2788062.

По утверждению автора изобретения, его новая разработка позволит повысить агрегатную мощность при меньших размерах двигателя. При этом, мощность можно будет неограниченно увеличивать, удовлетворяя растущие потребности использования двигателей "для решения многочисленных научных и технических проблем".

Как известно, суть любого изобретения заключена в его формуле. Для желающих вникнуть в тонкие технические нюансы разработки, - привожу данную формулу в полном объеме:

© Илья Петрович Печкин, ИЗ - 2788062.
© Илья Петрович Печкин, ИЗ - 2788062.

На мой взгляд, предложения ильи Петровича выглядят очень даже толково. Надеюсь, что этот патент не пройдет мимо отечественных автопроизводителей.

Знаю, что среди подписчиков и читателей моего канала есть не мало специалистов в сфере автомобилестроения. Очень надеюсь услышать ваши комментарии.

Ознакомиться подробнее с техническими характеристиками изобретения № 2788062 вы можете здесь.

Спасибо за лайк и подписку на канал!