Найти в Дзене

Цифровая радиография: контроль «на режиме» при температурах выше 70°C

Рассмотрим задачу проведения контроля сварных соединений с помощью комплекса цифровой радиографии «Цифракон». Объектом контроля будут технологические трубопроводы «на режиме» Ø до 325 мм, с толщинами до 12 мм. Контроль будем проводить с учетом требований ГОСТ 7512-82
и ГОСТ 17636-2-2017. Отбраковку —  с учетом требований ГОСТ 32569-2013. Подготовка к проведению контроля Трубы покрыты изоляцией из минваты и оцинковки суммарной толщиной до 100 мм. Температура на поверхности оцинковки
70-90°C, на поверхности объекта контроля — порядка 350°C. Изоляцию можно было снять, но внеплановая остановка производства была недопустима. Внутренняя среда – гудрон, мазут, рециркулят гудрона и другие нефтепродукты. Есть сложность создания требуемой безопасной радиационной зоны ввиду конструкции трубопровода. Выбор метода В заданных условиях проведение УЗК затруднено, как и классического РК на плёнку. Также при классической радиографии на персонал пришлась бы избыточная радиационная нагрузка. Просвечивать
Оглавление

Рассмотрим задачу проведения контроля сварных соединений с помощью комплекса цифровой радиографии «Цифракон».

Объектом контроля будут технологические трубопроводы «на режиме» Ø до 325 мм, с толщинами до 12 мм.

Контроль будем проводить с учетом требований ГОСТ 7512-82
и
ГОСТ 17636-2-2017. Отбраковку —  с учетом требований ГОСТ 32569-2013.

Объект контроля — технологический трубопровод
Объект контроля — технологический трубопровод

Подготовка к проведению контроля

Трубы покрыты изоляцией из минваты и оцинковки суммарной толщиной до 100 мм. Температура на поверхности оцинковки
70-90°C, на поверхности объекта контроля — порядка 350°C. Изоляцию можно было снять, но внеплановая остановка производства была недопустима.

Внутренняя среда – гудрон, мазут, рециркулят гудрона и другие нефтепродукты. Есть сложность создания требуемой безопасной радиационной зоны ввиду конструкции трубопровода.

Выбор метода

В заданных условиях проведение УЗК затруднено, как и классического РК на плёнку. Также при классической радиографии на персонал пришлась бы избыточная радиационная нагрузка.

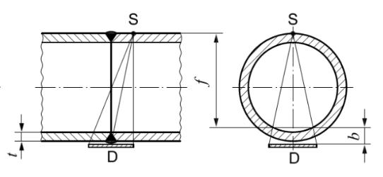
Просвечивать будем через две стенки с применением плоского детектора
согласно
ГОСТ 17636-2-2017.

Схема просвечивания через 2 стенки из ГОСТа
Схема просвечивания через 2 стенки из ГОСТа

Выбор оборудования и расходников

Для демонстрации и проведения испытания используем рентгентелевизионный комплекс «Цифракон 2532» в комплекте с рентгеновским аппаратом Eresco 42 MF4.

На детектор установим дюралюминиевую пластину для отвода тепла и увеличения производительности оборудования.

Плоскопанельный детектор комплекса цифровой радиографии «Цифракон 2532»
Плоскопанельный детектор комплекса цифровой радиографии «Цифракон 2532»

Процесс проведения контроля

Для направленного рентгеновского аппарата Eresco 42 MF4 просвет по стали за 10 мин составляет 42 мм.

-4
Снимок 1 на плоскопанельный детектор
Снимок 1 на плоскопанельный детектор
Снимок 2 на плоскопанельный детектор
Снимок 2 на плоскопанельный детектор

Температура объекта контроля под изоляцией - 350°C

Выводы

Применение комплекса «Цифракон»:

  • позволяет провести рентгеновский контроль с учетом требований ГОСТ 7512-82 и ГОСТ-17636-2-2017.
  • снижает радиационный фон по сравнению с контролем на пленку;
  • при остановке оборудования на промышленных технологических объектах — сокращает время на ремонт;
  • быстрое принятие решения за счет получения результата на месте дает возможность улучшить технические и конструкционные характеристики устройства в перспективе;
  • допустимо при температуре поверхности от -20°C до +50°C, возможно применение при температурах от +50°C до +100°C в течение 1-1,5 часов;
  • подходит для контроля труб с такими продуктами внутри, как тяжелый вакуумный газойль, гудрон, рециркулят гудрона, мазут и подобные им.

Где можно применить опыт проекта

При контроле технологических трубопроводов, покрытых изоляцией с толщиной 100 мм и оцинковкой «на режиме»
для таких продуктов, как тяжелый вакуумный газойль, гудрон, рециркулят гудрона, мазут и подобных.