Добавить в корзинуПозвонить
Найти в Дзене
5 Колесо

Раскрыты характеристики нового кроссовера Москвич 3

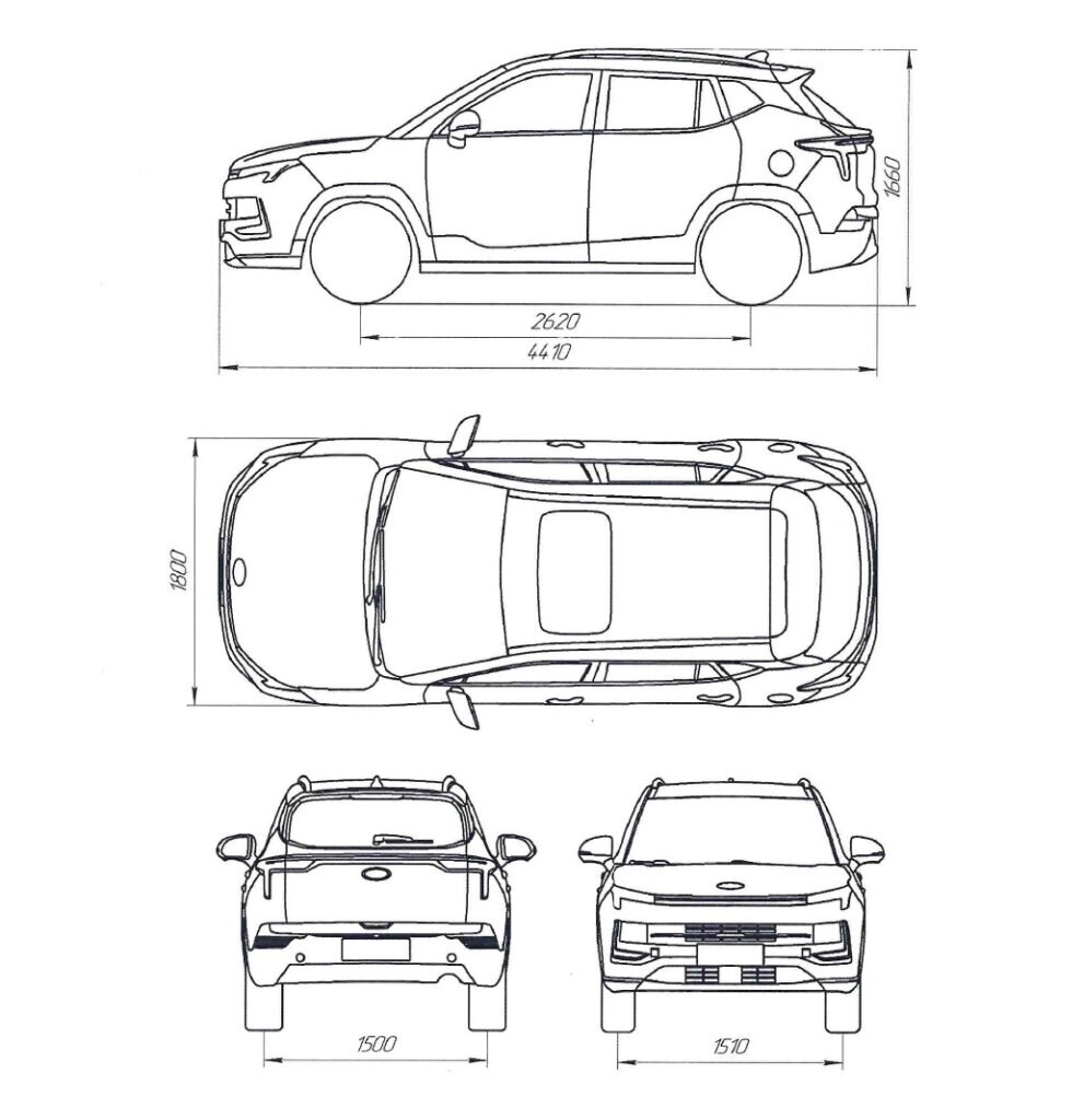
Первая модель нового Москвича получила сертификат одобрения типа транспортного средства, причем сразу в двух версиях: бензиновой и электрической. Новинка с ДВС будет называться Москвич 3, а с электромотором - Москвич 3е. Такая нумерация как бы намекает, что в будущем стоит ожидать появления и более компактных (и доступных) Москвичей. Так что же за модель встанет на конвейер бывшего столичного завода Renault? Судя по рисункам и характеристикам в ОТТС, это будет китайский кроссовер JAC JS4. И никакой неожиданности в этом нет: то, что под маркой Москвич будут выпускать «китайцев» стало ясно еще летом, когда на заводе прошла презентация будущего модельного ряда возрожденного российского бренда. Любопытно, что завод Москвич во всей этой истории – лишь сборочная площадка. Все права на русско-китайский автомобиль, как изготовителю, принадлежат КАМАЗу. При этом сертифицирован он был… в Беларуси! Бензиновый Москвич 3 будет предлагаться с двумя двигателями: 1,6-литровым атмосферным мощность 109

Первая модель нового Москвича получила сертификат одобрения типа транспортного средства, причем сразу в двух версиях: бензиновой и электрической. Новинка с ДВС будет называться Москвич 3, а с электромотором - Москвич 3е. Такая нумерация как бы намекает, что в будущем стоит ожидать появления и более компактных (и доступных) Москвичей.

Так что же за модель встанет на конвейер бывшего столичного завода Renault? Судя по рисункам и характеристикам в ОТТС, это будет китайский кроссовер JAC JS4. И никакой неожиданности в этом нет: то, что под маркой Москвич будут выпускать «китайцев» стало ясно еще летом, когда на заводе прошла презентация будущего модельного ряда возрожденного российского бренда. Любопытно, что завод Москвич во всей этой истории – лишь сборочная площадка. Все права на русско-китайский автомобиль, как изготовителю, принадлежат КАМАЗу. При этом сертифицирован он был… в Беларуси!

-2

Бензиновый Москвич 3 будет предлагаться с двумя двигателями: 1,6-литровым атмосферным мощность 109 л.с. и 150-сильным турбированным объемом 1,5 литра. Оба мотора по умолчанию комплектуются 6-ступенчатой «механикой», но для турбоагрегата также опционально доступен вариатор Punch. Привод – только на переднюю ось. Электрический Москвич 3е также переднеприводный: он оснащен синхронным электромотором мощностью 68 л.с. и аккумуляторной батарей на 55 кВт∙ч, обеспечивающей запас хода 410 км с возможностью быстрой зарядки 80% емкости за 45 минут.

-3

Заявлено, что в стандартное оснащение такого кроссовера входят система контроля устойчивости, противобуксовочная система, датчик давления в шинах, подушка безопасности водителя, электростеклоподъемники и кондиционер. В качестве опции доступны датчики парковки, круиз-контроль, камера заднего обзора, подушка безопасности пассажира и боковые шторки безопасности.

Крупноузловая сборка Москвичей должна начаться в самое ближайшее время. По плану столичный завод должен успеть произвести до конца года 600 машин, 200 из которых будут электрическими.