Найти в Дзене
Записки Старого Строителя

Печи нового поколения. Просто и доступно

Если у вас есть дача и вам иногда нужна обогревательная печь, причем с быстрым и интенсивным нагревом, то эта конструкция как раз для вас. Она очень проста и понятна, для ее строительства не надо никого нанимать и ее можно сделать из простой буржуйки. Для увеличения теплоемкости железной печи к ней пристраивается малогабаритная аккумулирующая колонка. С ее помощью теплоемкость печи увеличивается многократно. Колонку можно построить разного сечения и размеров. Вся хитрость в том, что дым проходя по проходам разного сечения, интенсивно отдает тепло. Это так называемый малый модуль. Его высота зависит от высоты вашего помещения. Сложить его несложно. Один ряд кирпичей ставится на ребро, а другой плашмя, вот и вся премудрость. Есть еще модули средний и большой. Выкладываются они также очень просто. Средний модуль И большой модуль. Теперь об особенностях. Как пишет автор для малых и средних модулей используются легкие керамические или стальные трубы с экраном типа сэндвич. Можно в

Если у вас есть дача и вам иногда нужна обогревательная печь, причем с быстрым и интенсивным нагревом, то эта конструкция как раз для вас. Она очень проста и понятна, для ее строительства не надо никого нанимать и ее можно сделать из простой буржуйки.

В.М.Колеватов “Печи нового поколения”
В.М.Колеватов “Печи нового поколения”

Для увеличения теплоемкости железной печи к ней пристраивается малогабаритная аккумулирующая колонка. С ее помощью теплоемкость печи увеличивается многократно.

В.М.Колеватов “Печи нового поколения”
В.М.Колеватов “Печи нового поколения”

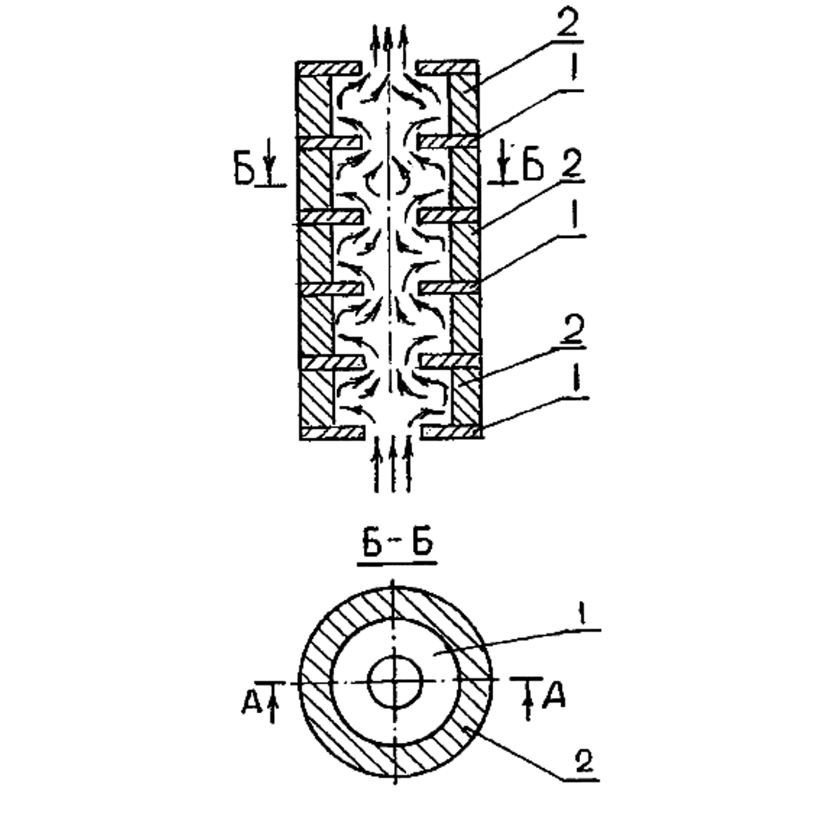
Колонку можно построить разного сечения и размеров. Вся хитрость в том, что дым проходя по проходам разного сечения, интенсивно отдает тепло.

В.М.Колеватов “Печи нового поколения”
В.М.Колеватов “Печи нового поколения”

Это так называемый малый модуль. Его высота зависит от высоты вашего помещения. Сложить его несложно. Один ряд кирпичей ставится на ребро, а другой плашмя, вот и вся премудрость. Есть еще модули средний и большой. Выкладываются они также очень просто.

Средний модуль

В.М.Колеватов “Печи нового поколения”
В.М.Колеватов “Печи нового поколения”

И большой модуль.

В.М.Колеватов “Печи нового поколения”
В.М.Колеватов “Печи нового поколения”

Теперь об особенностях. Как пишет автор для малых и средних модулей используются легкие керамические или стальные трубы с экраном типа сэндвич. Можно выводить дымоходы и в стенах, если дом будет из кирпича. Для большого же модуля трубы могут быть и кирпичные и под него нужно делать прочный фундамент.

Для малого и среднего модуля нет необходимости строить мощное основание, так как вес их небольшой.

Этот способ применим и для бань. В этом случае в модуль встраивается каменка, а железная печь обкладывается с боков кирпичом, засыпается песком или камнями. С боков печи делаются “карманы” в которые и засыпается песок и камни.

Также можно модули выкладывать и в кирпичных печах, сочетая варочную плиту и обогрев или так сказать псевдокамин со стеклянной дверкой и обогревательную печь.

В.М.Колеватов “Печи нового поколения”
В.М.Колеватов “Печи нового поколения”

Поддувальную дверку можно и не делать, заменив ее ящиком для золы.

В.М.Колеватов “Печи нового поколения”
В.М.Колеватов “Печи нового поколения”

Также хотелось бы добавить, что для увеличения интенсивности теплоотдачи можно замуровать в дымоходы керамические трубы и тогда получится очень интересная конструкция с неплохим КПД.

Данную конструкцию вполне можно сочетать и с колпаковой печью с наполнением песком в верхней части. В этом случае КПД будет намного выше, а отдача тепла печью, дольше.

Подписывайтесь, дальше будет еще интереснее.

Печи
176,1 тыс интересуются