Найти в Дзене
GrannyBrew_dzen

Технологическая линия производства сахара-песка из сахарной свеклы

Сахар - важнейший ингредиент различных блюд, напитков, хлебобулочных и кондитерских изделий. Его добавляют в чай, кофе, какао; он главный компонент конфет, глазурей, кремов, мороженого и других кондитерских изделий. Сахар - песок используют при консервировании мяса, выделке кожи и в табачной промышленности. В химической промышленности из сахара получают тысячи производных, используемых в самых разных областях, включая производство пластмасс, фармацевтических препаратов, шипучих напитков и замороженных пищевых продуктов. Значительный вклад в формирование продовольственных фондов и создание стратегических запасов продовольствия в стране вносит сахарная промышленность. Устойчивость развития рынка сахара, ассортимент продукции, ее качество и цены во многом определяют уровень жизни населения. Это свидетельствует об особой стратегической и социальной значимости сахарного комплекса страны. В сахарной промышленности России продолжает сохраняться глубокая импортная зависимость: более 70 % пот

Сахар - важнейший ингредиент различных блюд, напитков, хлебобулочных и кондитерских изделий. Его добавляют в чай, кофе, какао; он главный компонент конфет, глазурей, кремов, мороженого и других кондитерских изделий. Сахар - песок используют при консервировании мяса, выделке кожи и в табачной промышленности. В химической промышленности из сахара получают тысячи производных, используемых в самых разных областях, включая производство пластмасс, фармацевтических препаратов, шипучих напитков и замороженных пищевых продуктов.

Значительный вклад в формирование продовольственных фондов и создание стратегических запасов продовольствия в стране вносит сахарная промышленность. Устойчивость развития рынка сахара, ассортимент продукции, ее качество и цены во многом определяют уровень жизни населения. Это свидетельствует об особой стратегической и социальной значимости сахарного комплекса страны. В сахарной промышленности России продолжает сохраняться глубокая импортная зависимость: более 70 % потребляемого сахарными заводами сырья имеет импортное происхождение, в то время как в 2011 г. - 28,4 %. Развитие сахарной промышленности России стало полностью зависеть от конъюнктуры мирового рынка сахара. Поэтому назрела острая необходимость создания условий для устойчивого развития отечественной сахарной промышленности, насыщения рынка собственной продукцией и обеспечения продовольственной безопасности страны в целях повышения уровня самообеспечения сахаром (стратегически важным, транспортабельным продуктом, пригодным для создания резервных запасов продовольствия), что в итоге будет способствовать устойчивому социально-экономическому развитию России. Потребность в продуктах питания и полезных веществах является насущной потребностью каждого человека, важность пищевого производства неоспорима.

Сахар относится к товарам первой необходимости, рацион питания без него представляется невозможным. Поэтому изучение производства этого важного продукта для дальнейшего исследования и разработки рекомендаций в данной области является актуальной и интересной задачей.

Цель курсовой работы является разработка технологической линии производства сахара - песка, производительность линии 3 т/сут.

Основными задачами курсовой работы являются:

1) изучение теоретических основ производства сахара - песка;

2) изучение правил приемки и хранения сырья, вспомогательных материалов и готовой продукции;

3) изучение аппаратурно-технологической схемы производства сахара-песка;

4) расчет материального баланса производства сахара-песка, а также подборка оборудования;

5) Технологическая линия производства сахара-песка из сахарной свеклы;

1. Краткая характеристика и описание производства

Получение сахара-песка начинается со сборов корнеплодов сахарной свеклы первого года развития, содержащих 20-25 % сухих веществ, в том числе сахарозы от 14 до 18%. Остальное количество сухих веществ составляют несахара (в среднем3%), к которым относятся редуцирующие сахара и рафиноза, азотосодержащие и безазотныеорганические вещества, минеральные вещества. При этом корнеплоды кондиционной сахарной свеклы должны соответствовать следующим требованиям:

- физическое состояние не потерявшие тургор

- цветушные корнеплоды,% не более 1

- подвяленные корнеплоды,% не более 5

- корнеплоды с сильными механическими

- повреждениями,% не более 12

- зеленая масса,% не более 3

- содержание мумифицированных, подмороженных, загнивших корнеплодов не допускается.

Подготовку сахарной свеклы и извлечение из нее сока проводят в свеклоперерабатывающемотделении. Принятую на переработку свеклу из бурачной транспортируют с помощью гидравлического транспортера в цех. Одновременно свекла промывается водой и освобождается от посторонних примесей (соломы, ботвы, камней, песка). Затем в специальных моечных машинах КМ-3-57М свекла окончательно очищается от грязи и примесей. Эффективное отмывание осуществляется в струйных свекломойках. Металлические примеси удаляются на электромагнитном сепараторе. Очистка свеклы имеет большое значение, так как влияет на качество диффузионного сока и выход сахара.

Чистую свеклу нарезают на центробежных, дисковых или барабанных свеклорезках тонкой стружкой желобчатой, ромбовидной, пластинчатой и другой формы в зависимости от качества свеклы и типа диффузионных аппаратов.

Технологическая схема получения сахара-песка включает в себя следующие операции:

- извлечение сахара из свекольной стружки осуществляется с помощью горячей воды (70-75°С) методом противоточной диффузии в диффузионных аппаратах. Сахар и другие растворимые вещества диффундируют через стенки клеток в воду и образуют диффузионный сок. Обессахаренная стружка называется жомом, она используется на корм скоту и для получения пектина. Продолжительность активной диффузии в зависимости от вида аппарата составляет от 60 до 80 мин.

- Диффузионный сок содержит 15-16% сухих веществ, в том числе 14-15% сахарозы и около 2% несахаров. Он сильно пенится, имеет кислую реакцию, характерный запах и темный, почти черный, цвет, обусловленный наличием продуктов окисления тирозина и пирокатехина свеклы.

- Все несахара (растворимые белки, аминокислоты, пектиновые вещества, редуцирующие(восстанавливающие) сахара и др.) задерживают кристаллизацию сахарозы и увеличивают потери сахара с мелассой, поэтому физико-химическую очистку проводят в несколько стадий:

Дефекация - обработка сока известковым молоком для нейтрализации кислот, коагуляции коллоидных и красящих веществ, осаждения солей кальция, магния и других примесей. В процессе дефекации из несахаров, перешедших в раствор, образуются трудноотфильтровываемые соли кальция и красящие вещества, ухудшающие качество очищенного сока. Поэтому после дефекации проводится сатурация.

Сатурация - обработка сока сатурационнымгазом, содержащим 30-34% диоксида углерода. При этой операции избыточная известь удаляется в виде мелкокристаллического карбоната кальция СаСО3, на поверхности которого адсорбируются неудалившиеся при диффузии окрашенные несахара. После сатурации сок фильтруют для удаления осадка и подвергают сульфитации.

Сульфитация - обработка диоксидом серы для обеспечения и снижения щелочности.

В результате очистки содержание несахаров в соке уменьшается на 30-35%. Очищенный сок содержит 12-14% сухих веществ. Из них 10-12% сахарозы, 0,5-0,7% азотистых веществ, 0,4-0,5% безазотистых органических соединений, 0,5% золы. Чистота сока составляет 85-92%.

Для получения сахара в кристаллическом виде сок сгущают выпариванием воды в два этапа. Вначале на четырехкорпусных выпарных установках и концентраторе из сока получают сироп с содержанием сухих веществ 65%. Сироп смешивают с клеровкой желтого сахара и сульфитируют до рН 7,8-8,2 при температуре 80-85°С, затем подогревают до 90-95°С и фильтруют с добавлением активного угля или других адсорбентов. Очищенный сироп уваривают в вакуум-аппаратах на утфель, который содержит 92,5% сухих веществ и состоит из кристаллов сахарозы (около 55%) и межкристального раствора, содержащего несахара и насыщенный раствор сахарозы.

Для ускорения образования кристаллов в сироп вводят немного тонкоизмельченной сахарной пудры - затравки, затравки, частички которой служат центрами кристаллизации. После заводки кристаллы наращивают. Для этого в вакуум-аппарат вводят новые порции сиропа при одновременном интенсивном испарении влаги.

Утфель первой кристаллизации спускают в утфелемешалку, откуда через утфелераспределитель он поступает в центрифуги. При центрифугировании отделяют кристаллы сахарозы и два оттека. На поверхности кристаллов остается тонкая пленка межкристальной жидкости. Для более полного ее удаления кристаллы в центрифуге пробеливают водой температурой 70-95°С в количестве 3-3,5% к массе утфеля. Первый оттек - это межкристальный раствор утфеля, второй - раствор, получаемый при пробеливаниисахара. Для максимального извлечения сахара, содержащегося в свекле, кристаллизацию сахарозы проводят многократно.

После пробелки сахар-песок выгружают из центрифуги с содержанием воды 0,8-1% на вибротранспортер и элеватором подают в сушильно-охладительные установки. Сушат сахар горячим воздухом до стандартной влажности 0,03 -0,14%, а затем охлаждают до температуры 25°С. Для удаления ферропримесей сахар пропускают через магнитный сепаратор, а в сортировочной установке удаляют комки непробеленного или слипшегося сахара и выделяют три фракции по размеру кристаллов. Готовый сахар-песок поступает в бункер на хранение или на упаковку.

 

1.1. Особенности производства и потребления готовой продукции.

Сахар-песок — пищевой продукт, представляющий собой сахарозу в виде отдельных кристаллов, предназначенный для реализации в торговую сеть, для промышленной переработки и других целей.

Сахар – это вещество белого цвета, иногда с голубоватым оттенком, мелкокристаллический, сладкий на вкус, хорошо растворим в воде. Образует прозрачные сиропы, очень гигроскопичен.

Сахароза – чистый углевод, хорошо усвояем, очень калориен, обладает энергетической ценностью. Суточная норма сахара 100 г. Повышенное потребление сахара приводит к нарушению жирового обмена, ухудшает состояние зубов, ухудшает работу сердечно сосудистой системы.

Наиболее распространенными дефектами сахара-песка являются: увлажнение и потеря его сыпучести; желтоватый цвет; посторонние запах и вкус; видимые посторонние примеси. Данные дефекты возникают в связи с неправильным режимом хранения продукции. Поэтому, хранить сахар-песок необходимо при температуре не ниже 5°С, так как более низкая температура может привести к вымораживанию влаги и появлению на сахаре пятен.

Относительная влажность воздуха при хранении сахара-песка должна быть не выше 70 %.При более высокой относительной влажности возникают такие явления как отсыревание и слипание кристаллов сахара-песка. Отсыреваниесахара-песка возникает при его хранении в складах с высокой относительной влажностью (выше 70 %), так как при этом возникает возможность конденсации воды на поверхности мешков и проникновение ее вовнутрь их.

Слипание кристаллов сахара имеет место при относительной влажности воздуха ниже 33 %.

Сахар-песок вырабатывается с размерами кристаллов от 0,2 до 2,5 мм. Допускаются отклонения от нижнего и верхнего пределов указанных размеров до 5 % к массе сахара-песка. Наличие мелкой фракции кристаллов может привести к слипанию, а затем и к затвердению сахара при его хранении. Причиной этому служит то, что общее содержание воды в кристаллах с уменьшением их размеров увеличивается, что приводит к слипанию.

Нормативным документом на сахар-песок является ГОСТ 21-94 «Сахар-песок для промышленной переработки. Технические требования».

Требования к качеству готовой продукции зависят от назначения сахара-песка. Основные критерии качества сахара как непосредственно пищевого продукта обычно является: блеск кристаллов, гранулометрический состав, влажность, цветность. Сахар-песок должен быть сухим на ощупь, сыпучим, без посторонних примесей и комков слипшегося сахара. Цвет белый с блеском, вкус сладкий без посторонних привкуса и запаха. Влажность сахара-песка не должна превышать 0,14 %, а содержание сахарозы не менее 99,75%. Сладость сахарного песка зависит от размера кристаллов, то есть гранулометрического состава. 

1.2. Характеристика комплексов оборудования линии производства.

Линия начинается с комплекса оборудования для подготовки свеклы к производству, состоящего из свеклоподъемной установки, гидротранспортера, песколовушки, ботволовушки, камнеловушки и водоотделителя, а также свекломоечной машины.

Ведущий комплекс оборудования линии состоит из конвейера с магнитным сепаратором, свеклорезки, весов, диффузионной установки, шнекового пресса и сушилки для жома.

Следующий комплекс оборудования представляют фильтры с подогревательными устройствами, аппараты предварительной и основной дефекации, сатураторы, отстойники, сульфитаторы и фильтры.

Наиболее энергоемким комплексом оборудования линии является выпарная установка с концентратором, а также вакуум-аппараты, мешалки и центрифуги.

Завершающий комплекс оборудования линии состоит из виброконвейера, сушильно-охладительной установки и вибросита.

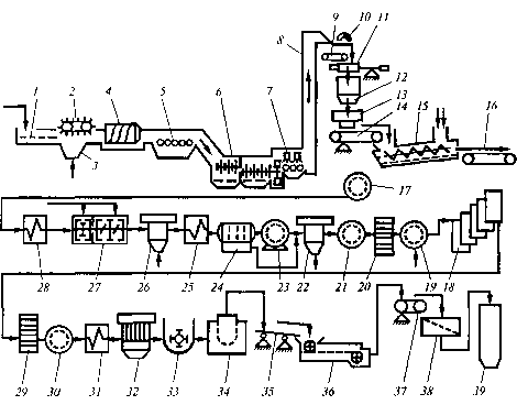
Машинно-аппаратурная схема линии производства сахара-песка из сахарной свеклы представлена на рисунке 1.

Рис.1 Машинно-аппаратурная схема линии производства сахара-песка из сахарной свеклы

1.3. Устройство и принцип действия линии производства

Сахарная свекла подается в завод из бурачной или с кагатного поля. По гидравлическому конвейеру она поступает к свеклонасосам и поднимается на высоту до 20 м. Дальнейшее перемещение ее для осуществления различных операций технологического процесса происходит самотеком. По длине гидравлического конвейера 1 (рис.1) последовательно установлены соломоботволовушки 2, камнеловушки 4 и водоотделители 5. Это технологическое оборудование предназначено для отделения легких (солома, ботва) и тяжелых (песок, камни) примесей, а также для отделения транспортерно-моечной воды. Для интенсификации процесса улавливания соломы и ботвы в углубление 3 подается воздух. Сахарная свекла после водоотделителей поступает в моечную машину 6.Моечная машина предназначена для окончательной очистки свеклы (количество прилипшей земли составляет при ручной уборке 3...5 % свеклы, а при механизированной уборке комбайнами — 8... 10 %).

Количество воды, подаваемой на мойку свеклы, зависит от степени ее загрязненности, конструкции машины и в среднем составляет 60... 100 % к массе свеклы. В сточные воды гидравлического конвейера и моечной машины попадают отломившиеся хвостики свеклы, небольшие кусочки и мелкие корнеплоды (всего 1...3 % к массе свеклы), поэтому транспортерно-моечные воды предварительно направляются в сепаратор для отделения от них хвостиков и кусочков свеклы, которые после обработки поступают на ленточный конвейер 14.

Отмытая сахарная свекла орошается чистой водой из специальных устройств 7, поднимается элеватором 8 и поступает на конвейер 9, где электромагнит 10 отделяет металлические предметы, случайно попавшие в свеклу. Затем свеклу взвешивают на весах 11 и из бункера 12 направляют в измельчающие машины-свеклорезки 13. Стружка должна быть ровной, упругой и без мезги, пластинчатого или ромбовидного сечения, толщиной 0,5... 1,0 мм.

Свекловичная стружка из измельчающих машин с помощью ленточного конвейера 14, на котором установлены конвейерные весы, подается в диффузионную установку 15

Сахар, растворенный в свекловичном соке корнеплода, извлекается из клеток противоточной диффузией, при которой стружка поступает в головную часть агрегата и движется к хвостовой части, отдавая сахар путем диффузии в движущуюся навстречу экстрагентувысолаживающую воду. Из конца хвостовой части агрегата выводится стружка с малой концентрацией сахара, а экстрагент, обогащенный сахаром, выводится как диффузионный сок. Из 100 кг свеклы получают приблизительно 120 кг диффузионного сока. Жом отводится из диффузионных установок конвейером 16 в цех для прессования, сушки и брикетирования.

Диффузионный сок пропускается через фильтр 17, подогревается в устройстве 28 и направляется в аппараты предварительной и основной дефекации 27, где он очищается в результате коагуляции белков и красящих веществ и осаждения ряда анионов, дающих нерастворимые соли с ионом кальция, содержащимся в известковом молоке (раствор извести). Известковое молоко вводится в сок с помощью дозирующих устройств.

Дефекованный сок подается в котел первой сатурации 26, где он дополнительно очищается путем адсорбции растворимых несахаров и особенно красящих веществ на поверхности частиц мелкого осадка СаС03, который образуется при пропускании диоксида углерода через дефекованный сок. Сок первой сатурации подается через подогреватель 25 в гравитационный отстойник 24. В отстойниках сок делится на две фракции: осветленную (80 % всего сока) и сгущенную суспензию, поступающую на вакуум-фильтры 23.

Фильтрованный сок первой сатурации направляется в аппараты второй сатурации 22, где из него удаляется известь в виде СаСОз.

Сок второй сатурации подается на фильтры 21. Соки сахарного производства приходится фильтровать несколько раз. В зависимости от цели фильтрования используются различные схемы процесса и фильтровальное оборудование.

Отфильтрованный сок из фильтра 21 подается в котел сульфитации 20. Цель сульфитации — уменьшение цветности сока путем обработки его диоксидом серы, который получают при сжигании серы.

Сульфитированный сок направляют на станцию фильтров 19, а затем транспортируют через подогреватели в первый корпус выпарной станции 18. Выпарные установки предназначены для последовательного сгущения очищенного сока второй сатурации до концентрации густого сиропа; при этом содержание сухих веществ в продукте увеличивается с 14... 16 % в первом корпусе до 65.. .70 % (сгущенный сироп) в последнем. Свежий пар поступает только в первый корпус, а последующие корпуса обогреваются соковым паром предыдущего корпуса. Площадь поверхности нагрева выпарной станции сахарного завода производительностью 5000 т свеклы в сутки составляет 10 000 м2.

Полученный сироп направляется в сульфитатор29, а затем на станцию фильтрации 30. Фильтрованный сироп подогревается в подогревателе 31, откуда поступает в вакуум-аппараты первого продукта 32. Сироп в вакуум-аппаратах уваривается до пересыщения, сахар выделяется в виде кристаллов. Продукт, полученный после уваривания, называется утфелем. Он содержит около 7,5 % воды и около 55 % выкристаллизовавшегося сахара.

Сироп уваривают в периодически действующих вакуум-аппаратах. Утфель первой кристаллизации из вакуум-аппаратов поступает в приемную утфелемешалку 33, откуда его направляют в распределительную мешалку, а затем в центрифуги 34, где под действием центробежной силы кристаллы сахара отделяются от межкристальной жидкости. Эта жидкость называется первым оттеком. Чистота первого оттека 75...78 %, что значительно ниже чистоты утфеля.

Чтобы получить из центрифуги белый сахар, его кристаллы промывают небольшим количеством горячей воды — пробеливают. При пробеливаниичасть сахара растворяется, поэтому из центрифуги отходит оттек более высокой чистоты — второй оттек.

Второй и первый оттеки подают в вакуум-аппарат второй (последней) кристаллизации, где получают утфель второй кристаллизации, содержащий около 50 % кристаллического сахара. Этот утфель постепенно охлаждают до температуры 40 °С при перемешивании в утфелемешалках - кристаллизаторах. При этом дополнительно выкристаллизовывается еще некоторое количество сахара. Наконец, утфельвторой кристаллизации направляется в центрифуги, где от кристаллов сахара отделяется меласса, которая является отходом сахарного производства, так как получение из нее сахара путем дальнейшего сгущения и кристаллизации нерентабельно. Желтый сахар второй кристаллизации рафинируют первым оттеком, полученный утфель направляется в распределительную мешалку, а затем в центрифуги. Полученный сахар растворяется, и сок поступает в линию производства.

Белый сахар, выгружаемый из центрифуг 34, имеет температуру 70 °С и влажность 0,5 % при пробеливании паром или влажность 1,5 % при пробеливании водой. Он попадает на виброконвейер 35 и транспортируется в сушильно-охладительную установку 36.

После сушки сахар-песок поступает на весовой ленточный конвейер 37 и далее на вибросито 38. Комочки сахара отделяются, растворяются и возвращаются в продуктовый цех.

Товарный сахар-песок поступает в силосные башни 39 (склады длительного хранения).

2. Описание и расчёт технологических параметров проектируемого аппарата

В составе свеклосахарного завода имеется три основных производственных отделения: свеклоперерабатывающее, сокоочистительное и продуктовое. Наиболее важным при производстве сахара – песка является 

продуктовое отделение. Рассмотрим принцип работы каждого оборудование.

Таблица 1- Технические характеристики оборудования

Название и марка оборудования

Производительность т\сут.

Габаритные размеры, мм

Масса кг

Аппарат выпарной «А2-ПВВ-1000»

3500

3200х8760х4205

28450

Вакуум-аппарат «А2-ПВ2-Е-60»

3700

-

26400

Утфелемешалка-кристаллизатор «Ш1-ПКВ»

5000

4100х9050х5103

39160

Устройство подготовки утфеля «Ш1-ПУУ»

3200

1450х3200х1500

1100

Котел клеровочный«КЛР-1.4»

3500

-

1300

Элеватор белого сахара «ЭЛГ-250»

4000

-

3200

Комкоотделитель«Ш52-ПКР-20»

3000

3250х2350х340

1900

Конвейер «Ш53-ПТА-3»

3000

Рабочая длинна желоба

7000

1650

Дозатор весовой «6 148 АД-50-РКЗ»

3200

1200х1000х1350

319

Конвейер ленточный «П9-КЛС»

3000

-

5600

Штабелеукладчик «Ш1-ПША»

3550

-

5000

 

Продолжение таблицы 1 – Технические характеристики оборудования

Оборудование для выпаривания сока, уваривания сиропа и кристаллизации сахара.

Аппарат выпарной «А2-ПВВ-1000».Предназначены для сгущения сока, содержащего сахар, путем выпаривания воды. Устанавливается на выпарных станциях свеклосахарных заводов для работы под давлением или разрежением.

Вакуум-аппарат периодического действия «А2-ПВ2-Е-60», предназначен для уваривания утфелей.

Утфелемешалка – кристаллизатор автоматизированный «Ш1-ПКВ». Предназначена для дополнительной кристаллизации утфеляпоследнего продукта на сахарных заводах путем искусственного охлаждения его при непрерывном перемешивании.

Устройство подготовки утфеля «Ш1-ПУУ»,применяется для дооснащения станции кристаллизации утфеля последней ступени кристаллизации. Основные составные части устройства смеситель и система контроля и регулирования.

Смеситель представляет собой цилиндрический вертикальный сосуд с патрубками для входа и выхода утфельной массы. Внутри сосуда расположен полый вал с лопастями, нижняя лопасть снабжена перфорированной стенкой. Вращение полого вала с лопастями осуществляется от асинхронного двигателя трехфазного тока через клиноременную передачу и червячный редуктор. Утфель из утфелемешалки-кристаллизатора подается насосом через нижний патрубок в нижнюю часть смесителя. Здесь утфельзахватывается лопастями, закрепленными на полом вале, и перемешивается. Подаваемая в полый вал очищенная на фильтре вода под напором проникает в нижнюю перемешивающую лопасть и в вице капель через перфорированную стежку диспергируется в утфель. Тщательное перемешивание осуществляется благодаря наличию лопастей на полом вале и контрлап, закрепленных крестообразно на корпусе смесителя. Выходящий из смесителя утфель поступает в утфелераспределитель центрифуг непрерывного действия последнего продукта. Окончательный спуск утфеля производится через нижний патрубок. Система контроля и регулирования предназначена для контроля и регулирования параметров разбавления утфеля и предусматривает; измерение температуры утфеля, автоматическое регулирование воды или разбавленного оттека, поступающих в смеситель.

Котел клеровочный «КЛР-1.4», предназначен для растворения (клерования) сахара.

Элеватор белого сахара «ЭЛГ-250»,предназначены для транспортирования сахара-песка по вертикали снизу вверх на высоту до 40 м в продуктовых цехах сахарных заводов.

Оборудование для сушки и транспортировки сахара. 

Комкоотделитель ротационный «Ш52-ПКР-20», предназначен для удаления комков непробеленного сахара и посторонних предметов из общей массы просушенного сахара-песка.

Конвейер качающий белый сахар «Ш53-ПТА-3»,предназначены для приема сахара из центрифуг и транспортирования его на элеватор сахарных заводов.

Дозатор весовой автоматический «6 148 АД-50-РКЗ», предназначен для дозирования и учета зерна, крупы и семян с объемной массой 0,45 - 0,85 т/м и влажностью не более 15 % на зерноперерабатывающих предприятиях, мельницах сортового помола и предприятиях агропромышленного комплекса. В дозаторе 6 148 АД-50-РКЗ использовано весовое устройство тензометрическое.

Конвейер ленточный стационарный «П9-КЛС», предназначен для горизонтального перемещения грузов на различных участках производства. Используется в качестве технологического оборудования, как элементы поточных линий, питающих и дозирующих устройств и др.

Штабелеукладчик мешков с сахаром «Ш1-ПША», применяется для укладки-разборки штабелей мешков с сахаром массой 50 кг в малогабаритных складах сахара, также в схемах напольной механизации в конце транспортировки для подачи мешков на штабель, в железнодорожные вагоны или на автотранспорт, а также в начале пинии при разборке штабеля с подачей груза на транспортную линию или непосредственно в автотранспорт.

Поступление мешков на штабеле укладчик возможно с высоты 310 - 2500 мм от пола.

 

3. Расчёт вентиляции освещения производственного помещения

Отопительно-вентиляционные системы производственных помещений должны обеспечивать санитарно-гигиенические требования к воздушной среде в рабочей зоне, согласно требованиям метеорологических условий ГОСТ 12.1.005-88, а содержание газов, паров и пыли в рабочей зоне производственных помещений не превышать предельно допустимые величины, приведенные в приложениях 35, 36.

В отделениях производственного корпуса должно, как правило, применяться воздушное отопление.

В помещениях с выделением пыли - в известковом, сахаросушильном, упаковочном, расфасовочном, жомогрануляционном, в складе неупакованного сахара следует применять воздушное, водяное или паровое отопление низкого давления. Нагревательные приборы должны иметь гладкую поверхность без оребрения, допускающую легкую очистку пыли.

Все производственные помещения (в том числе и помещения с наличием избыточного тепла в период производства) должны быть оборудованы отоплением для поддержания температуры в ремонтный период не ниже 13 °С.

В производственных помещениях, объемом на 1 работающего менее 20 м3, должен быть предусмотрен воздухообмен, обеспечивающий подачу наружного воздуха в количестве не менее 30 м3/ч на 1 работающего, а в помещениях, объемом на 1 работающего от 20 до 40 м3 - не менее 20 м3/ч на 1 работающего. При этом должны быть соблюдены нормы метеорологических параметров воздушной среды.

В производственных корпусах, при наличии окон и фонарей и при отсутствии выделений вредных газов, паров, пыли, необходимо предусматривать естественную вентиляцию, если при этом обеспечивается соблюдение норм метеорологических параметров воздушной среды.

Удаление нагретого воздуха из помещений с теплоизбытками должно производиться через фонари, шахты, верхние фрамуги окон или крышными вентиляторами. Подача наружного воздуха для ассимиляции тепла - через открываемые фрамуги окон, в теплый период года - в рабочую зону, в холодный период года - не ниже 4 м от пола.

В местах обслуживания технологического оборудования, где создание нормативных санитарных условий за счет общеобменной вентиляции невозможно (площадки свеклорезок, диффузионное отделение, площадки обслуживания фильтров в сокоочистительном отделении, выпарная установка, станции дефекосатурации, сульфитации, площадки вакуум-аппаратов, кристаллизаторов, центрифуг и др.), должна предусматриваться местная приточная вентиляция.

Приточно-вытяжную вентиляцию с механическим побуждением предусматривать в:моечном, диффузионном, жомосушильном известковом, сокоочистительном, продуктовом, сахаросушильном отделениях, в помещениях склада бестарного хранения сахара-песка, свеклосемян, в помещении щита управления.

В складских помещениях тарного хранения сахара песка, мешкотары предусматривать естественную приточно-вытяжную вентиляцию.

Температуру приточного воздуха в холодный и переходный периоды года для помещений с теплоизбытками принимать на 5 - 8 °С ниже расчетной температуры воздуха в рабочей зоне.

Воздух, подаваемый системами с механическим побуждением, должен забираться снаружи из наименее загрязненной зоны, учитывая при этом ветры преимущественных направлений.

В случае невозможности по местным условиям обеспечить забор воздуха из незагрязненной зоны, приточный воздух должен подвергаться предварительной очистке и не содержать более 30 % нормируемого количества предельно-допустимых концентраций пыли и газов.

Во всех производственных помещениях независимо от наличия вентиляционных устройств в оконных проемах предусматривать поворотные фрамуги, съемные щиты или жалюзи для проветривания.

Площадь открывающихся проемов устанавливать расчетом на аэрацию.

Для открывания и закрывания фрамуг окон и фонарей предусматривать дистанционное управление.

В помещениях с выделением сахарной, жомовой или известковой пыли (сахаросушильное, сахароупаковочное, галереи конвейеров и пересыпные пункты неупакованного сахара, помещения склада неупакованного сахара силосного типа - подсилосный этаж, надсилоснаягалерея, элеваторная башня, пункт отгрузки неупакованного сахара, жомосушильное и жомогрануляционное отделение, склад гранулированного жома, галерея конвейера гранулированного жома, помещения выгрузки извести из известково-газовых печей, места расположения линий транспорта обожженного известкового камня к известегасильным аппаратам и линии отвода излишней извести, приготовления известкового молока) предусматривать системы аспирации от укрытий технологического оборудования, мест перегрузки пылящих материалов и бункеров.

Применять аспирационные установки с механическим побуждением и очисткой от пыли выбрасываемого в атмосферу воздуха.

Аспирационные системы, как правило, проектировать децентрализированными, раздельными для каждой технологической линии с минимальной протяженностью воздуховодов.

Количество местных отсосов, объединенных одной децентрализованной установкой принимать наименьшим, исходя из необходимости вертикальной прокладки воздуховодов или наклонной под углом к горизонтали не меньшим угла естественного откоса осевшей пыли.

Примечание. В исключительных случаях допускается прокладка участков воздуховодов под меньшими углами к горизонтали при протяженности их не более 15 м, с быстроразъемными герметичными соединениями и при условии поддержания на этих участках скоростей движения воздуха не менее 15 м/сек.

При невозможности по местным условиям проектирования децентрализированныхаспирационных установок с вертикально-наклонной трассировкой воздуховодов (склады бестарного хранения сахара-песка) рекомендуется применение централизованных установок с коллекторами, имеющими устройства для удаления осаждающейся в них пыли.

Объединение в одну установку местных отсосов, удаляющих воздух с различными видами пыли, не допускается.

Производительность аспирационных установок принимать по расчетному объему отсасываемого от укрытий воздуха с учетом подсосов:

а) в пылеуловителях - по паспортным данным заводов-изготовителей;

б) в неплотностях системы воздуховодов - в соответствии со СНиП 2.04.05-

Производительность вентиляторов и пылеуловителей рассчитывать из условия одновременной работы всех присоединенных к данной установке местных отсосов, кроме отсосов из резервного оборудования.

Для очистки удаляемого аспирационными установками воздуха от сахарной пыли применять мокрые пылеуловители.

Подачу воды к мокрым пылеуловителям аспирационных систем следует производить через бачки, обеспечивавшие постоянное давление воды. Давление и расход воды принимать по паспортным данным пылеуловителей. Воду, содержащую сахар, после мокрых пылеуловителей возвращать в производство. При невозможности осуществления мокрой очистки аспирируемого воздуха от сахарной пыли (склад бестарного хранения сахара-песка) следует применять сухую очистку.

Пыль, уловленную сухим пылеуловителем, а также пыль из горизонтальных и вертикальных коллекторов направлять в технологических процесс.

Для очистки воздуха от жомовой и известковой пыли применять сухие пылеуловители.

Воздуховоды аспирационных установок в местах прохода через неотапливаемые помещения необходимо теплоизолировать.

Воздуховоды аспирационных установок следует применять круглого сечения, сварными из листовой стали толщиной 1 - 2 мм в зависимости от абразивности пыли, с фланцевыми соединениями звеньев.

Фланцы на воздуховодах следует устанавливать в местах соединений с аспирационными воронками, фасонными частями и вентиляционным оборудованием. Количество фланцев должно быть минимальным. Фланцы следует применять приварные, усиленной конструкции, прокладки резиновые.

На участках аспирационных систем воздуховодов, имеющих угол наклона к горизонтали менее угла естественного откоса осевшей пыли, следует устанавливать герметичные боковые лючки для прочистки.

Лючок следует располагать из расчета возможности осыпания пыли из этих участков в вертикальные участки воздуховодов с помощью скребков. Для удобного осуществления прочистки воздуховодов следует предусматривать необходимые устройства.

4. Организация технического обслуживания машин и оборудования

Данный стандарт предназначен для проведения работ по организации эксплуатации, техническому обслуживанию и ремонту оборудования. Стандарт разработан отделом обслуживания оборудования.

I. Область применения

Настоящий стандарт устанавливает порядок поступления нового оборудования в производство и его последующего обслуживания, регламентирования планирования и проведения ремонтов, ведения записей.

Стандарт распространяется на все участки основного производства и вспомогательные подразделения.

II. В настоящем стандарте использованы следующие руководящие и методические документы:

- «Типовая система технического обслуживания и ремонта метало- и деревообрабатывающего оборудования. Министерство станкостроительной и инструментальной промышленности экспериментальной НИИ металлорежущих станков M1988 г.

- СТП СМК. Закупки. Основные положения.

- СТП СМК. Закупки. Порядок приема закупленной продукции на склады предприятия, хранения и выдачи в производство.

- СТП СМК. Управление процессами. Проверка обрабатывающего оборудования на соответствие требованиям по точности.

- СТП CMK. Корректирующие и предупреждающие действия. Основные положения.

- СМК. Инструкция Управление процессами. Действия в нештатных ситуациях.

Инструкция по утилизации отходов.

Изготовление образцов изделий на основном производстве.

III. Определения

В настоящем стандарте использованы следующие термины и определения

1) технологическое оборудование основное — токарные станки и токарные автоматы, обрабатывающие центры, фрезерные станки, шлифовальные станки, сверлильные станки, пресса, линии поверхностного монтажа, стенды контроля и другое оборудование, используемое для изготовления продукции.

2) технологическое оборудование вспомогательное – оборудование (грузоподъемные механизмы, станки и т.п.), используемое для поддержания основного оборудования в исправном состоянии (ремонт, изготовление запасных частей и т.п.).

3) техническая эксплуатация технологического оборудования совокупность организационно-технических мероприятий по использованию, техническому обслуживанию технологического оборудования и надзору за ним, направленных на предупреждение преждевременного износа деталей, узлов и механизмов, а также его содержание в состоянии, соответствующем установленным требованиям.

4) использование технологического оборудования – непосредственная эксплуатация (применение) оборудования производственным персоналом для выполнения технологических процессов (операций) в соответствии с режимами, заданными в НД на изготовление продукции.

5) техническое обслуживание технологического оборудования – комплекс работ, выполняемых производственным персоналом во взаимодействии с ремонтными службами, в целях обеспечения его исправности и работоспособности в период между текущими ремонтами (осмотры, профилактические работы, замена смазки и рабочего инструмента и т.п.) в соответствии с инструкциями по эксплуатации.

6) надзор за состоянием технологического оборудования текущее ежемесячное наблюдение и оценка состояния оборудования, а также, соблюдение правил по эксплуатации и технического обслуживания, осуществляемые рабочим (оператором), производственными мастерами в целях предупреждения преждевременного выхода оборудования из строя.

7) надзор за состоянием технологического оборудования периодический — плановые и внеплановые проверки службой отдела обслуживания оборудования, состояния эксплуатируемого оборудования и технического обслуживания оборудования в цехах основного и вспомогательного производства в целях поддержания его характеристик в соответствии с установленными требованиями.

8) для обеспечения постоянной технической готовности оборудования предусматриваются следующие виды предупредительного обслуживания и ремонта:

Ежедневное обслуживание:

- Плановое техническое обслуживание ТО1

- Плановое техническое обслуживание TО2

- Текущий ремонт ТР

9) техническое обслуживание и ремонт (ТОиР) технологического оборудования — выполнение в плановом порядке работ на деталях, узлах, механизмах оборудования с целью восстановления технических характеристик, предусмотренных в ГОСТах или заданных в условиях заводов-изготовителей и обеспечение его работоспособности и требуемой технологической точности до очередного ремонта.

10) ремонтный цикл — это повторяющаяся совокупность различных видов технического обслуживания, выполняемых в предусмотренной последовательности через установленные, равные числа часов оперативного времени работы оборудования, называемые межремонтными периодами.

11) структура ремонтного цикла — это перечень видов технического обслуживания, входящих в его состав, расположенных в последовательности их выполнения, рекомендуемого большинством заводов изготовителей оборудования.

12) техническое обслуживание ТО1 — это операция планово-технического обслуживания выполняемая с целью проверки всех узлов оборудования и накопления информации об износе деталей и изменении характера их сопряжений, необходимых-для подготовки предстоящих ремонтов. Выполняется по заранее составленному плану, как правило, без разборки узлов, визуально или с помощью средств технической диагностики. При осмотре может производиться устранение мелких неисправностей.

13) техническое обслуживание TО2 — это плановое обслуживание, выполняемое для обеспечения или восстановления работоспособности оборудования и состоящее в замене и (или) восстановлении отдельных частей.

14) текущий ремонт ТР — это ремонт, выполняемый для восстановления исправности и полного восстановления ресурса оборудования с заменою или восстановлением составных частей ограниченной номенклатуры и контролем технического состояния составных частей, до восстановления точностных характеристик оборудования, выполняемый в объеме, установленном в нормативно-технической документации. 

15) ремонт капитального характера PK — это ремонт, выполняемый для восстановления полной Исправности и полного восстановления ресурсов оборудования с заменой или восстановлением всех частей и комплектующих, включая базовые, до восстановления точностных характеристик, выполняемый в объеме, установленном в нормативно-технической документации. 

В ходе проведения технического обслуживания TО2 выявляется необходимость проведения PK, с составлением акта и дефектной ведомости.

В случае невозможности проведения PK силами ремонтной службы 000, ремонт осуществляется сторонней организацией, с заключением договора и выделением бюджетных средств на проведение PK. (Стоимость ремонтных работ закладывается в бюджет косвенных расходов следующего года.)

16) аварийный ремонт (АР) — это ремонт вследствие отказа оборудования, вызванный нарушением правил технической эксплуатации.

Основными задачами, решаемыми в ходе технической эксплуатации и ремонта технологического оборудования, являются:

- обеспечение качественного и своевременного межремонтного технического обслуживания оборудования, усиление роли и ответственности эксплуатационного персонала производственных цехов в обеспечении эффективной, ритмичной работы технологического оборудования, разработка и внедрение мероприятий по совершенствованию технического обслуживания оборудования;

- анализ надежности оборудования и обоснование потребности в запасных частях, и их своевременное наличие;

- повышение квалификации и уровня специализации ремонтного персонала.

Ответственность за организацию эксплуатации, технического обслуживания и ремонтов оборудования несет Заместитель директора по производству. Ответственными за выполнение ремонтов, проведение и верификацию наладок оборудования являются начальники цехов, группы обслуживания оборудования, а также группы электроники и анализа неисправностей (в соответствии с должностными инструкциями).Ответственным за правильную эксплуатацию оборудования является обслуживающий персонал предприятия, непосредственно выполняющий на данном оборудовании предусмотренные техпроцессы (операции).

IV. Приемка нового оборудования в эксплуатацию

1. По вновь прибывшему оборудованию, кладовщик центрального склада, после идентификации принадлежности к центру финансовой ответственности (ЦФО) согласно Плану инвестиционных расходов и оприходования по товарной накладной «ТОРГ -12»‚ в течение 1 дня сообщает об этом службам Технического директора, главного инженера, и дирекции по производству. Комиссия в составе представителей центрального склада, группы обслуживания оборудования, отдела обслуживания оборудования, совместно с лицом, принимающим оборудование на ответственное хранение, проводит анализ состояния упаковки (тары), ее целостности, а также проверяется комплектность оборудования согласно документации комплектности (комплектовочная ведомость, товаротранспортная накладная, спецификация к договору поставки).

Работник центрального склада в течение 1 дня оформляет «Акт приема объекта основных средств на ответственное хранение» в 3-х экземплярах с подписями сдатчика основного средства (центральный склад) и получателя, на чьей площади будет храниться до ввода в эксплуатацию основное средство (начальник цеха). Одновременно в Акте представитель ЦФО ставит отметки о планируемых работах и сроках выполнения. Один экземпляр Акта направляется работником ЦС в бухгалтерию.

2. Установка оборудования в цехе и подключение необходимых коммуникаций производится на основании утвержденной планировки и плана мероприятий работниками ГОО, ООО и ОГЭ или подрядными организациями.

3. Техническая документация на новое оборудование регистрируется в Журнале, и хранится в архивах ГОО, 000 по территориальному нахождению оборудования. При поставке с оборудованием документации в единственном экземпляре, работники технического бюро 000 или ГОО обязаны создать рабочую копию. При необходимости перевода с иностранного языка технической документации — разместить заявку на перевод ТД.

4. Проведение пусконаладочных работ осуществляется представителями Поставщика оборудования. ответственным за организацию данных работ является Заместитель директора по производству, или Директор по производству.

По завершении пуско-наладочных работ производится сдача технологического оборудования в эксплуатацию с оформлением Акта приемки пусконаладочных работ, совместно с представителями Поставщика с одной стороны и представителями цеха, ООО и ОГТ с другой стороны.

Оформленный надлежащим образом Акт приемки пусконаладочных работ является основанием для оформления Акта ввода в эксплуатацию нового оборудования, который должен быть представлен в бухгалтерию в течение 10 рабочих дней. В случае невозможности эксплуатации оборудования (отсутствие готовности подготовки производства, необходимости дополнительной оснастки и т.п.) представитель ЦФО делает соответствующие отметки в «Акте приема объекта основных средств на ответственное хранение» с указанием предполагаемого срока ввода в эксплуатацию.

При отсутствии необходимости проведения пусконаладочных работ на оборудовании, Акт ввода в эксплуатацию нового оборудования должен быть представлен в бухгалтерию в течение 10 рабочих дней с момента готовности оборудования к эксплуатации.

В процессе проведения пусконаладочных работ фирмой поставщиком, рабочая группа, в составе представителей ОГТ, ООО и цеха, детально изучает работу оборудования, производит рабочие настройки, осуществляет проверку работы (соответствие требованиям) путем выпуска опытных образцов и проверку соответствия паспортным данным. Результаты по выпуску опытных образцов фиксируются в чек-листе. Работа металлообрабатывающего оборудования оценивается и фиксируется в соответствии с положением по проверке оборудования на соответствие требованиям по точности. Инициатором запуска опытных образцов деталей является цех и представитель ОГТ. В случае получения удовлетворительных результатов, оборудование принимается в эксплуатацию.

После оформления Акта ввода в эксплуатацию нового оборудования цехом-владельцем и присвоения оборудованию инвентарного номера бухгалтерией, ООО или ГОО включает данное оборудование в План- график технического обслуживания и ремонта оборудования и в журнал учета оборудования на текущий год.

V. Планирование и проведение ТОиР, внеплановые ремонты

Планирование ТОиР осуществляется с учетом рекомендаций разработчика оборудования и общего времени работы единицы оборудования с момента её ввода в эксплуатацию.

Плановый ремонт оборудования осуществляется в соответствии с план-графиком на текущий год. Графики составляются руководителями ГОО и ООО в конце текущего года на следующий год, согласовываются с ПДО и утверждаются директором по производству в срок до 25 декабря года, предшествующего планируемому.

При составлении графиков необходимо учитывать случаи поломок оборудования, которые фиксируются в журнале внеплановых ремонтов оборудования и журнале приемки и сдачи смен, а также в электронном файле.

Необходимо проводить анализ поломки, выявить коренную причину, включая профилактику или принудительную замену вышедшей из строя детали в график ТОиР.

Перед началом работы персонал, эксплуатирующий оборудование, обязан проверить его исправность, выполнить работы по ежедневному обслуживанию оборудования. При выявлении несоответствий в работе оборудования, а также истечении сроков предусмотренных профилактических и ремонтных работ, обслуживающий персонал докладывает мастеру, данные факты регистрируются в журнале приемки и сдачи смен.

Контроль над ведением журнала приемки и сдачи смен, возлагается на сменного мастера.

Перед сдачей оборудования сменщику (при необходимости), а также в ремонт, или ‚на переналадку, обслуживающий персонал:

- производит очистку его от остатков стружки, металлической пыли и грязи, пластифицированного материала в процессе выгонки;

- снятие оснастки, удаление масла или смазочно-охлаждающих жидкостей, технологического сырья и материалов;

- организует перемещение из рабочей зоны изделия (годные, негодные) в специально отведенное в цехе место и сдает оборудование представителю ГОО для проведения работ.

После проведения работ по ТО и ремонту специалистами ГОО оборудование и рабочая зона должны передаваться представителям цеха по чистоте.

Внеплановые ремонты оборудования с анализом поломок фиксируются в Журнале внеплановых ремонтов оборудования. Для визуализации состояния оборудования в производстве имеются информационные стенды ежесменного обслуживания (ЕТО), заполнение которых регламентировано приложением П.1.

В случае аварии оборудования по вине цехового персонала инженером ГОО составляется Аварийный Акт. В зависимости от тяжести последствий аварии ремонт может производиться по методике текущего ремонта.

Отклонения от графика ТОиР, в виде исключения, допускаются только по письменному распоряжению Директора по производству.

Месячные графики ТОиР составляются ГОО до 25 числа месяца, предшествующего планируемому периоду. В форме графиков отражен обязательный состав работ по ТО.

При проведении текущего ремонта составляются дефектные ведомости, на основании которых определяются выявленные дефекты и неисправности, способы их устранения, а также уточняется потребность в материалах, запасных частях и ПКИ)

Эта информация заносится в электронный паспорт (приложение О)- данной единицы оборудования.

Независимо от того, кто осуществляет ремонт или переналадку оборудования (ремонт может осуществляться приглашенными специалистами из специализированных организаций) начальники цехов, руководители ГОО должны организовать проверку качества работы оборудования после ремонта/наладки путем пробного запуска (выпуска пробных образцов), результаты проверки фиксируются в чек-листе (ПИО).

При положительных результатах приемки оборудования после ТО или текущего ремонта, начальник цеха подписывает Отчет об исполнении ТОиР оборудования в соответствующей графе.

Акт о приемки оборудования из ТР оформляется после 72 часов работы его под нагрузкой.

На оборудование, входящее в графике ТОиР, на видном месте крепится бирка содержащая информацию: Инвентарный номер, ответственное лицо за проведение ТОиР, срок очередного обслуживания. (Срок определяется временным интервалом между текущими ремонтами в соответствии с графиком ТОиР).

VI. Планирование и закупка запасных частей

Учет запасных частей оборудования для проведения ТОиР и снижения простоев в межремонтный период, осуществляется руководителями ГОО и ООО в электронной форме.

Необходимый перечень покупных запасных частей определяется исходя из загруженности и количества единиц оборудования, из анализа частоты поломок оборудования и сроков поставки запасных частей.

Для обеспечения наличия необходимых запасных частей в соответствии с графиком ТОиРЗаместитель директора по производству, а также руководители ГОО и ООО в конце текущего года составляют план закупок запасных частей на следующий год.

На основании утвержденного плана закупок запасных частей руководители ГОО и ООО направляют заявки на приобретение запасных частей и расходных материалов в дирекцию по закупкам и логистике.

Изготовление запасных частей для оборудования силами РИУ производится на основании заявок руководителей ГОО и ООО, согласованных с Заместителем директора по производству.

VII. Обеспечение точности и стабильной работы оборудования

В целях обеспечения точности изготовления продукции в периоды между ТОиР, перед началом работ, наладчик проводит работы по наладке оборудования, с обязательным контролем качества «первой детали» со стороны наладчика. При положительных результатах наладчик передает данное оборудование оператору, для дальнейшей эксплуатации.

Контроль над своевременностью и качеством наладки осуществляется мастером цеха, технологом цеха и контролером ОТК.

VIII. Вывод оборудования из эксплуатации

В случае не востребованности оборудования, оно подлежит демонтажу (своими силами или силами приглашенных специалистов) и передаче сторонней организации или консервации в соответствии с условиями хранения.

Процес организует Заместитель директора по производству, либо Главный инженер.

После демонтажа технологического ‚ оборудования, главный технолог должен обеспечить актуализацию планировок цехов.

IX. План действий на случай непредвиденных обстоятельств

Ежегодно, до 15 февраля текущего года разрабатывается План действий на случай непредвиденных обстоятельств. В данном плане рассматриваются обстоятельства, возникновение которых может привести к невыполнению требований потребителя, а также предусматриваются действия направленные на устранение (уменьшение) рисков, связанных с данными обстоятельствами.

План утверждается директором по направлению, передается в БТД для размещения в сетевой папке.

Ежегодно, проводится актуализация плана, при необходимости он дорабатывается и передается в БТД.

 

5. Охрана труда и техника безопасности

Промплощадка свеклосахарного завода, проекты генпланов, зданий, сооружений и помещений основного производства, вспомогательных сооружений, общепромышленных объектов энергетики, водного хозяйства, сантехнических сооружений, транспорта должны отвечать требованиям техники безопасности и охраны труда общесоюзных строительных норм, ГОСТов системы стандартов безопасности труда и соответствующих ведомственных (по всем специальностям) норм и правил по безопасности труда и производственной санитарии, противопожарных требований норм проектирования, а также отраслевых стандартов, норм, правил, инструкций, ОСТ 18-383-81, ОСТ 27-31-429-79, ОСТ 18-364-81, ГОСТ 12.1.004-85, СНиП 2.01.02-85, а также:

- Типовых правил пожарной безопасности для промышленных предприятий;

- Правил по технике безопасности и производственной санитарии в сахарной промышленности;

- Инструкции по пожарной безопасности предприятий сахарной промышленности;

- Санитарных норм проектирования промышленных предприятий

- Указаний по безопасной эксплуатации сушильных отделений и складов бестарного хранения сахара-песка;

- Инструкции по безопасной эксплуатации жомосушильных отделений;

- Каталога средств защиты, работающих в сахарной промышленности и прочих действующих документов.

Категорию производства по взрывопожарной опасности и классы помещений (в соответствии с правилами устройства электроустановок - ПУЭ) по взрывопожарной и пожарной опасности, по влажности, температуре, пылеобразованию и в отношении поражения электрическим током принимать согласно «Инструкции по пожарной безопасности предприятий сахарной промышленности» и в соответствии с «Классификацией зданий и помещений сахарной промышленности по степени взрывопожарной и пожарной опасности».

Размещение оборудования производственных цехов, проходы и расстояния между оборудованием должны отвечать требованиям ОСТ 18-383-81.

Выбор, разработка, компоновка технологического оборудования и конструкций для его обслуживания должны выполняться согласно требований ГОСТ 12.2.003-74, ГОСТ 12.2.022-80, ГОСТ 12.2.049-80, ГОСТ 21753-76, ГОСТ 22613-77, ГОСТ 22614-77, ГОСТ 22615-77, ОСТ 18-383-81, ОСТ 18-384-81, ОСТ 26.291-84, ГОСТ 12.2.032-78, ГОСТ 12.2.033-78 и «Монтажно-технологических требований к проектированию промышленных предприятий» Минмонтажспецстроя СССР.

Выбор конструкции и размещение конвейеров для перемещения грузов должны производиться в соответствии с требованиями ГОСТ 12.2.022-80.

Технологическое оборудование с пылевыделениями должно быть оборудовано системой аспирации, обеспечивающей снижение запыленности воздуха в помещении до значений, указанных в ГОСТ 12.1.005-88, ОСТ 18-384-81 и ОСТ 18-383-81.

Вентиляция и отопление проектируемых производственных и вспомогательных помещений должны отвечать требованиям СНиП 2.04.05-86, СН 245-74, ГОСТ 12.4.021-75, ОСТ 18-383-81, ОСТ 18-384-81 и обеспечивать в обслуживаемых помещениях и рабочих зонах оптимальные температуру, влажность, подвижность воздуха в соответствии с ГОСТ 12.1.005-88.

Рабочие места у аппаратов со значительными тепловыделениями (вакуум-аппараты, центрифуги, выпарные аппараты, жомосушильные аппараты и пр.) должны быть оборудованы средствами защиты работающих от перегревания (экраны, душирование охлажденным воздухом и прочее).Уровни звукового давления на рабочих местах проектируемых предприятий в третьоктавных полосах частот не должны превышать значений, установленных ГОСТ 12.1.003-76.

Уровни вибраций на рабочих местах не должны превышать значений, допустимых по ГОСТ 12.1.012-78.

Меры защиты от шума и вибраций принимать в соответствии с ОСТ 18-384-81 и «Рекомендациями по снижению производственного шума и вибраций на сахарных заводах» ВНИИСПа и СНиП 11-12-77.

Все электроустановки всех напряжений должны проектироваться в соответствии с «Правилами устройства электроустановок», «Правилами техники безопасности и эксплуатации электроустановок потребителей» и «Правилами технической эксплуатации электроустановок потребителей», СН 357-77.

Освещенность рабочих мест должна отвечать требованиям ОСТ 18-384-81, СНиП II-4-79.

Проектирование металлических конструкций, каркасов, установок оборудования и аппаратуры, продуктопроводов, конвейеров, металлических конструкций кровель, бункеров, сливных баков горючих жидкостей, цистерн и трубопроводов, всех помещений и оборудования склада бестарного хранения сахара-песка и прочих установок, где может происходить накопление статического электричества, производить в соответствии с требованиями «Правил защиты от статического электричества в сахарной промышленности».

Здания и сооружения или их части в зависимости от назначения, интенсивности грозовой деятельности в районе строительства должны быть защищены в соответствии с категориями устройства молниезащиты и типом зоны защиты, приведенными в «Инструкции по устройству молниезащиты зданий и сооружений», «Правилами по технике безопасности и производственной санитарии в сахарной промышленности».

Проектирование автоматической пожарной и охранной сигнализации, а также автоматических установок пожаротушения производить согласно СНиП 2.04.09-84, «Рекомендаций по выбору и применению технических средств пожарной и охранно-пожарной сигнализации» ВНИИПО МВД СССР, «Перечня зданий и помещений агропромышленного комплекса, подлежащих оборудованию автоматической пожарной сигнализацией и автоматическими установками пожаротушения» (1990 г.) и «Перечня предприятий, зданий и помещений Госагропрома СССР, подлежащих оборудованию автоматической охранной сигнализацией».

Оборудование автоматической пожарной сигнализацией и пожаротушением общепромышленных объектов (ТЭЦ, компрессорные, зарядные станции и т.п.) производить по соответствующим нормам и правилам. Проектирование охраны сахарных заводов производить согласно требованиям заключения межведомственной комиссии, состоящей из представителей заказчика и вневедомственной охраны при органах внутренних дел, определяющим вид охраны, ее численность и потребность в технических средствах.

Производственные и вспомогательные помещения должны быть оборудованы первичными средствами пожаротушения в соответствии с «Типовыми правилами пожарной безопасности для промышленных предприятий» и «Инструкцией по пожарной безопасности для предприятий сахарной промышленности».

Потребность в технических средствах охраны и средствах пожаротушения для охраняемых объектов должна быть определена межведомственной комиссией, состоящей из представителей вневедомственной охраны при органах внутренних дел, государственного надзора и администрации сахарного завода или заказчика.

Заключение

В процессе выполнения курсовой работы были изучены теоретические основы производства сахара - песка; произведен литературный обзор по теме производство сахара - песка; рассмотрена характеристика сырья и готовой продукции; рассчитан материальный баланс, а также произведен подбор оборудования.

СПИСОК ИСПОЛЬЗУЕМОЙ ЛИТЕРАТУРЫ

 

1. Сапронов А.Р., Сапронова Л.А. Технология сахара - песка и сахара рафинада / А.Р. Сапронов, Л.А. Сапронова. М.: Колос, 1996. 367 с. 

2. Силин П.М. Технология сахара / П.М. Силин. М.: Пищевая промышленность, 1967. 625 с.

3. Петрушевский В.В. Производство сахаристых веществ / В.В. Петрушевский, Е.Г. Бондарь, Е.В. Винокурова. К.: Урожай, 1989. 168 с.

4. Бугаенко И.Ф. Основы сахарного производства / И.Ф. Бугаенко. М.: Международная сахарная компания, 2002. 332 с.

5. Колесников Н.В. Хранение и использование свекловичного жома. Химический состав жома / Н.В. Колесников. М.: Россельхозиздат, 1980. 155 с.

6. Личко М. Технология переработки продукции растениеводства / Н.М. Личко. М.: КолосС, 2008. 616 с.

7. Бугаенко И.Ф. Повышение эффективности и использования извести при очистке диффузионного сока / И.Ф. Бугаенко, М.В. Якубсон. М.: Хранение и переработка с. - х. сырья, 1998. с. 20.

8. Бугаенко И.Ф. Влияние гидроокиси кальция на образование красящих веществ при известковой очистке / И.Ф. Бугаенко, М. Мухамед. М.: Сахарная промышленность, 1972. с. 14 - 16

9. Сапронов А.Р. Технология сахарного производства / А.Р. Сапронов. М.: Колос, 1999. 495 с.

10. Антоновский В.Н. Влияние некоторых факторов на процесс кристаллизации сахарных утфелей / В.Н. Антоновский, В.В. Спичак, В.О. Штангеев, Л.И. Тредин. М.: Сахарная свекла - производство и переработка, 1990. с. 31 - 33

11. Гулый И.С. Непрерывная варка и кристаллизация сахара / И.С. Гулый. М.: Пищевая промышленность, 1976. 268 с.

12. Антипов С.Т. Машины и аппараты пищевых производств, Книга 2 / С.Т. Антипов, И.Т. Кретов, А.Н. Остриков, В.А. Панфилов, О.А. Ураков. М.: Высшая школа, 2001. 680 с.

13. ГОСТ Р 52647-2006 «Свекла сахарная. Технические условия». М.: Издательство стандартов, 2006. 10 с.

14. ТУ 10 РФ-1055-92. Известняк технологический для нужд сахарной промышленности.

15. ТУ - 2484-002-0164143149-2009.

16. ГОСТ 127-64 «Сера молотая». М.:Издательство стандартов, 1964. 7с.

17. ГОСТ 2874-82 «Вода питьевая.Гигиенические требования и контроль за качеством» - М.: Издательство стандартов, 1982. 4 с.

18. ГОСТ 6309-87. «Нитки хлопчатобумажные швейные. Технические условия». М.: Издательство стандартов, 1987. 10 с.

19. ГОСТ 2226-88. «Мешки бумажные. Технические условия». М.: Издательство стандартов, 1988. 7 с.

20. ГОСТ 21-94 Сахар-песок. Технические условия. М.: Издательство стандартов, 2002. 13 с.

21. Востоков А.И., Демчинский Ф.А., Епишина А.С. и др. Справочник химика. М.: Главполиграфпром, 1965. 677 с.

22. Церковный Я.Л. Машины, оборудование, приборы и средства автоматизации для перерабатывающей отрасли АПК / Церковный Я.Л. М.: Агропромиздат, 1990. 235 с.

23. Федеральное государственное бюджетное учреждение федеральный институт промышленной собственности [Электронный ресурс] - Режим доступа: http://www1.fips.ru.

24. СанПиН 2.1.7.1322-03 «Гигиенические требования к размещению и обезвреживанию отходов производства и потребления». М.: Собрание законодательства Российской Федерации, 2003. 40 с