Добавить в корзинуПозвонить
Найти в Дзене
LENIVO

Однокаскадный одноламповый усилитель своими руками. Не всё так просто.

Одноламповый усилитель - вот оно - самое то для старта в ламповой теме, но не все так просто, вернее совсем всё не просто........ Ну например , очень трудно найти нужные лампы, да и заставить усилитель играть хорошо тоже очень трудно. Да в добавок ко всему мощности может не хватить, а усилитель ещё придирчив к акустике и к конструкционным деталям динамиков. Есть ли схемы, причем промышленные схемы, по одноламповой однокаскадной схемотехнике? Как не быть - есть, например, усилитель низкой частоты телевизора рекорд: Собрав несколько ламповых усилителей по разным схемам - в основном двухкаскадные однотактные усилители, решил попробовать спаять одноламповый усилитель. В чем видимые преимущества такого усилителя - нет межкаскадных конденсаторов, ДОЛЖНО получаться меньше деталей. В чем недостатки - это должна быть мощная лампа с хорошим усилением. Обычно сперва усиливают сигнал - усилитель напряжения, а затем вторым каскадом усиливают мощность(усилитель тока) - а тут все требуется совместить

Одноламповый усилитель - вот оно - самое то для старта в ламповой теме, но не все так просто, вернее совсем всё не просто........ Ну например , очень трудно найти нужные лампы, да и заставить усилитель играть хорошо тоже очень трудно. Да в добавок ко всему мощности может не хватить, а усилитель ещё придирчив к акустике и к конструкционным деталям динамиков.

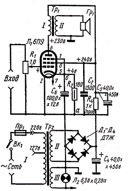
Есть ли схемы, причем промышленные схемы, по одноламповой однокаскадной схемотехнике? Как не быть - есть, например, усилитель низкой частоты телевизора рекорд:

-2

Собрав несколько ламповых усилителей по разным схемам - в основном двухкаскадные однотактные усилители, решил попробовать спаять одноламповый усилитель. В чем видимые преимущества такого усилителя - нет межкаскадных конденсаторов, ДОЛЖНО получаться меньше деталей. В чем недостатки - это должна быть мощная лампа с хорошим усилением. Обычно сперва усиливают сигнал - усилитель напряжения, а затем вторым каскадом усиливают мощность(усилитель тока) - а тут все требуется совместить в одной лампе. Паять ламповые усилители можно из дешёвых деталей, среднего качества и из деталей премиум качества. Стартуем на деталях самого, что ни есть дешевого сегмента - то что было в тумбочке (а в тумбочке есть детали и средние по цене, и очень дорогие).

Так как триод с высоким усилениям я не нашёл, то решил спять на пентоде или на тетроде- просто проверить концепцию.

Нашёл на АудиоПортале соответствующую ветку и схему

"Однотактный одноламповый. 6Э5П." - https://www.hi-fi.ru/audioportal/topic/2810-odnotaktnyy-odnolampovyy-6e5p/#comments

-3

Ну и спаял быстренько. Ничего заказывать не пришлось все было в наличии. Спаял, можно сказать, из хлама.

Силовой трансформатор от прибора , где стояло две лампы 6н1п, выходные трансформаторы от ретрансляционных колонок - они без зазора (что не допустимо для однотактных усилителей - сердечник намагнититься и трасформаторы перестанут работать). Поставил два дросселя по питанию - выпрямитель на полупроводниковом китайском диодном мосту.

Данный усилитель заиграл и вполне неплохо играл несколько минут , чтобы оценить потенциал схемы. Но жестяной корпус от компьютерного блока питания жестко вибрировал- магнитился к силовому трансформатору, лампы перегревались, силовой трансформатор оказался слишком маломощным и тоже немерено грелся. Короче , в принципе делать можно , но этот усилитель только на разбор.........

Заход в тему №2.

Усилитель на лампе 6П9, он же с перепайкой панельки на 6П15П.

За основу взял такую схему.

-5

Собрал на деталях достойного качества - звуковые трансформаторы от лампового приемника Телефункен (на таких же я собирал SE 6ж4п+6п43п), два дросселя по питанию, большой силовой трансформатор. Пять качественных немецких конденсаторов ROE . Карбоновые сопротивления Филипс.

Замена ламп 6П9 на 6П15П - происходит просто. Надо только перепаять панельки. Мне с лампами 6П15П понравилось больше, к тому же к этим лампам легко найти импортные аналоги иностранных фирм ТЕСЛА, ТЕЛЕФУНКЕН - это тип ламп EL83.

Этот усилитель вполне неплохо так раскачал напольные колонки на винтажных динамиках GOODMANS AXIOM 10 и выдал замечательное качество звука.

-7

Мне звук понравился так сильно , что я решил перебороть свою жабу и собрать усилитель на деталях высокого класса (а это значит неприлично дорогих).

Усилитель №3

Что значит детали высокого класса - Это силовой трансформатор и два дросселя по питанию от российского производителя "Золотая середина", Японские выходные звуковые трансформаторы Хошимото под акустику 4,8,16 ом, электролитические конденсаторы BLACK GATE серий WKZ, VK, NC. Неполярные конденсаторы WIMA black box. Сопротивления AMRG. Разъёмы CARDAS. Регулятор громкости Phizer.

Однако при такой дорогой начинке применён пластиковый корпус из поликарбоната - специально для снижения наводок и фона.

При наладке усилителя пробовал более 10 вариантов схемотехники менял параметры работы ламп и подбирал емкости, а также пробовал поставить стабилизаторы на вторую сетку. Менял типы не электролитических конденсаторов и подстраивал рабочую точку ламп. Плюс трансформаторы Хошимото имеют несколько отводов на первичной анодной обмотке - тоже пробовал разные варианты.

Но газовые стабилизаторы - СГ оказались очень шумными и качество работы усилителя с ними оказалось хуже , чем без них. Так что финальная конструкция усилителя обошлась без них.

Потом, когда сделал себе колонки на авторских динамиках от Олега Руллита, то понял , что колонки на английских динамиках GOODMANS AXIOM 10 не дотягивают до них по качеству звука. Поэтому решил делать качественные корпуса именно для динамиков от Олега Руллита. А GOODMANS AXIOM 10 во временных фанерных корпусах продал вместе с усилителем , выполненных на детялях среднего класса (усилитель №2) - на трансформаторах Телефункен и электролитах ROE. Комплект ушёл от меня менее, чем за неделю. И это меня обрадовало, так как не пришлось его тащить в новую квартиру.

Так как усилитель очень точно настраивался под конкретную акустику на динамиках GOODMANS AXIOM 10, то для акустики на динамиках от Олега Руллита был собран другой усилитель -SE c3m+EL86. И какое то время у меня были в наличии оба этих комплекта. Оба усилителя играют просто замечательно, но выяснилось что динамики GOODMANS AXIOM 10 - не имею ВИЗЕРА - рупорка на пятаке, а динамики от Олега Руллита такой рупорок имеют. Поэтому сказались и различия к тонкой настройке усилителей под акустику............. И точно настроенные усилители играли супер только с той акустикой ,под какую настраивались изначально. А если их поменять местами качество звука слышимо падало.

Как итог, скажу выход на качественный звук при одноламповой однокаскадной схеме занимает в четыре раза больше времени , чем при настройке усилителя по классической двухкаскадной схеме. А по деньгам выходит ни чуть не дешевле.

Вот такая у меня вышла эпопея с одноламповыми однотактными однокаскадными усилителями....

Статья, имеет обзорный характер, а если вдруг захотелось подробностей, то следует обратиться к материалам сайта АудиоПортал.

Всем удачи и хорошего звука