Найти в Дзене
ДЕНЕЖНЫЙ МЕШОК

Два россиянина сделали необычную печь для отопления своего дома и получили патент на полезную модель

Оглавление
Фото: pixabay.com
Фото: pixabay.com
Еще не успела закончиться календарная осень, а по факту, на большей части России, уже наступила настоящая зима.
И чем ниже опускается температура "за бортом", тем большее значение приобретает система отопления, ответственная за обогрев дома.

Между тем, по большей части, в русских деревнях народ продолжает отапливать свои дома, как и сто лет назад, самыми обычными печами.

Кто-то при этом использует классические печные конструкции, а кто-то не желает довольствоваться классикой и в результате - изобретает собственные конструктивные решения.

Так, например, два российских изобретателя, Васильев Владимир Евгеньевич и Васильев Максим Владимирович, решили собрать печь собственной конструкции, с повышенным коэффициентом полезного действия, и создали оригинальную разработку, которую уже запатентовали в качестве полезной модели.

Полезная модель запатентована с названием "ПИРОЛИЗНАЯ ПЕЧЬ ВИХРЕВОГО ГОРЕНИЯ" (патент на ПМ № 200882).
Правообладатель по патенту - Васильев Владимир Евгеньевич.

Вот как, согласно патентной документации, выглядит схематически запатентованная печь (общий вид):

© Васильев Владимир Евгеньевич и Васильев Максим Владимирович, ПМ - 200882.
© Васильев Владимир Евгеньевич и Васильев Максим Владимирович, ПМ - 200882.

А так выглядит данная печь в разрезе (вид спереди):

© Васильев Владимир Евгеньевич и Васильев Максим Владимирович, ПМ - 200882.
© Васильев Владимир Евгеньевич и Васильев Максим Владимирович, ПМ - 200882.

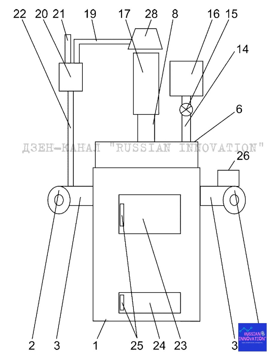
На схеме ниже показан также вид сверху:

© Васильев Владимир Евгеньевич и Васильев Максим Владимирович, ПМ - 200882.
© Васильев Владимир Евгеньевич и Васильев Максим Владимирович, ПМ - 200882.
Характерной особенностью печи является, прежде всего, наличие в верхней части корпуса двух воздуховодов с радиальными вентиляторами (см. поз. 2 на схеме), которые обеспечивают создание вихревых потоков воздуха.
Кроме того, вертикально по центру печи расположена металлическая труба отвода с множеством горизонтальных вырезов (см. поз. 4 на схеме).
Помимо прочего, печь оснащена озонатором, подключенным к смесительной камере (см. поз. 20 на схеме).

По утверждению авторов полезной модели, предложенная конструкция печи позволяет обеспечить высокий коэффициент полезного действия за счет полного сжигания не только твердого топлива, но и газов, образованных от сжигания топлива. Это происходит благодаря активному окислению топлива воздухом, принудительно нагнетаемым вентиляторами в систему.

По-моему, немного замудренная, но при этом весьма интересная конструкция получилась у российских изобретателей.

А как вы считаете?

Ознакомиться подробнее с техническими характеристиками данной полезной модели вы можете здесь.

Спасибо за лайк и подписку на канал!

#печи #отопление #обогрев #тепло #деревни

Печи
176,1 тыс интересуются