Добавить в корзинуПозвонить
Найти в Дзене
mr. Ueff

Ещё одно незабываемое направление в нашей радиолюбительской деятельности - звуковые имитаторы и музыкальные звонки.

Фото в свободном доступе.
Далеко не все из нас начинали свою деятельность с детекторных приёмников. Очень многих интересовали всякого рода электронные свистелки. Чаще всего, их использовали в качестве электронных дверных звонков, реже звонков для телефонного аппарата, ещё реже в качестве электронной игрушки. Так, например, чтобы порадовать младшую сестрёнку или братишку, многие встраивали
Фото в свободном доступе.
Фото в свободном доступе.

Далеко не все из нас начинали свою деятельность с детекторных приёмников. Очень многих интересовали всякого рода электронные свистелки. Чаще всего, их использовали в качестве электронных дверных звонков, реже звонков для телефонного аппарата, ещё реже в качестве электронной игрушки. Так, например, чтобы порадовать младшую сестрёнку или братишку, многие встраивали имитатор пения соловья в игрушечную птицу. Восторг у ребёнка был неописуемый. Популярность подобных схем обуславливалась, на мой взгляд, простотой конструкции, несмотря на сравнительно большое количество радиодеталей. Чаще всего это был набор из нескольких мультивибраторов. Так схема электронного соловья выглядела как на схеме ниже.

Картинка в свободном доступе.
Картинка в свободном доступе.

В принципе всё просто, да и наладки схема не требовала. А для звонка на телефон, "соловей" был ещё проще.

Картинка в свободном доступе.
Картинка в свободном доступе.

А вообще, первая схема, была просто кладезем для творчества начинающего радиолюбителя. Простым подбором конденсаторов её можно было заставить хрюкать, например.

Картинка в свободном доступе.
Картинка в свободном доступе.

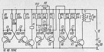
А вот с лаем собаки дело обстояло несколько иначе, хотя тоже незамысловато. Поскольку детишки любили плюшевых собачек, такой имитатор был просто незаменим в подобных игрушках. Многие начинающие и даже опытные радиолюбители прибегали к конструированию и более сложных звуковых схем, прибежал к этому и я, в своё время. Меня не устраивало простое хрюканье, лай и соловьиные трели. Мне хотелось воспроизвести музыкальный фрагмент. Схему я изобретать не стал, их к тому времени в периодике было достаточное количество. Выбрал я ту, что на схеме ниже.

Картинка в свободном доступе.
Картинка в свободном доступе.

Ничего трудного, казалось бы, крути подстроечники и получай любой музыкальный фрагмент. Но всё было не так просто. Дело в том, что музыкальный слух у меня отсутствует чуть более чем полностью и настроить генератор на слух, как вы понимаете, я не мог. Тогда был выбран самый сложный и самый надёжный способ. Я нашёл точные частоты всех семи нот первой октавы и полутонов к ним в каком то журнале. Потом знакомый музыкант расписал мне фрагмент "чижика-пыжика" по нотам. Далее было дело техники, я просто с помощью частотомера выставил частоты каждого звука. Эффект был потрясающий, фрагмент звучал идеально. К сожалению это была моя единственная электромузыкальная конструкция, радиосвязь на КВ поглотила меня полностью.