Добавить в корзинуПозвонить
Найти в Дзене
www1.ru

Воронежские инженеры создали ДВС с регулируемой степенью сжатия и составным поршнем

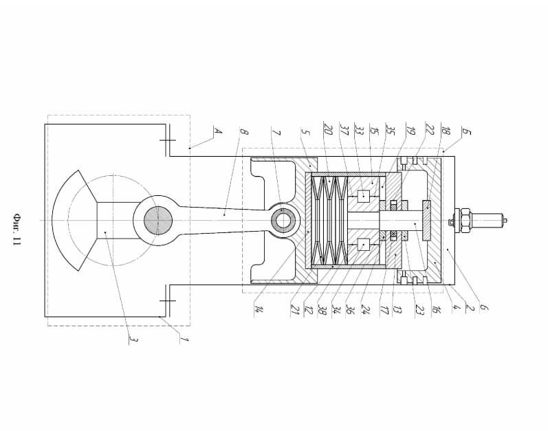
Воронежский государственный аграрный университет имени императора Петра I запатентовал двигатель внутреннего сгорания (ДВС) с автоматической регулировкой степени сжатия. Необычное решение нацелено на снижение массы и габаритов двигателя при одновременном росте надёжности и ресурса, снижение расхода топлива и повышение долговечности узлов. Конструкция инженеров использует составной поршень из двух частей. Верхняя часть воспринимает давление газов, нижняя связана с коленчатым валом через шатун или альтернативный механизм. Между ними встроили гидравлическую систему с двумя масляными камерами и поршнем, который меняет их объём в процессе работы. Регулировка степени сжатия происходит автоматически за счёт перемещения верхней части поршня. За это отвечают два обратных клапана — высокого и низкого давления — и блок упругих элементов в виде тарельчатых пружин. Они работают с предварительным натягом и обеспечивают стабильную реакцию на нагрузку. Минимальная и максимальная степень сжатия задаютс

Воронежский государственный аграрный университет имени императора Петра I запатентовал двигатель внутреннего сгорания (ДВС) с автоматической регулировкой степени сжатия. Необычное решение нацелено на снижение массы и габаритов двигателя при одновременном росте надёжности и ресурса, снижение расхода топлива и повышение долговечности узлов.

Конструкция инженеров использует составной поршень из двух частей. Верхняя часть воспринимает давление газов, нижняя связана с коленчатым валом через шатун или альтернативный механизм.

Между ними встроили гидравлическую систему с двумя масляными камерами и поршнем, который меняет их объём в процессе работы.

-2

Регулировка степени сжатия происходит автоматически за счёт перемещения верхней части поршня. За это отвечают два обратных клапана — высокого и низкого давления — и блок упругих элементов в виде тарельчатых пружин. Они работают с предварительным натягом и обеспечивают стабильную реакцию на нагрузку.

Минимальная и максимальная степень сжатия задаются калиброванными кольцами. Давление в системе достигает 0,15–0,25 МПа, что позволяет использовать компактный гидроаккумулятор.

Читайте ещё материалы по теме: