Добавить в корзинуПозвонить
Найти в Дзене
www1.ru

Корабль ныряет при пуске: в России придумали новый способ старта крылатых ракет

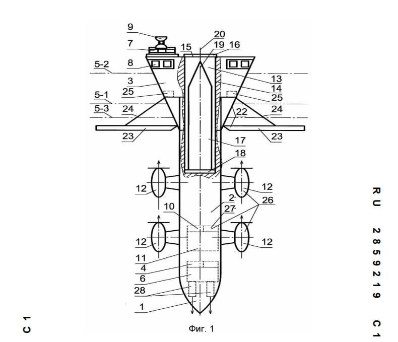
Петербургский инженер Олег Арефин разработал необычную схему запуска ракет с надводного корабля. При старте корпус судна частично погружается в воду, компенсируя импульс и стабилизируя полёт ракеты. В классических установках основная нагрузка от пуска передаётся корпусу, из-за чего требуется крупное водоизмещение. Новая схема решает проблему за счёт гидродинамики: часть энергии уходит в движение корпуса вниз. Перед пуском корабль переводится в почти вертикальное положение. В момент старта он уходит в воду, действуя как демпфер. Дополнительно используются водомёты и винторулевые устройства, которые создают направленную тягу и удерживают устойчивость. По описанию патента, такой подход позволяет запускать тяжёлые ракеты даже при волнении моря, не увеличивая размеры носителя. Проект также допускает размещение нескольких пусковых установок и сборку многоступенчатых ракет прямо на борту. Это упрощает подготовку и даёт гибкость в выборе конфигурации. В результате надводные корабли могут получ

Петербургский инженер Олег Арефин разработал необычную схему запуска ракет с надводного корабля. При старте корпус судна частично погружается в воду, компенсируя импульс и стабилизируя полёт ракеты.

В классических установках основная нагрузка от пуска передаётся корпусу, из-за чего требуется крупное водоизмещение. Новая схема решает проблему за счёт гидродинамики: часть энергии уходит в движение корпуса вниз.

Перед пуском корабль переводится в почти вертикальное положение. В момент старта он уходит в воду, действуя как демпфер. Дополнительно используются водомёты и винторулевые устройства, которые создают направленную тягу и удерживают устойчивость.

-2

По описанию патента, такой подход позволяет запускать тяжёлые ракеты даже при волнении моря, не увеличивая размеры носителя.

Проект также допускает размещение нескольких пусковых установок и сборку многоступенчатых ракет прямо на борту. Это упрощает подготовку и даёт гибкость в выборе конфигурации.

В результате надводные корабли могут получить возможности, которые раньше требовали подводных носителей, — без перехода к более сложным и дорогим решениям.

Читать ещё материалы по теме: