Добавить в корзинуПозвонить
Найти в Дзене
Старый радио любитель

Л.Р. Диод в качестве коммутатора ВЧ.

В комментариях к статье "Возвращаясь к напечатанному. Система АРУ из приемника "Карпаты"." возник интересный вопрос: Читатели подняли интересный вопрос: как происходит передача ВЧ сигнала через диоды? Ведь правильно пишет Алексей: диод работает как детектор. И это верно в случае, если через диод не течет постоянный ток смещения. А вот если постоянный ток смещения имеет место, то все процессы текут по другому. Если смещение прямое, то лучше начинают детектироваться сигналы с малым уровнем. Этот факт часто применяли в приемниках прямого усиления. Если имеется обратное смещение диода, то требуется бОльший уровень сигнала для начала детектирования. Соберем простую схему: В показанном на схеме положении переключателя на диод подается прямое смещение, а в другом - обратное. На вход я подавал сигнал синусоидальной формы от цифрового генератора, а к выходу - осциллограф. При отсутствии смещения картина была такой: В качестве диода использовался 1N6263. Вверху - сигнал на выходе, внизу - на

В комментариях к статье "Возвращаясь к напечатанному. Система АРУ из приемника "Карпаты"." возник интересный вопрос:

Рис. 1.
Рис. 1.

Читатели подняли интересный вопрос: как происходит передача ВЧ сигнала через диоды? Ведь правильно пишет Алексей: диод работает как детектор. И это верно в случае, если через диод не течет постоянный ток смещения. А вот если постоянный ток смещения имеет место, то все процессы текут по другому. Если смещение прямое, то лучше начинают детектироваться сигналы с малым уровнем. Этот факт часто применяли в приемниках прямого усиления. Если имеется обратное смещение диода, то требуется бОльший уровень сигнала для начала детектирования.

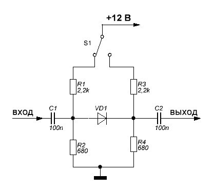
Соберем простую схему:

Рис. 2
Рис. 2

В показанном на схеме положении переключателя на диод подается прямое смещение, а в другом - обратное.

Рис. 3.
Рис. 3.

На вход я подавал сигнал синусоидальной формы от цифрового генератора, а к выходу - осциллограф.

При отсутствии смещения картина была такой:

Рис. 4.
Рис. 4.

В качестве диода использовался 1N6263. Вверху - сигнал на выходе, внизу - на входе. Сигнал просачивается через диод, его форма искажается, Никакого намека на теоретическую картинку.

Рис. 5.
Рис. 5.

Подключаю напряжение 12 В, смещение включено.

Рис. 6.
Рис. 6.

Как видите, при открытом диоде сигнал проходит через него практически без потерь и искажений. Переключаю смещение на обратное.

Рис. 7.
Рис. 7.

Диод закрыт, потери сигнала почти 20 дБ, но он все равно просачивается. Почему? Закрытый диод представляет собой конденсатор (вспомните варикапы), вот через эту емкость и просачивается сигнал. Отсюда вывод: чем меньше емкость диода, тем меньше просачивается сигнал.

Т.е. мы можем предсказать, как поведет себя диод, если он полностью открыт или полностью закрыт. Именно это свойство и используется в диодных переключателях ВЧ-сигналов. Следует также иметь в виду, что передача ВЧ-сигнала через h-n переход без искажений, не усложняя схему возможна только при небольшой его величине (уж точно, менее 1 В).

Одним из самых известных у нас примером использования переключающих диодов была схема коммутации ПДФ в трансивере "Радио 77", опубликованная в журнале Радио №11 за 1977 год.

Рис. 8. Из журнала Радио №11 1977 год
Рис. 8. Из журнала Радио №11 1977 год

В зарубежных трансиверах диодная коммутация применялась и применяется очень широко. Вот часть схемы моего FT857 (коммутация фильтров).

Рис. 9. Из FT857 SERVICE MANUAL
Рис. 9. Из FT857 SERVICE MANUAL

Или коммутатор диапазонных ФНЧ трансивера IC-7200.

Рис. 10. Из IC-7200 SERVICE MANUAL
Рис. 10. Из IC-7200 SERVICE MANUAL

Я решил проверить, как работают в таком режиме переключающие диоды. Для этого использовал NfnoVNA, подключив ее к входу и выходу схемы рис. 2. Вот результаты:.

Начал с отечественного pin-диода КД409.

Рис. 11.
Рис. 11.

Потери в открытом состоянии около 1, дБ.

Рис. 12.
Рис. 12.

А в закрытом состоянии четко видна частотная зависимость: чем выше частота, тем меньше затухание, тем больше проникновение сигнала через закрытый p-n переход.

Следующим был КД503, который использовался в "Радио-77"

Рис. 13.
Рис. 13.

В открытом состоянии потери в два раза выше. чем у КД409.

Рис. 14.
Рис. 14.

А в закрытом состоянии затухание больше, чем у КД409.

У высокочастотного диода с барьером Шоттки 1N60 картина такая:

Рис. 15.
Рис. 15.
Рис. 16.
Рис. 16.

Затухание в закрытом состоянии , увы, небольшое.

Распространенный быстрый кремниевый 1N4148 показал результаты похожие на наш КД503.

Рис. 17.
Рис. 17.
Рис. 18.
Рис. 18.

Прямое затухание великовато, а вот обратное отличное: на частоте 21 МГц - около 100 раз (40 дБ)

Попробовал я и обычный выпрямительный диод с барьером Шоттки UF4005.

Рис. 19
Рис. 19
Рис. 20.
Рис. 20.

Оказалось, что прямому затуханию он уступает только КД409, а вот из-за большой емкости затухание в открытом состоянии невелико.

А какие же диоды применяются в импортных трансиверах? В IC-7200 используется 1SV308. Он позиционируется как переключающий диод УКВ-диапазона, вот его характеристики:

Рис. 21. Из datasheet 1SV308
Рис. 21. Из datasheet 1SV308

Прямое сопротивление всего около 1 Ом, а обратная емкость - менее 0,5 пФ! В моем FT857 используются диоды DAP236U.

Рис. 22. Из datasheet DAP236U
Рис. 22. Из datasheet DAP236U

Емкость у них почти в три раза больше, а вот прямое сопротивление

Сравним с КД409.

Рис. 23. Из даташита КД409 https://eandc.ru/pdf/diod/kd409a.pdf
Рис. 23. Из даташита КД409 https://eandc.ru/pdf/diod/kd409a.pdf

Кстати, у 1N4148 обратная емкость 4 пФ.

Вот такая информация к размышлению.

Всем здоровья и успехов!