Добавить в корзинуПозвонить
Найти в Дзене
RADIO INFO

Чем занимались и что собирали зарубежные радиолюбители в начале 70-х годах прошлого века. 4 часть

Добрый день дорогие друзья. Я в свободное время периодически просматриваю зарубежные радиолюбительские журналы, делаю скриншоты наиболее интересных статей, а потом эти журналы удаляю из своего архива, чтобы больше в них не рыться. На моем канале уже были публикации: «Чем занимались и что собирали зарубежные радиолюбители в 60-х годах прошлого века», позже вышла 2 часть, 3 часть и 4 часть, и далее вышла публикация «Чем занимались и что собирали зарубежные радиолюбители в 70-х годах прошлого века» и продолжение к ней 2 часть и 3 часть, и по многочисленным просьбам моих читателей в комментариях к этим статьям, сегодня выйдет продолжение публикаций, чем занимались и что собирали зарубежные радиолюбители в начале 70-х годах прошлого века на примере болгарского журнала «Радио и телевизия» за 1976 г. Скажу честно, что наш журнал «Радио» в то время был более интересен и содержателен, и очень много статей и схем с него болгары копировали и публиковали в своем журнале. Качество сканов этого

Добрый день дорогие друзья.

Я в свободное время периодически просматриваю зарубежные радиолюбительские журналы, делаю скриншоты наиболее интересных статей, а потом эти журналы удаляю из своего архива, чтобы больше в них не рыться. На моем канале уже были публикации: «Чем занимались и что собирали зарубежные радиолюбители в 60-х годах прошлого века», позже вышла 2 часть, 3 часть и 4 часть, и далее вышла публикация «Чем занимались и что собирали зарубежные радиолюбители в 70-х годах прошлого века» и продолжение к ней 2 часть и 3 часть, и по многочисленным просьбам моих читателей в комментариях к этим статьям, сегодня выйдет продолжение публикаций, чем занимались и что собирали зарубежные радиолюбители в начале 70-х годах прошлого века на примере болгарского журнала «Радио и телевизия» за 1976 г. Скажу честно, что наш журнал «Радио» в то время был более интересен и содержателен, и очень много статей и схем с него болгары копировали и публиковали в своем журнале. Качество сканов этого журнала желает быть лучше, поэтому скриншоты я сделал с большим разрешением, и при их просмотре кликайте по ним, чтобы увеличить изображение.

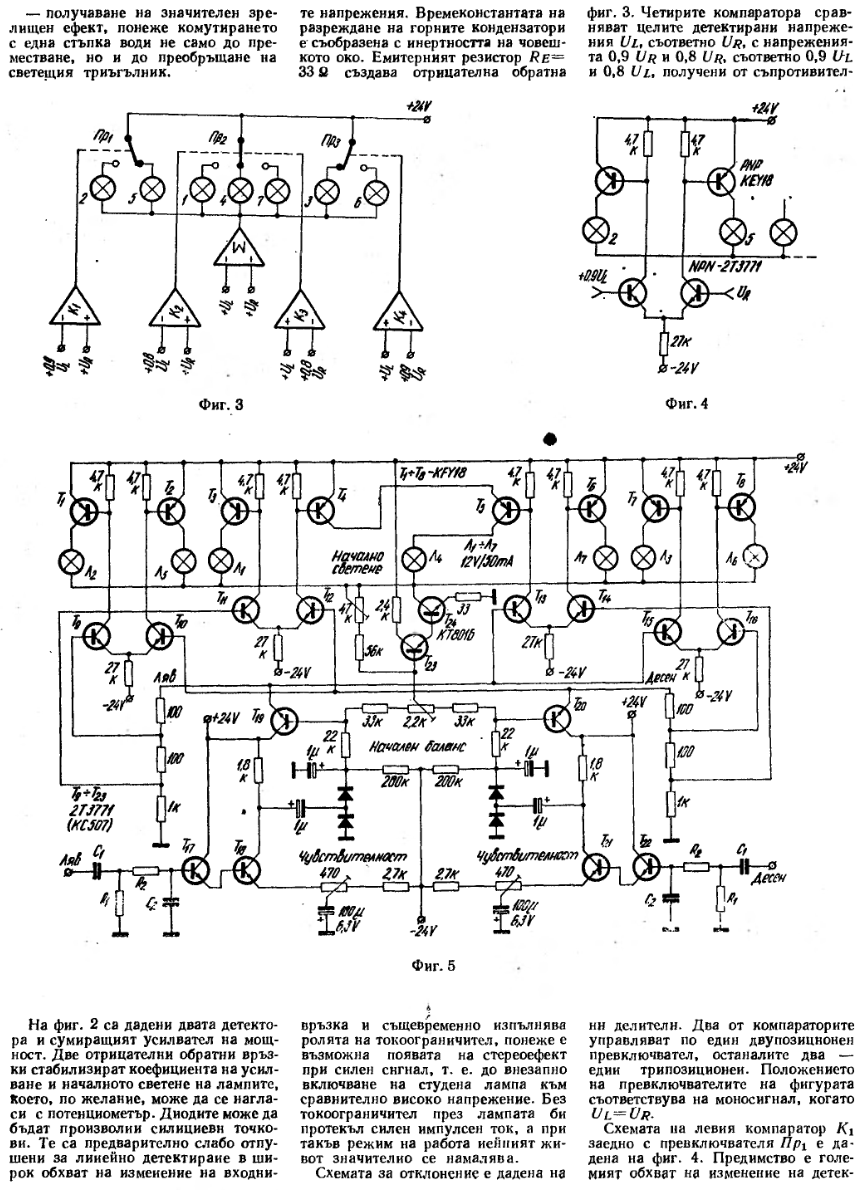
Начнем наш обзор с одной из самых популярных тем у радиолюбителей того времени – цветомузыки.

-2
-3

Многие измерительные приборы, и в особенности простые, радиолюбители разрабатывали собирали самостоятельно, и делились об этом журнале.

-4

Далее хочу представить Вашему статью с описанием цифровых часов на ТТЛ логике. У автора конструкции по всей видимости тогда не было часового кварца, а возможно он о них даже и не знал, поэтому задающий генератор собран на кварце 1Мгц, что в некоторой степени усложняет конструкцию

-5
-6
-7

Очень нужное всем радиолюбителям устройство – регулятор температуры паяльника. И где то я подобное видел и даже собирал.

-8

Еще один пробник, но только на ТТЛ логике.

-9

Приводится описание различных вариантов применения таймера NE555, у нас в то время про них мало что знали, и я лично их не встречал нигде.

-10
-11
-12

Еще одна цветомузыка

-13
-14

Продолжение в следующем журнале описаний вариантов применения таймера NE555

-15
-16
-17
-18
-19
-20

Приводится описание одного из вариантов простого транзисторного функционального генератора, тоже очень знакомая схема

-21
-22
-23

Очень интересный вариант генератора ступенчатого сигнала на болгарских гибридных микросхемах 1503 (двойной инвертор) и 1501 (тригер), я даже не знал что у них подобное было.

-24
-25

Приведены варианты построения RС генераторов на операционных усилителях

-26

На этом у нас сегодня все.
Рекомендую посмотреть
Подборку публикаций моего канала, где Вы найдете статьи по рассмотренной выше теме, и множество других материалов, которые могут быть Вам интересны и полезны.

Ставьте лайки, комментируйте, подписывайтесь и заходите на мой канал, есть много интересной и нужной информации для радиолюбителей