Добавить в корзинуПозвонить
Найти в Дзене
www1.ru

В России придумали способ резко уменьшить корабельный привод

В России зарегистрировали полезную модель «Судовая движительная установка», ориентированную на уменьшение габаритов корабельных приводов без потери мощности. Разработка относится к судостроению и предназначена для более плотного размещения движительных систем на борту. Конструкция включает корпус с верхним цилиндрическим отсеком, рулём и гондолой, внутри которых вертикально размещены приводные электродвигатели. Через блок контактных колец питание подаётся на моторы, вращение передаётся через цилиндрические и конические зубчатые передачи на два выходных вала с гребными винтами. Такая схема сохраняет мощность, но позволяет сократить диаметр верхнего отсека. Ключевое отличие — вертикальная компоновка чётного числа быстроходных электродвигателей. За счёт этого уменьшаются размеры узла по сравнению с традиционными горизонтальными схемами, что упрощает интеграцию установки в корпус судна. Решение повысит гибкость компоновки и эффективность размещения энергетического оборудования.
Оглавление

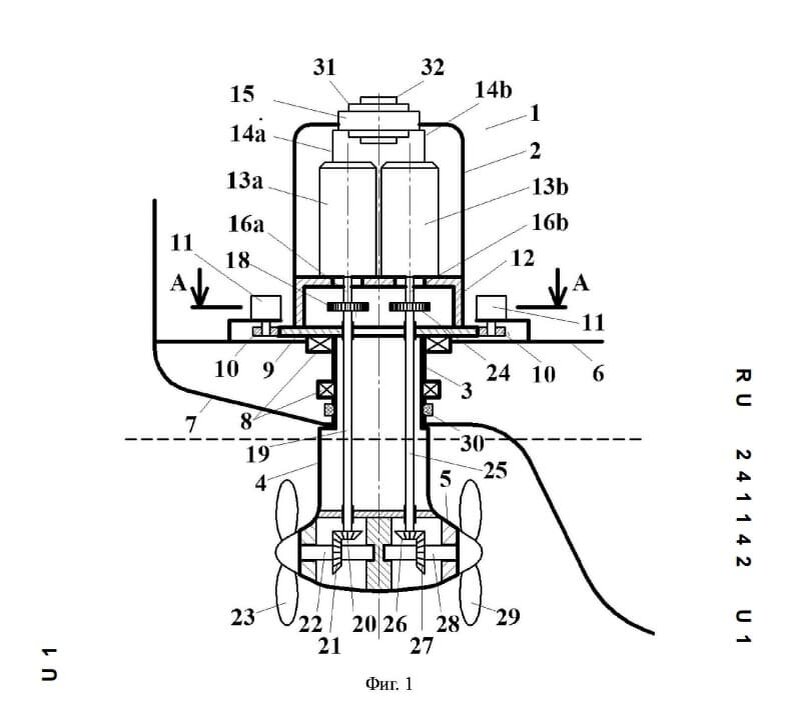
Новая судовая движительная установка снижает габариты без потери мощности благодаря вертикальной схеме электродвигателей

В России зарегистрировали полезную модель «Судовая движительная установка», ориентированную на уменьшение габаритов корабельных приводов без потери мощности. Разработка относится к судостроению и предназначена для более плотного размещения движительных систем на борту.

Конструкция включает корпус с верхним цилиндрическим отсеком, рулём и гондолой, внутри которых вертикально размещены приводные электродвигатели.

Через блок контактных колец питание подаётся на моторы, вращение передаётся через цилиндрические и конические зубчатые передачи на два выходных вала с гребными винтами. Такая схема сохраняет мощность, но позволяет сократить диаметр верхнего отсека.

-2

Ключевое отличие — вертикальная компоновка чётного числа быстроходных электродвигателей. За счёт этого уменьшаются размеры узла по сравнению с традиционными горизонтальными схемами, что упрощает интеграцию установки в корпус судна. Решение повысит гибкость компоновки и эффективность размещения энергетического оборудования.

Читать ещё материалы по теме: