Найти в Дзене

BMW отзывает более полумиллиона машин из-за угрозы возгорания

BMW отзывает более полумиллиона машин из-за угрозы возгорания Только в Германии намерены вернуть на заводы почти 30 тыс. экземпляров авто. Автоконцерн BMW инициировал глобальную отзывную кампанию, охватывающую несколько сотен тысяч автомобилей. Причина – выявленный дефект, способный привести к короткому замыканию и последующему возгоранию при запуске двигателя. Как сообщает Bild, только в Германии отзыву подлежат 28 582 машины. В мировом масштабе речь идет более чем о полумиллионе автомобилей. Специализированное издание kfz-Betrieb уточняет цифру – около 575 тыс. единиц. В BMW пока официально не подтвердили итоговое количество. Под кампанию попадают популярные модели: BMW 2 серии Coupe, различные модификации 3-й, 4-й и 5-й серий, 6-я серия Gran Turismo, 7-я Limousine, а также кроссоверы и внедорожники X4, X5, X6 и родстер Z4. Владельцам рекомендовано следить за официальными уведомлениями и оперативно посещать сервисные центры для устранения неисправности. Как ранее писал Times.by, BMW

BMW отзывает более полумиллиона машин из-за угрозы возгорания

 Автомобиль BMW. © azerbaijan_stockers, Freepik.com
Автомобиль BMW. © azerbaijan_stockers, Freepik.com

Только в Германии намерены вернуть на заводы почти 30 тыс. экземпляров авто.

Автоконцерн BMW инициировал глобальную отзывную кампанию, охватывающую несколько сотен тысяч автомобилей.

Причина – выявленный дефект, способный привести к короткому замыканию и последующему возгоранию при запуске двигателя.

Как сообщает Bild, только в Германии отзыву подлежат 28 582 машины. В мировом масштабе речь идет более чем о полумиллионе автомобилей. Специализированное издание kfz-Betrieb уточняет цифру – около 575 тыс. единиц. В BMW пока официально не подтвердили итоговое количество.

Под кампанию попадают популярные модели: BMW 2 серии Coupe, различные модификации 3-й, 4-й и 5-й серий, 6-я серия Gran Turismo, 7-я Limousine, а также кроссоверы и внедорожники X4, X5, X6 и родстер Z4.

Владельцам рекомендовано следить за официальными уведомлениями и оперативно посещать сервисные центры для устранения неисправности.

Болт на ремонт

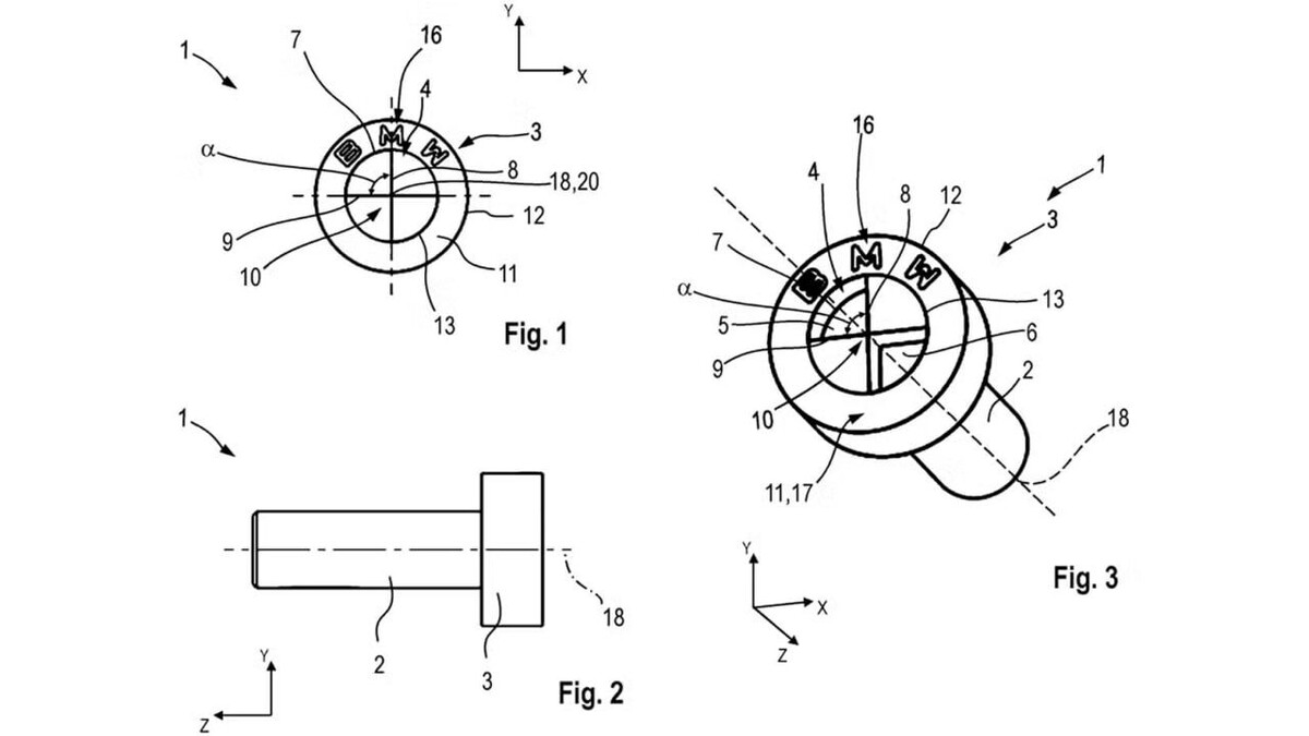
Как ранее писал Times.by, BMW подал патент на болты для своих машин в виде логотипа.

Как говорится на сайте патентного бюро, инновация призвана защитить конструкции автомобилей BMW. Компания поясняет, что классические болты широко распространены, а это значит, что они могут быть легко ослаблены или затянуты третьими лицами.

 © Patentscope
© Patentscope

Стандартный инструмент не будет подходить, а значит независимые автосервисы не смогут проводить ремонт. Как подмечают эксперты, доступ к креплениям в салоне и ключевых узлах вроде сидений и элементов кузова фактически получают только официальные дилеры.

Таким образом у владельцев BMW пропадет возможность проводить ремонт своими руками. Автопроизводители часто патентуют подобные технические решения, однако очень редко они добираются до сборочных линий.

Будет ли BMW использовать винты в виде своего логотипа – покажет время.

]]>