Найти в Дзене
HD-ARSENAL

Балансируя на грани: зачем Honda учит мотоцикл самому рулить? И нужно ли это нам?

Представьте: вы несётесь по трассе, ветер в лицо, полный контроль. И вдруг... руль сам делает лёгкое, но настойчивое движение, уводя вас от внезапно появившейся из слепой зоны машины. Спасибо или кошмар? Honda готова сделать второй сценарий реальностью и патентует систему авторуления для мотоциклов. Это звучит как идея, рождённая где-то между гениальным инженерным озарением и чистейшим безумием. С одной стороны — технологии, спасающие жизни. С другой — священный принцип: байк является прямым продолжением воли и тела пилота. Где проходит грань? Honda предлагает не автопилот, а активного электронного ангела-хранителя. Система следит за слепыми зонами с помощью камер и датчиков, анализируя траектории всех участников движения. Её реакция — многоуровневая: Инженеры Honda, разумеется, думают о безопасности: вмешательство обещают сделать плавным и постепенным, чтобы не дестабилизировать мотоцикл резким движением. Здесь начинается самая интересная часть дискуссии. Мотоцикл — это не машина.
Оглавление

Представьте: вы несётесь по трассе, ветер в лицо, полный контроль. И вдруг... руль сам делает лёгкое, но настойчивое движение, уводя вас от внезапно появившейся из слепой зоны машины. Спасибо или кошмар? Honda готова сделать второй сценарий реальностью и патентует систему авторуления для мотоциклов.

Это звучит как идея, рождённая где-то между гениальным инженерным озарением и чистейшим безумием. С одной стороны — технологии, спасающие жизни. С другой — священный принцип: байк является прямым продолжением воли и тела пилота. Где проходит грань?

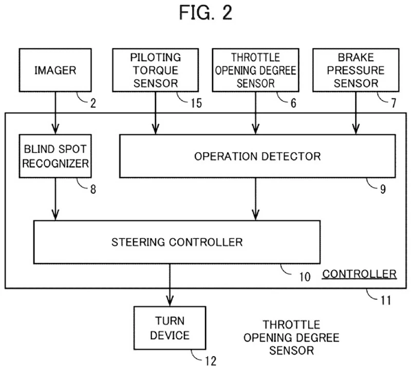
Как это (по версии патента) должно работать?

Honda предлагает не автопилот, а активного электронного ангела-хранителя. Система следит за слепыми зонами с помощью камер и датчиков, анализируя траектории всех участников движения.

Её реакция — многоуровневая:

  1. Предупреждение. Если система видит угрозу столкновения, она сначала предупредит водителя: звуком или светом.
  2. Ассистирование. Если пилот сам начинает предпринимать манёвр (руление, торможение), система подключится и усилит его действия, чтобы сделать уклонение более эффективным.
  3. Автоуправление. А вот это самый спорный момент. Если водитель проигнорировал警告 (предупреждение) и не реагирует, система сама начнёт аккуратно рулить, притормаживать или сбрасывать газ, чтобы избежать удара.

Инженеры Honda, разумеется, думают о безопасности: вмешательство обещают сделать плавным и постепенным, чтобы не дестабилизировать мотоцикл резким движением.

-2

Почему эта идея вызывает не только восторг, но и панику?

Здесь начинается самая интересная часть дискуссии. Мотоцикл — это не машина.

  • Физика двух колёс. Баланс, контрруление, перенос веса — это сложный танец, который байкер чувствует кожей. Вмешательство электроники в этот процесс на высокой скорости — всегда риск. Сможет ли алгоритм учесть наклон в повороте, состояние покрытия, порыв ветра?
  • Переменчивая реальность. На мотоцикле вы не едете в «коконе» из датчиков. Вы в прямом контакте со средой: ямы, гравий, лужи, внезапные манёвры других водителей. Сможет ли система обрабатывать этот хаос за микросекунды?
  • Философский вопрос. Если система будет работать безупречно... Не убьёт ли это часть души мотоцикла? Ведь многие ценят его именно за полную ответственность, за тот самый «аналоговый» опыт управления, где твои решения — это твоя судьба. Как шутит автор оригинального текста, есть своя честная прелесть в «Royal Enfield Himalayan, который тормозит, как тележка из супермаркета с большими амбициями».
-3

Итог: прогресс против страсти

Honda, как всегда, смотрит в будущее. Цель благородна — снизить количество аварий, особенно тех, где мотоциклист становится «невидимкой» для других водителей.

Но путь к этому будущему усеян вопросами, на которые нет лёгких ответов. Будем ли мы, байкеры, доверять электронике больше, чем собственным рефлексам? И не превратится ли в итоге мотоцикл из машины для свободы в очень быстрый, но слишком умный гаджет на колёсах?

Одно можно сказать точно: дебаты между адептами чистого катания и энтузиастами технического прогресса на этом только разгорятся. А первый тест-райд на таком «думающем» байке станет главным мотособытием десятилетия.

P.S. А вы как думаете? Это необходимый эволюционный шаг к безопасности или недопустимое вторжение в святое? Доверили бы вы свою жизнь на дороге такому ассистенту?