Найти в Дзене
NaAvtotrasse.ru - тот самый журнал

Porsche может вернуть рессоры в подвеску будущих 718 и 911: в сеть утекли патенты

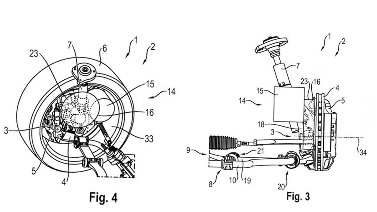
Немецкий бренд Porsche относится к тем производителям, которые редко идут по проторенной дорожке. Компания постоянно ставит перед инженерами задачи «со звездочкой», и делает это не ради эффекта, а ради результата: совместить высокий комфорт с настоящей спортивностью и точной управляемостью. Именно поэтому подвеска Panamera давно считается одной из самых изысканных в классе — и, как выясняется, она стала отправной точкой для новых идей. Читать на сайте: Porsche может вернуть рессоры в подвеску будущих 718 и 911: в сеть утекли патенты В описываемом подходе Porsche уходит от привычной схемы, где главную роль играют классические пружины. В седане их заменили решениями на базе амортизаторов, которые заметно отличаются от того, к чему привык массовый рынок. Более того, эта логика легла в основу подвески нового электрического Cayenne: там стабилизаторы поперечной устойчивости фактически «исчезли». Если другие бренды пытаются компенсировать крены электромоторами, которые двигают и «подпирают»
Оглавление

Немецкий бренд Porsche относится к тем производителям, которые редко идут по проторенной дорожке. Компания постоянно ставит перед инженерами задачи «со звездочкой», и делает это не ради эффекта, а ради результата: совместить высокий комфорт с настоящей спортивностью и точной управляемостью. Именно поэтому подвеска Panamera давно считается одной из самых изысканных в классе — и, как выясняется, она стала отправной точкой для новых идей.

Читать на сайте: Porsche может вернуть рессоры в подвеску будущих 718 и 911: в сеть утекли патенты

От амортизаторов «не как у всех» до отказа от стабилизаторов

В описываемом подходе Porsche уходит от привычной схемы, где главную роль играют классические пружины. В седане их заменили решениями на базе амортизаторов, которые заметно отличаются от того, к чему привык массовый рынок. Более того, эта логика легла в основу подвески нового электрического Cayenne: там стабилизаторы поперечной устойчивости фактически «исчезли». Если другие бренды пытаются компенсировать крены электромоторами, которые двигают и «подпирают» стабилизаторы, то Porsche, согласно тексту, решает задачу самими электронными амортизаторами.

Патенты и неожиданный камбэк «арбалетов»

Дальше — интереснее. В сеть просочились патентные материалы, предположительно проходившие через ВОИС, и они удивили даже тех, кто привык к инженерным экспериментам Porsche. Речь о возвращении рессор («арбалетов») — технологии, которую многие считали устаревшей. В качестве примера упоминается Corvette, который долго держался за такую схему, но в итоге отказался от нее с появлением C8.

Почему рессоры снова стали актуальны

Судя по описанию, Porsche рассматривает рессоры не как «ностальгию», а как часть более сложной и компактной архитектуры, где винтовым пружинам по-прежнему не находится места. Главный плюс рессор — минимальные требования к вертикальному пространству, а значит, появляется шанс снизить высоту кузова и сделать узел подвески более «плотным».

  • меньше вертикального объема под элементы подвески;
  • потенциально ниже посадка кузова к земле;
  • более компактная компоновка шасси.

Три сценария применения: от рычагов до мотора в ступице

В документации описываются сразу несколько вариантов использования рессор, и они выглядят куда шире, чем просто замена пружины.

  1. Рессора как элемент, позволяющий уменьшить высоту и «упаковать» подвеску компактнее.
  2. Рессора вместо части деталей нижнего рычага: это дает возможность применять более короткие стойки, менять геометрию передней оси и при этом не отказываться от независимой схемы. Параллельно появляется компоновочная идея — разместить электродвигатель с трансмиссией прямо в ступице колеса, рядом с передним мостом и тормозами.
  3. Двухкомпонентная «тележка» с втулками: внутренняя часть работает как основной упругий элемент, а внешняя — гасит движения колес.

Регулировка жесткости и клиренса без «пневмы»

Отдельно упоминается система, где электрический или гидравлический привод отвечает за изменение жесткости пружин и дорожного просвета. По смыслу это может стать альтернативой сложным пневмоподвескам, а заодно дать больше свободы дизайнерам: тяжелые элементы можно «спрятать» ниже, выиграв и в аэродинамике, и в вопросах безопасности пешеходов.

Что обещают инженеры

Изобретатель (Фрик Ондрей, руководитель направления шасси и силовых установок Porsche Engineering) подчеркивает, что выгоды лежат сразу в нескольких плоскостях:

  • дизайн и компоновка — больше свободы для стилистов;
  • аэродинамика — за счет более низкой и аккуратной архитектуры;
  • безопасность пешеходов — тяжелые конструкции можно увести вниз;
  • динамика — ниже центр тяжести и более точная маневренность, «как мы ожидаем от Porsche».

Останется ли это на бумаге

Да, патенты нередко так и не доходят до конвейера. Но в данном случае автор идеи называет решение экономичным (меньше компонентов), а также напоминается, что Porsche уже показывала две разные системы подвески для двух моделей за последние годы. Плюс заявка на патент датирована 2024 годом, и потому в тексте звучит предположение: технология может всплыть среди ключевых новинок будущих 718 Cayman и Boxster. А если не там — то, возможно, в дальнейшей эволюции 911, вплоть до версии с электромоторами внутри колес.

Популярные статьи:

-2