Добавить в корзинуПозвонить
Найти в Дзене
www1.ru

В России создали уникальный воздухозаборник для сверхзвуковых самолётов

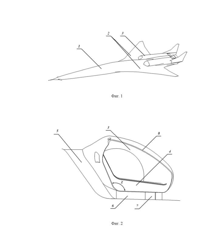
Российские инженеры разработали надкрыльевой воздухозаборник, который повышает эффективность и газодинамическую устойчивость силовой установки сверхзвуковых гражданских самолётов. Изобретение уже зарегистрировали в патентной базе ФИПС. Новая конструкция расположена над крылом и оснащена каплевидным входом, адаптированным под форму фюзеляжа, и двугранной поверхностью торможения с плавным сопряжением плоскостей. Это позволяет снизить влияние толстого пограничного слоя, нарастающего на поверхности самолёта при сверхзвуковом полёте, и избежать отрывных течений внутри воздухозаборника, уверены авторы проекта. Особенность разработки — система управления пограничным слоем, включающая поперечные щели, полость под панелью и окна для отвода воздуха во внешний поток. Верхняя часть обечайки воздухозаборника подрезана для оптимизации работы на крейсерской скорости, что предотвращает турбулентность и повышает стабильность подачи воздуха в двигатель. С помощью такой схемы обеспечивается низкая неодно
Оглавление

Конструкцию предложили оснастить каплевидным входом

Российские инженеры разработали надкрыльевой воздухозаборник, который повышает эффективность и газодинамическую устойчивость силовой установки сверхзвуковых гражданских самолётов. Изобретение уже зарегистрировали в патентной базе ФИПС.

Новая конструкция расположена над крылом и оснащена каплевидным входом, адаптированным под форму фюзеляжа, и двугранной поверхностью торможения с плавным сопряжением плоскостей.

Это позволяет снизить влияние толстого пограничного слоя, нарастающего на поверхности самолёта при сверхзвуковом полёте, и избежать отрывных течений внутри воздухозаборника, уверены авторы проекта.

-2

Особенность разработки — система управления пограничным слоем, включающая поперечные щели, полость под панелью и окна для отвода воздуха во внешний поток. Верхняя часть обечайки воздухозаборника подрезана для оптимизации работы на крейсерской скорости, что предотвращает турбулентность и повышает стабильность подачи воздуха в двигатель.

-3

С помощью такой схемы обеспечивается низкая неоднородность потока на входе в двигатель и сохраняются показатели полного давления на уровне классических сверхзвуковых схем с подкрыльевым или подфюзеляжным размещением воздухозаборников.

Испытания модели в аэродинамических трубах подтвердили высокую эффективность и газодинамическую устойчивость работы силовой установки.

Ранее генеральный директор Центрального института авиационного моторостроения имени П. И. Баранова (ЦИАМ) Андрей Козлов прогнозировал, что первые сверхзвуковые самолёты в России могут появиться не раньше 2040 годов.

Читайте ещё материалы по теме: