Найти в Дзене
ПАТРИОТ

Торпеда будущего: как русские инженеры создали подводного «невидимку» с двойным винтом и умной начинкой

Военные моряки и инженеры — народ практичный. Если что-то можно сделать проще, надёжнее и дальше бросить — они это сделают. Вот и сейчас из Черноморского высшего военно-морского училища имени П. С. Нахимова пришла новость, от которой даже старые подводники на берегу поднимут бровь: в России запатентовали автономный подводный дрон, выполненный в форме торпеды. И это не просто «железяка» — это умная, модульная и гидродинамически выверенная система, созданная специально для нужд ВМФ. Документы уже лежат в базе ФИПС. Авторы — специалисты училища, именем которого гордится вся Черноморская флотилия. Речь идёт не о боевой торпеде, а об автономном необитаемом подводном аппарате (АНПА). То есть — беспилотнике, который может работать без человека на борту, выполняя самые разные задачи: от разведки до проверки подводных коммуникаций. Главный козырь новинки — её форма. Корпус выполнен по гидродинамическим принципам, то есть буквально «скользит» сквозь воду. Это не просто «аэродинамика под водой»
Оглавление
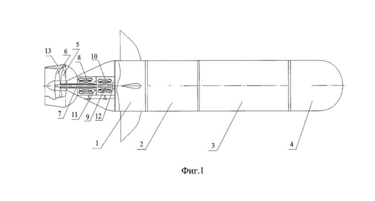
Концепт подводного дрона в форме торпеды для ВМФ
Источник изображения chatgpt
Концепт подводного дрона в форме торпеды для ВМФ Источник изображения chatgpt

Военные моряки и инженеры — народ практичный. Если что-то можно сделать проще, надёжнее и дальше бросить — они это сделают. Вот и сейчас из Черноморского высшего военно-морского училища имени П. С. Нахимова пришла новость, от которой даже старые подводники на берегу поднимут бровь: в России запатентовали автономный подводный дрон, выполненный в форме торпеды. И это не просто «железяка» — это умная, модульная и гидродинамически выверенная система, созданная специально для нужд ВМФ.

Документы уже лежат в базе ФИПС. Авторы — специалисты училища, именем которого гордится вся Черноморская флотилия. Речь идёт не о боевой торпеде, а об автономном необитаемом подводном аппарате (АНПА). То есть — беспилотнике, который может работать без человека на борту, выполняя самые разные задачи: от разведки до проверки подводных коммуникаций.

Главный козырь новинки — её форма. Корпус выполнен по гидродинамическим принципам, то есть буквально «скользит» сквозь воду. Это не просто «аэродинамика под водой» — тут всё сложнее. Вода в 800 раз плотнее воздуха, и даже небольшое сопротивление резко сжирает энергию. А у нового дрона — минимум завихрений, минимум трения, максимум хода при том же заряде батарей. Простыми словами: он едет дальше, тише и экономичнее.

Но форма — это полдела. Вторая половина — модульная архитектура. Весь аппарат собран как конструктор:

-2

  • движительный модуль,
  • модуль управления и связи,
  • батарейный отсек,
  • и носовой модуль, где можно разместить всё, что нужно — от гидролокатора до манипулятора.

Такой подход — не роскошь, а необходимость. Во-первых, если что-то сломалось — меняешь один блок, а не весь аппарат. Во-вторых, можно быстро перенастроить дрон под новую миссию: сегодня он ищет мину, завтра — проверяет дно у причала базы, послезавтра — отслеживает подводную активность. Это как из одного «тела» собрать десять разных машин. И да — такое решение сильно упрощает производство и обслуживание. Особенно в условиях, когда каждый час простоя на флоте — как удар по боеготовности.

Разработчики пошли нестандартным путём. Вместо одного винта — два гребных винта противоположного вращения. И не просто два, а установленные последовательно, один за другим, и приводимые в движение двумя отдельными электродвигателями. На первый взгляд — усложнение. На деле — гениальное упрощение.

Почему? Потому что обычный винт создаёт вихрь за собой — это потеря энергии. А если поставить второй винт, который вращается в противоположную сторону, он «ловит» этот вихрь и превращает его в тягу. Результат? КПД движителя вырастает на 10–12%. Авторы прямо пишут в патенте: «Это повышает пропульсивный коэффициент». Перевод на человеческий: аппарат тратит меньше электричества, чтобы пройти тот же путь. А значит — либо едет дольше, либо может нести больше полезной нагрузки. Или и то, и другое.

Кстати, такая схема — не новинка в теории. Её ещё в середине XX века пробовали на подводных лодках. Но тогда техника не позволяла сделать это компактно и надёжно. Сегодня — совсем другое дело. Современные материалы, точные двигатели, компактные аккумуляторы — всё это делает двухвинтовую систему не просто возможной, а выгодной.

Интересный факт: похожая схема уже давно используется на некоторых западных АНПА, например, у американской компании Teledyne. Но их аппараты — дорогие, сложные в обслуживании и часто завязаны на GPS или спутниковую связь, что под водой бесполезно. Русский же дрон — полностью автономный, не требует постоянного канала связи и заточен под реальные условия российских морей: от чёрных глубин до арктического льда.

Хотя… не всё так однозначно. Конечно, патент — это не готовый аппарат. Это идея, защищённая на бумаге. До серийного производства может пройти год, два, а то и больше. Однако сам факт, что такие разработки ведутся не в закрытых НИИ, а в военно-морском училище, говорит о многом. Это значит, что будущие офицеры учатся мыслить не только тактически, но и инженерно. Они не просто получают приказы — они сами придумывают, как выполнять задачи умнее.

К слову, Черноморское училище — не новичок в таких делах. Ещё в 2020-х годах там начали активно внедрять робототехнику в учебный процесс. Курсанты учатся управлять дронами, программировать автономные маршруты, даже собирать простые подводные аппараты своими руками. Так что неудивительно, что именно оттуда пришла такая продуманная разработка.

Что может делать такой дрон на практике?
— Проводить
разведку прибрежных зон без риска для людей.
Картографировать дно в районах, где опасно использовать лодки.
Искать затонувшие объекты — от техники до корабельных обломков.
Контролировать состояние подводных трубопроводов и кабелей — особенно актуально в нынешнее время.
— В экстренных случаях — даже
доставлять грузы или оборудование на подводные объекты.

И самое главное — всё это можно настроить, не перестраивая аппарат с нуля. Нужен гидролокатор? Ставим модуль с ним в носовую часть. Нужны манипуляторы? Добавляем их туда же. Батареи сели быстрее, чем планировалось? Меняем батарейный блок на более ёмкий — и снова в путь.

Однако…
Не стоит думать, что всё идеально. Подводная робототехника — штука капризная. Даже с 12% выигрыша в КПД
главный враг — всё равно энергия. Аккумуляторы под водой работают хуже, особенно в холодной воде. И чем глубже — тем сложнее связь, тем выше давление, тем больше нагрузка на корпус. Так что модульность и гидродинамика — это лишь часть решения. Ещё нужно продумать навигацию без GPS, защиту от биологических обрастаний, устойчивость к магнитным аномалиям… Список можно продолжать.

Но авторы, кажется, это понимают. Они не кричат о «революции», не обещают чудес. Они предлагают конкретное техническое решение — и защищают его патентом. Это по-военному: тихо, чётко, по делу.

Вот такая вот «торпеда будущего». Не для атаки, а для работы. Не для шума, а для тишины. Не для показухи, а для дела.

И, честно? Это гораздо ценнее любых громких заявлений.

МНОГОУВАЖАЕМЫЕ ЧИТАТЕЛИ!

Автор канала недавно перенёс операцию по удалению злокачественной опухоли головы, прошел курс химиотерапии. Онкология 3 стадии. Как никогда нужна ваша поддержка! К тому же, монетизация на Дзене скатилась до нуля. Именно, на вашей поддержке держится канал.

Если хотите поддержать проект и помочь автору в это трудное время, можете отправить донат через кнопку в правом нижнем углу. Это официальная возможность от Дзена. Платеж через СБП в два клика.

Никого насильно не призываю и милостыню не прошу. Просто, для тех кто по-братски захочет поддержать, сообщаю о возможности.

-3