Найти в Дзене
AUTOMPS

На вас положат... баварский болт!

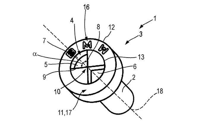
Креативные головы из BMW подали эту заявку на патент во Всемирную организацию интеллектуальной собственности, которая была опубликована всего несколько дней назад, еще летом 2024 года. Речь идет о... винтах, головки которых представляют собой логотип бренда, то есть стилизованный пропеллер с надписью BMW. То, что винты сами по себе не являются новым изобретением, очень хорошо известно BMW и изобретателю Эрнсту Лоренцу. Они прямо разъясняют это в начале заявки: Винты, особенно для встраивания в основание, в основном известны из предшествующего уровня техники. Недостатком здесь является то, что такие силовые конструкции встречаются настолько часто, что болтовые соединения, образованные соответствующими болтами, могут быть легко ослаблены или затянуты людьми". Однако, существуют варианты, когда только ограниченная группа людей должна иметь возможность "манипулировать резьбовым соединением, соответственно, ослаблять или затягивать резьбовое соединение". Вот почему они и изобрели винт,
Болты-секретки от BMW
Болты-секретки от BMW

Креативные головы из BMW подали эту заявку на патент во Всемирную организацию интеллектуальной собственности, которая была опубликована всего несколько дней назад, еще летом 2024 года.

Речь идет о... винтах, головки которых представляют собой логотип бренда, то есть стилизованный пропеллер с надписью BMW. То, что винты сами по себе не являются новым изобретением, очень хорошо известно BMW и изобретателю Эрнсту Лоренцу. Они прямо разъясняют это в начале заявки:

Винты, особенно для встраивания в основание, в основном известны из предшествующего уровня техники. Недостатком здесь является то, что такие силовые конструкции встречаются настолько часто, что болтовые соединения, образованные соответствующими болтами, могут быть легко ослаблены или затянуты людьми".

Однако, существуют варианты, когда только ограниченная группа людей должна иметь возможность "манипулировать резьбовым соединением, соответственно, ослаблять или затягивать резьбовое соединение". Вот почему они и изобрели винт, "который нельзя закрутить и/или открутить с помощью стандартных инструментов". По словам изобретателей, "форма выемок для зацепления" предотвращает "ослабление или завинчивание винта посторонними лицами". Вдобавок винты с логотипом BMW выглядят круто в глазах женщин-водителей, а также поклонников бренда. Тем более, что, согласно заявке, автопроизводитель будет использовать его, в частности, в интерьере. Предлагаемые винты BMW могут иметь несколько форм головки. Кроме того, в патенте указаны различные размеры и углы. BMW, очевидно, не планирует предлагать своим клиентам подходящий инструмент; это, по крайней мере, противоречило бы заявленной цели применения. Таким образом, если необходимо выполнить какие-либо работы с соответствующим образом прикрученными деталями, автомобиль будет просто необходимо доставить в авторизованную мастерскую, в которой есть необходимый инструмент. И это имеет конкретные финансовые последствия для клиентуры.

Честно говоря, изобретением назвать сие трудно: болты-секретки для колёс известны давно. Разве что пропеллера там не хватало.