Найти в Дзене
Аз АТОМ

Кейс. Для чего на одном объекте клапан и регулятор?

Когда к нам пришли опросные листы по этому проекту, сразу было видно: это не «одна позиция арматуры», а узел, в котором нужно одновременно управлять и давлением, и расходом газа. Инжиниринговая компания ООО «НефтеГазТехнологии» собирала решение под промышленный объект и хотела получить комплект от одного производителя, без зоопарка из разных серий и типоразмеров. Особенность заказа — на один объект сразу запросили и регуляторы давления газа, и запорно-регулирующий клапан. Задача: увязать их так, чтобы схема работала как единая система, а не набор разрозненных устройств. С какой задачей к нам пришёл заказчик По схеме было три ключевых точки, все в обвязке DN100 PN25 на природном газе: участок, где нужен большой расход и ручное управление потоком; участок с пониженным давлением, требующий точного регулирования «после себя»; участок с более высоким выходным давлением, но тем же DN и PN. На каждом узле — свои диапазоны давлений и расходов, при этом заказчик хотел: единый типоразмер D

Когда к нам пришли опросные листы по этому проекту, сразу было видно: это не «одна позиция арматуры», а узел, в котором нужно одновременно управлять и давлением, и расходом газа. Инжиниринговая компания ООО «НефтеГазТехнологии» собирала решение под промышленный объект и хотела получить комплект от одного производителя, без зоопарка из разных серий и типоразмеров.

Особенность заказа — на один объект сразу запросили и регуляторы давления газа, и запорно-регулирующий клапан. Задача: увязать их так, чтобы схема работала как единая система, а не набор разрозненных устройств.

С какой задачей к нам пришёл заказчик

По схеме было три ключевых точки, все в обвязке DN100 PN25 на природном газе:

  • участок, где нужен большой расход и ручное управление потоком;
  • участок с пониженным давлением, требующий точного регулирования «после себя»;
  • участок с более высоким выходным давлением, но тем же DN и PN.

На каждом узле — свои диапазоны давлений и расходов, при этом заказчик хотел:

  • единый типоразмер DN100 PN25;
  • минимально возможную номенклатуру ЗИП;
  • понятную схему эксплуатации для службы эксплуатации на объекте.

Какое решение мы предложили

После анализа опросных листов мы разделили функции оборудования.

  1. Для узла, где важен расход, в спецификацию включили
    АТОМ-URAN-H 400-100-200-025-М-G-020-001DN100 PN25
    запорно-регулирующий клапан, который отвечает именно за управление потоком газа.
  2. Для узлов, где критично стабильное давление, поставили два
    регулятора давления газа «после себя» в исполнении НЗ:
    АТОМ-ATLANT-P 300-KU-A-100-100-025-М-G-020-001 DN100 PN25

Почему так?

Регуляторы давления работают по схеме «после себя», стабилизируя различные уровни выходного давления, а клапан берёт на себя роль регулирующего клапана по расходу. Все позиции — DN100 PN25, сталь 20ГЛ (09Г2С), IV класс герметичности, фланцевое исполнение с КОФ.

Как мы выполняли этот заказ

Сначала мы не ограничились формальными цифрами в опросных листах, а уточнили у инженеров заказчика реальные режимы:

  • какие давления и расходы действительно рабочие, а какие — резервные;
  • как часто планируются переключения режимов;
  • какие требования к ресурсу и обслуживанию узла.

После этого:

  • зафиксировали, где нужен именно регулятор давления после себя (ATLANT P300), а где логичнее использовать запорно-регулирующий клапан URAN H400;
  • собрали спецификацию так, чтобы по трём узлам остались одни DN и PN;
  • укомплектовали поставку ЗИП на несколько лет вперёд.

Производство, испытания, проверка герметичности и настройка регуляторов давления прошли в штатном режиме, в установленный срок.

Что получил заказчик на выходе

В результате заказчик получил не три случайные позиции арматуры, а целостное решение:

  • единый типоразмер DN100 PN25 на всём объекте;
  • чёткое разделение функций:
    URAN H400 — запорно-регулирующий клапан, отвечает за расход;
    ATLANT P300 — регулятор давления газа «после себя», отвечает за стабильное давление;
  • сокращённую номенклатуру ЗИП и понятный склад запасных частей;
  • предсказуемое поведение узла по давлению и расходу без постоянных ручных подстроек.

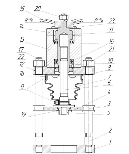
Схема подключения регулятора
Схема подключения регулятора

Как мы сами смотрим на этот кейс

«Для нас важен не только DN100 PN25 в опросном листе. Важно, какую задачу решает каждый элемент: где должен работать регулятор давления, а где нужен именно регулирующий клапан. В этом проекте URAN H400 и ATLANT P300 не конкурируют, а дополняют друг друга», — отмечает инженер АЗ АТОМ.

Если у вас на руках опросные листы и один объект, где нужно подобрать и регуляторы давления, и регулирующие клапаны, мы можем помочь собрать это в рабочий узел, а не в набор разрозненных позиций.

Можно прислать данные на rd@az-atom.ru
или оставить заявку на сайте
az-atom.ru.
Для консультаций:
8 (800) 2 508 708.

#АЗАТОМ #URANH400 #ATLANTP300 #регулятордавления #регулирующийклапан #DN100 #PN25 #промышленнаяарматура #кейсыАЗАТОМ