Найти в Дзене

Умный удар: разбить стекло теперь может каждый

Учёные Политеха Петра пересобрали молот Тора. Шутка. Они сделали кое-что гораздо круче и полезнее. Инженеры университета сконструировали новый пистолет-молоток для выбивания окон в транспорте. И теперь, чтобы эвакуироваться из автобуса при аварии, не нужно обладать силой супергероя. По данным ГИБДД, с 1 января 2025 года в России произошло 5322 ДТП с участием автобусов, в результате погибли 350 человек, а 7687 получили травмы. Чтобы выбраться из общественного транспорта в опасной ситуации, нужно разбить окно. Однако сделать это получится не у всех, поскольку для использования существующих аварийных молотков требуется правильная техника выполнения удара и сила. Соответственно, не все пассажиры способны справиться с этой задачей. В Политехе Петра же разработали опытный образец устройства, которым сможет воспользоваться и ребёнок, и пожилой человек, и инвалид, потому что при его применении физическая сила не играет роли. Разбить стекло можно всего в два шага: первый — приложите молоток к с
Оглавление

Учёные Политеха Петра пересобрали молот Тора. Шутка. Они сделали кое-что гораздо круче и полезнее. Инженеры университета сконструировали новый пистолет-молоток для выбивания окон в транспорте. И теперь, чтобы эвакуироваться из автобуса при аварии, не нужно обладать силой супергероя.

Учёные Политеха Петра разработали инновационный аварийный пистолет-молоток.
Учёные Политеха Петра разработали инновационный аварийный пистолет-молоток.

Почему это важно?

По данным ГИБДД, с 1 января 2025 года в России произошло 5322 ДТП с участием автобусов, в результате погибли 350 человек, а 7687 получили травмы. Чтобы выбраться из общественного транспорта в опасной ситуации, нужно разбить окно. Однако сделать это получится не у всех, поскольку для использования существующих аварийных молотков требуется правильная техника выполнения удара и сила. Соответственно, не все пассажиры способны справиться с этой задачей. В Политехе Петра же разработали опытный образец устройства, которым сможет воспользоваться и ребёнок, и пожилой человек, и инвалид, потому что при его применении физическая сила не играет роли. Разбить стекло можно всего в два шага: первый — приложите молоток к стеклу; второй — надавите на рычаг спускового механизма.

Как выглядит пистолет-молоток?

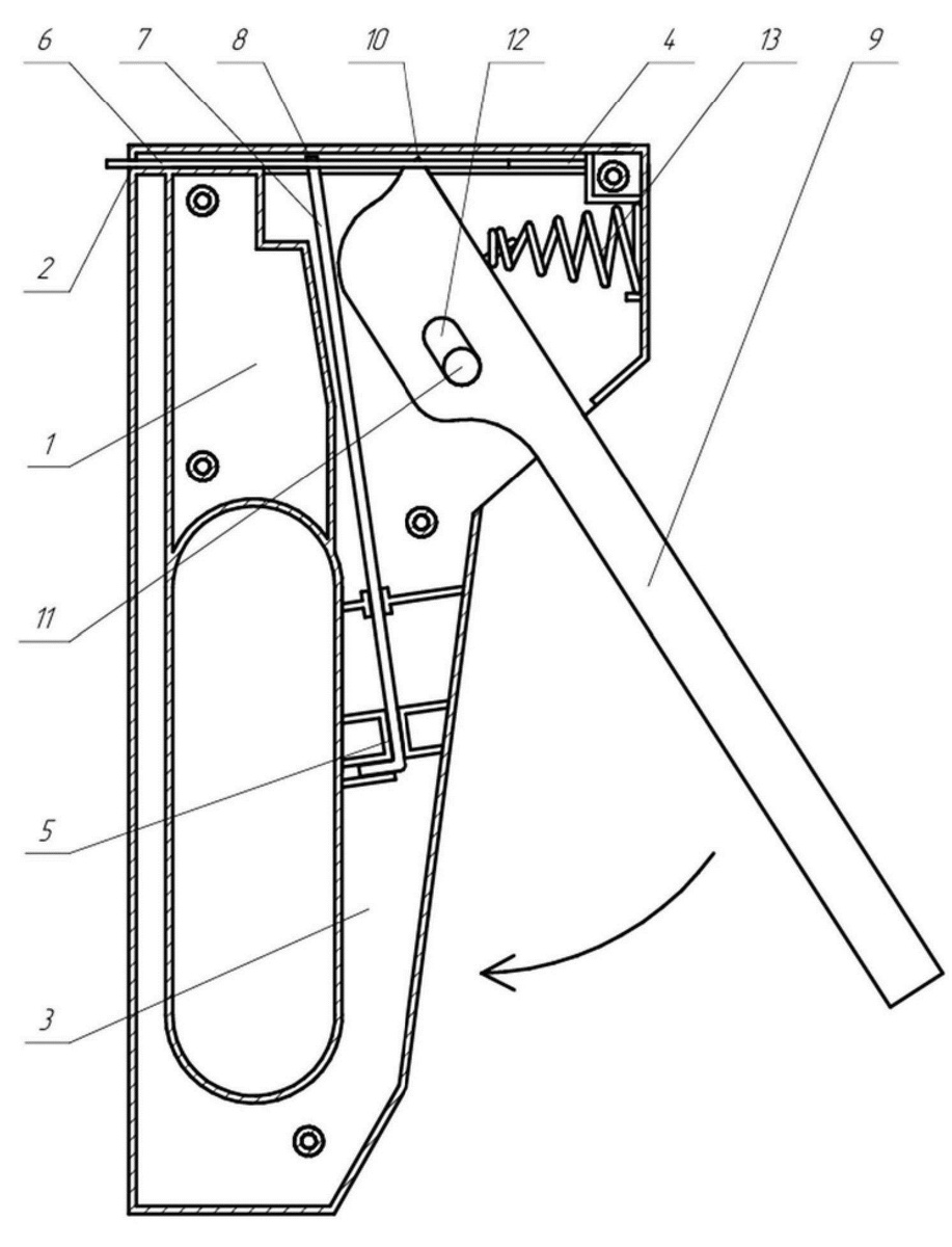
Корпус пистолета-молотка состоит из двух половинок. Внутри него установлен ударно-спусковой механизм. Он состоит из заострённого под углом 130° подвижного бойка*, пластинчатой пружины, рычага, возвратной конусообразной пружины. Эти элементы закреплены в пазах, отверстиях и соединены между собой определённым образом.

*Боёк — элемент механизма, передающий ударное воздействие.
Корпус (1), выходное отверстие (2), рукоять (3), верхний паз (4), нижний паз (5), боёк (6), пластинчатая пружина (7), пружинное отверстие (8), рычаг (9), рычажное отверстие (10), штифт (11), отверстие (12), возвратная конусообразная пружина (13). Источник изображения: https://clck.ru/3QRyVf.
Корпус (1), выходное отверстие (2), рукоять (3), верхний паз (4), нижний паз (5), боёк (6), пластинчатая пружина (7), пружинное отверстие (8), рычаг (9), рычажное отверстие (10), штифт (11), отверстие (12), возвратная конусообразная пружина (13). Источник изображения: https://clck.ru/3QRyVf.

За счёт чего пистолет-молоток так эффективно работает, какие у него преимущества?

Компактная пластинчатая пружина имеет небольшую амплитуду движения и позволяет чётко сконцентрировать энергию в нужной точке.

Удар бойка будет всегда производиться с одной и той же силой, поскольку коэффициент жёсткости пружины и угол её отклонения всегда одинаковый. А угол заточки бойка в 130° провоцирует возникновение трещин на стекле при ударе.

При этом привести рычаг в действие можно не только за счёт сжимания кисти руки, но и за счёт давления корпуса тела.

У разработки есть аналоги, однако представленная политехниками конструкция не только надежнее, но и дешевле их в исполнении.

Учёные Политеха Петра сделали ставку на доступность и простоту технологии. Источник изображения: https://clck.ru/3QRyVf.
Учёные Политеха Петра сделали ставку на доступность и простоту технологии. Источник изображения: https://clck.ru/3QRyVf.

Изобретение получило патент на полезную модель в Федеральной службе по интеллектуальной собственности. Устройством уже заинтересовались крупнейшие транспортные операторы России.

Подписывайтесь на канал «Теория большого Политеха», чтобы вы в нужный момент могли разбить как окно в автобусе, так и стеклянный потолок!

Что ещё почитать?