Найти в Дзене
PHOTAR

Nikon запатентовали матрицу для кинокамер

Nikon продолжают разработки в области профессионального кинооборудования. Компания уже зарегистрировала торговую марку Z Cinema и сейчас плотно работает над интеграцией технологий RED в будущие камеры. В настоящий момент Nikon зарегистрировали патент на инновационную матрицу, которая должна обеспечить расширенный динамический диапазон и более высокую производительность. А также, конечно же, продвинутый автофокус. Сориентировавшись в современных реалиях рынка Nikon вкладывает большие средства для полноценного выхода на рынок профессионального кинооборудования. Новый патент — дополнительное тому подтверждение. Описанная в документации технология фокусируется на улучшении динамического диапазона, то есть способности камеры захватывать яркие блики и темные тени в одном кадре без потери детализации. Это критически важный аспект профессиональных кинокамер, поскольку кинематографисты часто сталкиваются со сложными (в том числе, неконтролируемыми) условиями освещения. Nikon нацелены на решение
Оглавление

Nikon продолжают разработки в области профессионального кинооборудования. Компания уже зарегистрировала торговую марку Z Cinema и сейчас плотно работает над интеграцией технологий RED в будущие камеры. В настоящий момент Nikon зарегистрировали патент на инновационную матрицу, которая должна обеспечить расширенный динамический диапазон и более высокую производительность. А также, конечно же, продвинутый автофокус.

Nikon активно инвестирует в видео

Сориентировавшись в современных реалиях рынка Nikon вкладывает большие средства для полноценного выхода на рынок профессионального кинооборудования. Новый патент — дополнительное тому подтверждение.

-2

Описанная в документации технология фокусируется на улучшении динамического диапазона, то есть способности камеры захватывать яркие блики и темные тени в одном кадре без потери детализации.

Это критически важный аспект профессиональных кинокамер, поскольку кинематографисты часто сталкиваются со сложными (в том числе, неконтролируемыми) условиями освещения. Nikon нацелены на решение этой проблемы.

-3

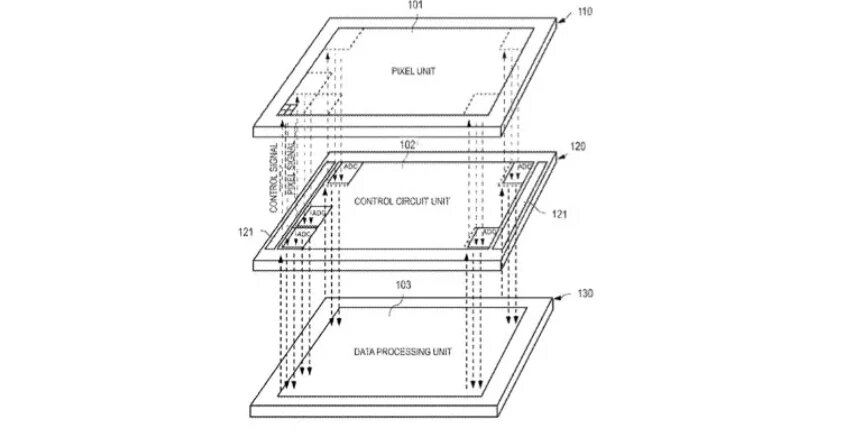
В документе описывается архитектура сенсора, которая улучшает управление экспозицией для каждого пикселя, обеспечивая максимально точный контроль над тем, как улавливается свет. Это может привести к более четким, более детализированным изображениям даже в самых сложных условиях. А благодаря функциям автономной экспозиции сенсор сможет самостоятельно настраиваться для достижения оптимальной производительности, почти как если бы в систему был встроен помощник камеры.

Кроме того, новый сенсор Nikon использует передовые технологии, такие как последовательный выбор блоков пикселей, вычисление значения экспозиции и регулировка захвата света каждым пикселем в реальном времени. Этот подход, по задумке разработчиков, должен расширить динамический диапазон и увеличить четкость изображения.

Кроме того, предлагается инновационный механизм автофокусировки, который адаптируется к быстро движущимся объектам, обеспечивая четкий фокус без размытия.

Если Nikon реализует такую технологию большого сенсора в будущей высококлассной кинокамере, они войдут в область, где доминируют такие компании, как Arri (рассматривается вариант продажи компании, о чем ранее сообщал Photar.ru), Sony и Canon. Nikon уже давно нацелены на этот сегмент.

-4

Новый патент демонстрирует, как Nikon переосмысливает традиционные конструкции сенсоров, чтобы создать более надежную и гибкую систему формирования изображений.

Внедрение усовершенствованного управления на уровне пикселей поможет Nikon создавать изображения, улавливающие даже самые сложные детали, будь то: яркий солнечный свет на открытом воздухе или самые глубокие тени. Кроме того, новый сенсор Nikon может быть более энергоэффективным.

-5

Масштабный шаг Nikon по разработке новой матрицы означает приближение компании к полноценному выходу на новый для себя рынок и развитию собственного ассортимента кинокамер.

Имея в арсенале такой сенсор, Nikon имеет потенциал создавать камеры, отвечающие высоким стандартам профессиональных кинематографистов, что позволит ей составить прямую конкуренцию крупнейшим компаниям отрасли.

Независимо от того, приведёт ли этот патент к созданию новой кинокамеры или продолжит развиваться втайне, очевидно, что Nikon серьёзно настроена на создание высококачественных изображений.

Первая кинокамера Nikon ZR

Несколько источников сообщали ранее, что компания Nikon уже зарегистрировала свою первую полноценную кинокамеру. Название пока не подтверждено, но считается, что она получит наименование Nikon ZR.

Формула успеха кинокамеры, по мнению компании, следующая: технологическая начинка Nikon плюс программная основа RED. И все это в корпусе близком к популярной Sony FX3.

Известно, что Nikon ZR получит матрицу от Nikon Z6 III. Кстати, эта же матрица установлена в новый Panasonic Lumix S1 II. За счет своей архитектуры она позволяет получать 6К изображение в RAW-кодеке, однако компромиссом является сниженный динамический диапазон.

Будет ли эта проблема решена в новой Nikon ZR? В качестве одного из решений быть внедрение кодека REDCODE RAW с 16-ти битным цветом. Это фирменная уникальная разработка компании RED. При этом источник действительно заявляет, что в кинокамере Nikon ZR будут реализованы функции и технологии, позаимствованные у RED.