Добавить в корзинуПозвонить
Найти в Дзене
Эпонимы и Мы

МУФТА ГЕЙСЛИНГЕРА

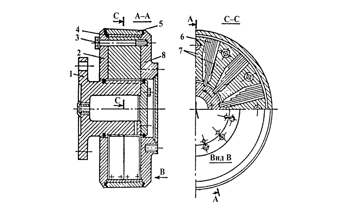
Муфты бывают разные - ХОБСОНА, ОЛДХЕМА, ШМИДТА и пр. Плюс ШАРНИРЫ РЦЕППА и ГУКА. Одни предназначены для компенсации большого радиального перекоса между валами, другие нет. Например, МУФТА ГЕЙСЛИНГЕРА предназначена для того, чтобы компенсировать осевые перекосы, а также поглощает крутильные колебания. За счёт того, что при резких рывках вала она передаёт вращательный момент с некоторым (минимальным) запозданием, это значительно повышает живучесть подшипников, которые таких дёрганий очень не любят. Человек, обладающий зачатками технического мышления, глядя на это фото поймёт, как данное устройство работает: пакеты плоских пружин при вращении вала слегка пружинят. Полости, где они размещены, заполняют маслом, поступающим из смазочной системы дизеля через центральное отверстие ведущей полумуфты. Во время работы масло уменьшает деформацию пружин, а, следовательно, и взаимное перемещение полумуфт, тем самым достигается уменьшение амплитуды колебаний передаваемого крутящего момента. Обычно

Муфты бывают разные - ХОБСОНА, ОЛДХЕМА, ШМИДТА и пр. Плюс ШАРНИРЫ РЦЕППА и ГУКА. Одни предназначены для компенсации большого радиального перекоса между валами, другие нет.

Например, МУФТА ГЕЙСЛИНГЕРА предназначена для того, чтобы компенсировать осевые перекосы, а также поглощает крутильные колебания. За счёт того, что при резких рывках вала она передаёт вращательный момент с некоторым (минимальным) запозданием, это значительно повышает живучесть подшипников, которые таких дёрганий очень не любят.

Человек, обладающий зачатками технического мышления, глядя на это фото поймёт, как данное устройство работает: пакеты плоских пружин при вращении вала слегка пружинят. Полости, где они размещены, заполняют маслом, поступающим из смазочной системы дизеля через центральное отверстие ведущей полумуфты. Во время работы масло уменьшает деформацию пружин, а, следовательно, и взаимное перемещение полумуфт, тем самым достигается уменьшение амплитуды колебаний передаваемого крутящего момента.

1 — ведущая полумуфта; 2,8 — стальные диски; 3 — болты; 4 — коническое кольцо; 5 — наружная обечайка; 6 — пакеты плоских пружин; 7 — распределительные клиновидные вставки.
1 — ведущая полумуфта; 2,8 — стальные диски; 3 — болты; 4 — коническое кольцо; 5 — наружная обечайка; 6 — пакеты плоских пружин; 7 — распределительные клиновидные вставки.

Обычно МУФТУ ГЕЙСЛИНГЕРА устанавливают между дизелем (как правило - большим и мощным, на локомотивах и судах) и редуктором. Она может иметь небольшую способность компенсировать изменение центровки, но если это необходимо, устанавливают ещё одну муфту, в тандеме. Одно из достоинств изделия - способность предотвращать резонанс на критических скоростях вращения.

При всех плюсах МУФТЫ ГЕЙСЛИНГЕРА её главный минус - сложность конструкции, а также то, что она мало пригодна для маломощных двигателей.

На основе этой муфты было создано много разных вариантов, но суть примерно та же самая.

-3

Об изобретателе, докторе Леонарде Гейслингере, который представил миру эту муфту в 1958 году, мне не удалось найти никакой информации. Хотя, по логике, компания Geislinger GmbH является его детищем, и на её сайте хотелось бы найти хоть что-то об основателе.

-4

Тем более, в российских библиотеках есть патент на "Демпфер крутильных колебаний, или Вращательно-упругая муфта сцепления", а там авторами числятся Матиас и Корнелиус Гейслингеры. Дети? Внуки?

Вы можете поддержать канал, перечислив любую доступную вам сумму на кошелёк ЮMoney 4100 1102 6253 35 (или на карту Райффайзенбанка 2200 3005 3005 2776). И поучаствовать в создании книги по материалам этих статей. Заранее всем спасибо!