Добавить в корзинуПозвонить
Найти в Дзене

Осевая регулировка подшипников качения на электродвигателе

В фиксированной опоре осевые зазоры сводятся к минимуму соответствующей регулировкой, и «игра» валов почти отсутствует. Жесткость опоры увеличивается. Кроме того, расположение двух подшипников увеличивает и жесткость вала. Схема определения осевой игры вала: Геометрическая зависимость в коническом роликоподшипнике между зазором g по линии давления (перпендикулярно образующей дорожки качения наружного кольца), радиальным зазором А (перпендикулярно оси вращения подшипника) и осевой игрой S (параллельно оси вращения подшипника) определяется следующими формулами: g=λcosβ; g=2Ssinβ; λ=2Stgβ, где β – угол между образующей конуса наружного кольца подшипника и осью подшипника. Величина осевой игры S влияет только на половину полной осевой игры вала, смонтированного на двух конических роликоподшипниках. То же относится и к случаям установки вала на двух или четырехрядных конических роликоподшипниках. Регулировка осевой игры радиально-упорных шарикоподшипников при помощи прокладок производится с

В фиксированной опоре осевые зазоры сводятся к минимуму соответствующей регулировкой, и «игра» валов почти отсутствует. Жесткость опоры увеличивается. Кроме того, расположение двух подшипников увеличивает и жесткость вала.

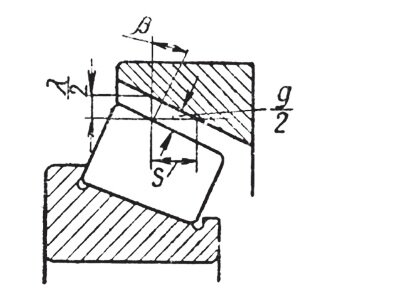
Схема определения осевой игры вала:

Геометрическая зависимость в коническом роликоподшипнике между зазором g по линии давления (перпендикулярно образующей дорожки качения наружного кольца), радиальным зазором А (перпендикулярно оси вращения подшипника) и осевой игрой S (параллельно оси вращения подшипника) определяется следующими формулами:

g=λcosβ;

g=2Ssinβ;

λ=2Stgβ,

где β – угол между образующей конуса наружного кольца подшипника и осью подшипника.

Величина осевой игры S влияет только на половину полной осевой игры вала, смонтированного на двух конических роликоподшипниках. То же относится и к случаям установки вала на двух или четырехрядных конических роликоподшипниках.

Регулировка осевой игры радиально-упорных шарикоподшипников при помощи прокладок производится следующим образом: надевают комплект прокладок на одну из крышек, устанавливают ее в корпус и зажимают болты до отказа.

Вторую крышку (без прокладок) также ставят на место; несколько не дожав болты до конца, проворачивают вал. Затем сильно зажимают болты крышки, добиваясь такого положения, чтобы вал проворачивался туго (зазор полностью уничтожен).

Далее замеряют щупом зазор между фланцем крышки и корпусом. К величине найденного щупом зазора прибавляют величину необходимого осевого зазора (осевой игры). Эта сумма размеров и составляет необходимую толщину комплекта прокладок для регулирования осевой игры. Осевая игра распределяется между двумя подшипниками.

Крышку без прокладок после измерения величины осевой игры следует снять, подобрать комплект прокладок и снова поставить с прокладками, зажать болты до отказа и при этом проворачивать вал от руки.

Если вал вращается туго, то необходимо добавить еще одну тонкую прокладку, после этого следует проверить величину полученной осевой игры (при помощи индикатора или щупа): α–δt=1…2 мм.

Например, короткие валы при отсутствии значительного нагрева можно крепить посредством двух опор. При сборке для предупреждения защемления тел качения в радиальных подшипниках предусматривают минимальный осевой зазор а=0,2-0,3 мм между крышкой подшипника и наружным кольцом. А в радиально-упорных подшипниках – осевую регулировку путем изменения общей толщины набора прокладок (б) между фланцем крышки подшипника и его корпусом.

Рисунок - Конструкция сборочной единицы для регулировки зазора:

-2

После того как установится при работе узла нормальный тепловой режим, зазор уменьшается до нормальных пределов или исчезает. Величину начального зазора а устанавливают обычно для каждого изделия опытным путем.

Поэтому данная схема осевой фиксации валов применяется при относительно коротких валах и при дуплексировании (подборе пар подшипников для установки с предварительным натягом) упорных шарикоподшипников, которые применяются в быстроходных механизмах.

Точность регулировки подшипников в значительной степени зависит от качества прокладок, которые должны быть изготовлены точно (штампованная калиброванная латунь или мягкая сталь).

Регулировка осевой игры радиально-упорных подшипников при помощи резьбовых колец на валу производится следующим образом: внутреннее кольцо подшипника зажимают резьбовым кольцом до полного уничтожения зазора в подшипниках. Затем резьбовое кольцо несколько отворачивают на 1/3 или 1/4 оборота, в зависимости от шага резьбы и требуемого осевого зазора, добиваясь свободного проворота вала; после этого резьбовое кольцо стопорят.

При регулировании прокладками зазора в конических роликоподшипниках сначала зажимают крышку без прокладок до тех пор, пока вал не будет проворачиваться очень туго. Затягивая гайки или винты, вал нужно повернуть на несколько оборотов, чтобы ролики подшипника имели возможность правильно установиться.

При зажатой до конца крышке зазора в подшипнике нет. Замеряя в этом положении в двух-трех местах зазор А (рис. 7, а) между крышкой 1 и корпусом и прибавляя к нему требуемое осевое перемещение вала С, определим толщину Т калиброванной прокладки 2, которую нужно подложить под крышку, т. е. Т=А+С.

Рисунок - Схемы регулирования зазора в конических роликоподшипниках:

-3

Обозначения: а – регулировка крышкой; б – регулировка болтом 4 в промежуточную крышку 3; в – регулировка втулкой 6 и угольником 7.

При регулировании зазора в подшипнике болтом 4 и гайкой 5 (рис. б) сначала их затягивают до тугого проворачивания вала (это показывает, что зазоры выбраны правильно). Затем по величине шага Р резьбы определяют, на какой угол φ следует провернуть винт или гайку обратно, чтобы получить требуемый зазор: φ=С/(Р•360°) (обычно – это четверть оборота).

Установка заземляющих колец JUVTEK K27 на электродвигатели запитанных от частотного преобразователя обеспечивают защиту подшипниковых узлов от контурных токов и увеличивают срок эксплуатации не токоизолированных подшипников.