Добавить в корзинуПозвонить
Найти в Дзене
PHOTAR

Panasonic разработали кинокамеру в форм-факторе куба с рукояткой и дисплеем

Panasonic, ранее выпускавшая компактные кинокамеры Lumix BG1 и Lumix BGH1, зарегистрировала новую разработку: кинокамеру в форм-факторе куба, но с рукояткой и дисплеем. Она также получит функцию записи видео на SSD-диск, сенсорное управление и другие возможности. Новая система, разработанная компанией, предусматривает установку аккумулятора. Заявка на патент опубликована 2 мая, однако пока нет ясности о том, будет ли эта кинокамера официально выпущена в дальнейшем. Сообщается, что профильного подразделения кинокамер у компании Panasonic сейчас нет. Соответственно, потенциальная новинка может выйти разве что под брендом Lumix, который объединяет в себе разработки в сегментах M4/3, полного кадра, и кинокамер. Заявка на патент на кинокамеру в форм-факторе куба с дисплеем и боковой рукоятью была подана еще 26 октября 2023 года компанией Panasonic Intellectual Property Management Co Ltd, выдана 15 апреля, а опубликована 2 мая 2024 года. При этом, конечно, надо иметь в виду, что в общей слож

Panasonic, ранее выпускавшая компактные кинокамеры Lumix BG1 и Lumix BGH1, зарегистрировала новую разработку: кинокамеру в форм-факторе куба, но с рукояткой и дисплеем. Она также получит функцию записи видео на SSD-диск, сенсорное управление и другие возможности. Новая система, разработанная компанией, предусматривает установку аккумулятора. Заявка на патент опубликована 2 мая, однако пока нет ясности о том, будет ли эта кинокамера официально выпущена в дальнейшем.

Сообщается, что профильного подразделения кинокамер у компании Panasonic сейчас нет. Соответственно, потенциальная новинка может выйти разве что под брендом Lumix, который объединяет в себе разработки в сегментах M4/3, полного кадра, и кинокамер.

-2

Заявка на патент на кинокамеру в форм-факторе куба с дисплеем и боковой рукоятью была подана еще 26 октября 2023 года компанией Panasonic Intellectual Property Management Co Ltd, выдана 15 апреля, а опубликована 2 мая 2024 года. При этом, конечно, надо иметь в виду, что в общей сложности Panasonic имеют более 188 тысяч различных патентов. Не все из них дошли до стадии реализации.

-3

В заявке на патент Panasonic сообщает: стационарное устройство формирования изображения предназначено для фиксированной съемки, и, особенно, когда выполняется съемка с рук, сам захват имеет тенденцию быть нестабильным. Кроме того, например, пальцы пользователя касаются объектива, и таким образом можно изменять фокус и величину диафрагмы, или пальцы могут закрывать снимаемый объектив, и поэтому съемка с рук становится затруднительной.

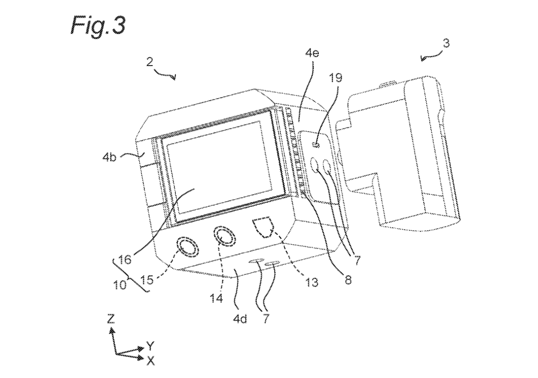
Таким образом, компания описывает логику новой разработки. В состав рукоятки входят: кнопка спуска затвора, второй разъем, винт, выступ, циферблат, функциональная кнопка и аккумулятор. Рукоятка имеет специализированное подключение для передачи сигнала напрямую в кинокамеру.

-4

Сама кинокамера выполнена в форм-факторе куба. Она отличается от традиционной камеры тем, что датчик изображения расположен в центральной части корпуса в направлении справа налево. Множество отверстий для установки основного корпуса камеры расположены на внешней боковой поверхности основного корпуса камеры.

На конструкции также показаны точки крепления внешних микрофонов или других аксессуаров, а также крепление для установки внешнего жесткого диска (SSD), который можно подключить к камере через USB-C.

Изображением с основного корпуса камеры можно управлять с помощью внешнего контроллера. Источник питания может подаваться через кабель локальной сети. Кроме того, посредством него могут выполняться передача и прием временного кода, внешней синхронизации, USB, HDMI, Ethernet, входных и выходных аудиосигналов.

-5

Электроэнергию можно подавать к основному корпусу камеры извне, подключив входной кабель источника питания к входному разъему источника питания.

Дисплей имеет механизм поворота со свободным углом. Сам экран поддерживает сенсорное управление. Пока не совсем понятно, о матрице какого оптического формата идет речь в разработке.

Ранее сообщалось, что 23 мая выйдет компактная камера Panasonic. Она получит байонетное крепление L-mount и продвинутую матрицу с поддержкой гибридного автофокуса.