Добавить в корзину
Позвонить
Найти в Дзене
Войти
Нейтральная полоса
161 подписчик
Подписаться
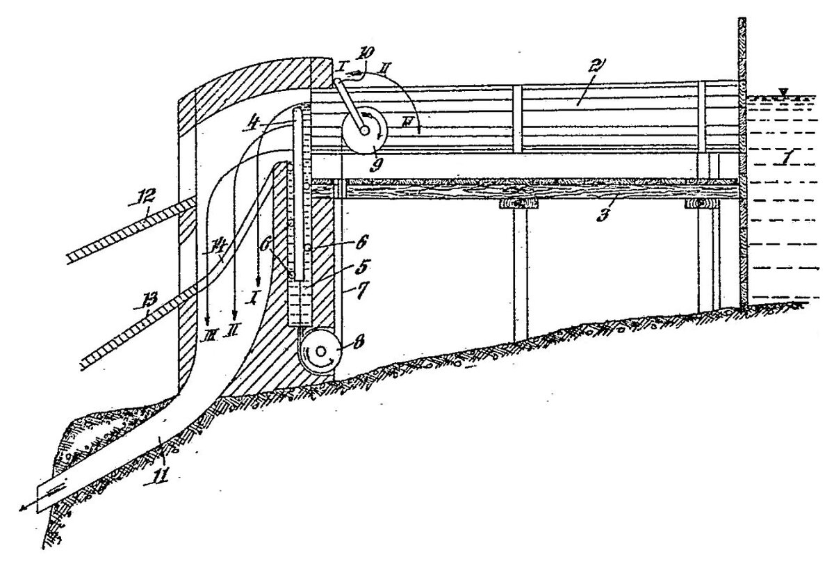
Австрийский патент № 113 848 (подан 19 августа 1926 г.)
30 апреля 2024
30 апр 2024
19
~1 мин
Способ и приспособление для отделения различных сортов древесины друг от друга. Текст в стадии перевода
Способ и приспособление для отделения различных сортов древесины друг от друга. Текст в стадии перевода
...
Читать далее
Оглавление
Способ и приспособление для отделения различных сортов древесины друг от друга.
Способ и приспособление для отделения различных сортов древесины друг от друга.
Текст в стадии перевода
3
3520491134.992.1778140925738.84847