Добавить в корзинуПозвонить
Найти в Дзене

Австрийский патент № 136 214 (подан 23 апреля 1930 г.)

Установка коррекции расхода в дренажных каналах путем удержания и стабилизации запруженной воды Это изобретение относится к установке, связанной с проведением и регулированием потока в водных каналах путем удержания и стабилизации на более высоких уровнях с помощью встроенных в них плотин, которые зависят от внешней температуры текущей воды и смешивания по желанию легкой и жесткой воды, отводимой из бассейна собственными средствами, с помощью которых удобно направлять жесткую воду, поступающую извне, для охлаждения слоев боковых стенок плотины бассейна, как будет показано здесь. Известно, что при управлении водными каналами во всех технологиях строительства каналов весомый аргумент, такой как температура воды в грунтовых сосудах и температура воздуха как разница температур между стоячей и проточной водой, всегда не учитывается; и также известно, что разница температур между двумя или более водотоками изменяет их скорость при смешивании. До сих пор только с помощью искусственных констр

Установка коррекции расхода в дренажных каналах путем удержания и стабилизации запруженной воды

Это изобретение относится к установке, связанной с проведением и регулированием потока в водных каналах путем удержания и стабилизации на более высоких уровнях с помощью встроенных в них плотин, которые зависят от внешней температуры текущей воды и смешивания по желанию легкой и жесткой воды, отводимой из бассейна собственными средствами, с помощью которых удобно направлять жесткую воду, поступающую извне, для охлаждения слоев боковых стенок плотины бассейна, как будет показано здесь.

Известно, что при управлении водными каналами во всех технологиях строительства каналов весомый аргумент, такой как температура воды в грунтовых сосудах и температура воздуха как разница температур между стоячей и проточной водой, всегда не учитывается; и также известно, что разница температур между двумя или более водотоками изменяет их скорость при смешивании.

До сих пор только с помощью искусственных конструкций в виде плотин, естественных водных каналов, проходящих под землей, или только через валы (куда выходит только жесткая вода с температурой, близкой к +4 градусам Цельсия), или с помощью водоводов, размещенных на плотинах (по которым протекают каналы только с легкой водой высокой температуры), встречали препятствия на своем пути по каналу и вызывали эрозию их берегов.

Однако по каналу также могут протекать воды соответствующей нужной температуры, так что их можно направить на перекрытие водных масс и уменьшение их поступательного импульса или на увеличение их скорости и поступательного импульса в желаемом направлении. Мы также можем повлиять на работы по восстановлению берегов, просто правильно регулируя температуру воды, а также устанавливая плотины, долговечность которых прямо пропорциональна количеству воды, перекрытой плотиной, а также добиваясь беспрепятственного стока воды. Расширение канала за счет установки камней или устранения их (балластных насыпей) и возвышения берега, особенно на изгибах, может быть выполнено с помощью соответствующего направления, но обычно провоцирует противоток, который сводит на нет всю работу. С помощью нескольких устройств, которые будут описаны здесь, можно управлять как легкой, так и жесткой водой в соответствии с температурой каждого из них, а также соответствующим понижением температуры, так что с помощью описанных здесь средств каждая вода будет течь по своему уровню.

Одновременно с регулированием расхода воды в конструкции запорной плотины бассейна необходимо установить трубы, которые будут обеспечивать охлаждение пор плотины по бокам плотины с помощью небольших потоков, направленных через материалы.

Затем, по мере снижения температуры, вода внутри плотины теряет свою привлекательность для растворения соли и других веществ, пока не достигнет точки равновесия при температуре + 4 ° C, при которой ее способность к растворению наименьшая, а фильтрация в стенке плотины самая сильная. Пока что легкая вода, просочившаяся в стену для охлаждения, проникает внутрь материалов через поры; в данный момент стенки канала вблизи плотины заполнены жесткой водой с температурой +4 ° C, которая по мере перемещения теряет свои соли в соседний грунт, создавая за несколько недель пропитки дополнительный барьер против эрозии, а если наступят морозы, это также будет способствовать укреплению стен

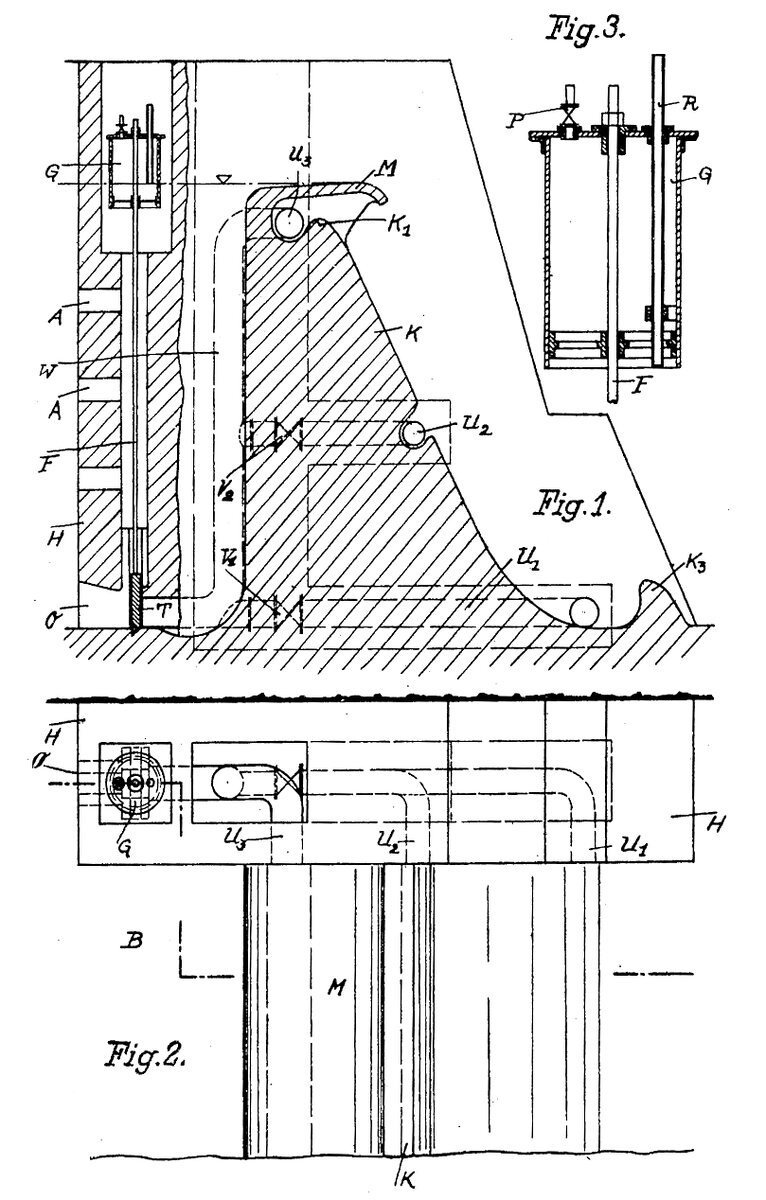
На чертежах мы находим дополнительное объяснение устройства для такого рода установок; оно видно в поперечном разрезе на рисунке 1 и в виде сверху на рисунке 2; на рисунке 3 мы видим внутренний разрез устройства для управления потоком воды.

Для регулирования потока холодной жесткой воды и теплой легкой воды в камере плотины (K) бассейна (B) по обе стороны плотины размещены грунтовые форсунки (O), дверцы которых приводятся в действие плавающим устройством (G), которое перемещается из-за разницы температур. Трубы (W) сопла (O) ведут к верхнему резервуару (K1), где проточные трубопроводы (U1)- (U2)- (U3), которые закрываются клапанами с гравитационным приводом (V1)- (V2), ответвляются на разной высоте от верхней трубы (W) и уходят дальше в боковую стенку бассейна, распределяясь там на соответствующие участки. У подножия внутренней стенки плотины будет удобно расположен выступающий участок (K2) для создания вихревого движения и лучшего перемешивания водных масс, текущих через стену. Заслонка (T) в сопле (O) раскалывает грунт водного канала, погружаясь в него, и соединена вертикально посредством шахты (F), проходящей внутри стены плотины (H), с плавучим устройством (G), которое выполнено в виде погружного колокола. На проиллюстрированной стенке (H) мы находим на разной высоте над грунтовым соплом (O) трубчатые выпускные отверстия (A), которые сообщаются с трубой, ведущей вверх к раструбу (G), и обеспечивают автоматическое опорожнение резервуара для воды.

Когда трубе (W) позволяют заполняться через отверстие дверцы (T), это обеспечивает сообщение между трубой и резервуаром, которое в одностороннем порядке снимает давление с дверцы (T) и, таким образом, обеспечивает ее свободное движение вверх. Дверь (T) должна быть изготовлена из дерева, чтобы обеспечить свободное движение звонка (G) при достижении нужного уровня воды. Плавающий колпак (G), соединительный вал (F) которого направлен вниз, может таким образом, и из-за единственного движения, которое ему разрешено совершать, всплывать вверх; колпак (G) на рисунке 3 имеет воздушный клапан (P), через отверстие которого внутрь может подаваться сжатый воздух, так что дверца (T) будет немедленно активирована. Как с помощью открытого конца, так и с помощью выступающей трубки (R) мы можем создавать поток воды через плавающий вверх или вниз колпак.

Когда водолазный колокол полностью погружен, без какого-либо запаса воздуха, клапан полностью закрывается; а когда мы впрыскиваем в него воздух, он поднимается, позволяя открыть дверцу (T).

При нормальной работе атмосфера, заключенная внутри колпака (G), равна обычному атмосферному давлению, и, таким образом, внешняя температура окружающей среды действует как регулятор; в зависимости от объема заключенного воздуха внутри (G) внешняя температура будет повышать или понижать его, позволяя поднимать дверцу (T) вверх, так что масса жесткой воды, которая будет проходить через сопло (O), патрубок (W) и расходомерные трубки (U1)- (U2)- (U3), будет зависеть от объема воздуха, находящегося внутри. изменения внешней температуры; легкая вода течет по собственной пластине, расположенной на вершине плотины в бассейне.

Взаимопроникновение легких и жестких вод может быть улучшено с помощью конструкции (K2), размещенной у подножия внутренней стены плотины, а также благодаря тому факту, что жесткая вода падает вертикально, в то время как легкая вода делает это по спирали через расходомерные трубки (U1) - (U2) - (U3), так что во время своего падения они соединяются.

Благодаря нагреву от солнечных лучей водолазный колокол (G) еще больше поднимет дверцу (T), и через канал будет удаляться больший процент жесткой воды по сравнению с легкой водой, которая течет через верх плотины, и вместо этого при более низких внешних температурах дверца (T) останется полностью или почти полностью закрытой, а по каналу будет проходить только теплая переливающаяся жидкость.

Для лучшего смешивания легкой и жесткой воды, текущей через верх плотины, я разместил расходомерную трубку (U2) в нижней части стенки плотины (K), чтобы она или (T) предотвращали перелив воды через уровень бассейна.

Вода, текущая внутри боковых стен плотины, способствует их дальнейшему охлаждению, а также оставляет отложения солей и других веществ, которые она теряет при достижении температуры + 4 ° C.

Открывая расходомерную трубку (U3) на стенке плотины, можно воздействовать на верхнюю часть плотины, как указано в предыдущем параграфе; для поддержания состояния стенки плотины (на всех ее участках) необходим этот процесс пропитки, чтобы ее поры были закрыты и не происходило фильтрации.

Верхняя пластина (M) служит для перелива легкой воды и отделения жесткой воды, текущей по трубопроводу (U3), тем самым повышая его долговечность.

Рисунки 1-3