Добавить в корзинуПозвонить
Найти в Дзене

Классификация станков

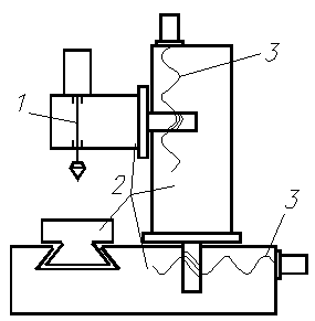
Металлообрабатывающий станок – машина для размерной обработки заготовок в основном путём снятия стружки. Кроме металлических заготовок на станках обрабатывают так же детали из других материалов. К станкам относят и технологическое оборудование, использующее для обработки электрофизические и электрохимические методы, сфокусированный электронный или лазерный луч, поверхностное пластическое деформирование и некоторые другие виды обработки. Помимо основной рабочей операции, связанной с изменением формы и размеров заготовки, на станке необходимо осуществлять и вспомогательные операции для смены заготовок, их зажима, измерения, операции по смене режущего инструмента, контроля его состояния и состояния всего станка. Собственно станок подразделяется на несколько важнейших частей, обычно называемых узлами. Главный привод (1) станка сообщает движение инструменту или заготовке для осуществления процесса резания с соответствующей скоростью. У подавляющего большинства станков главный привод сообща

Металлообрабатывающий станок – машина для размерной обработки заготовок в основном путём снятия стружки. Кроме металлических заготовок на станках обрабатывают так же детали из других материалов. К станкам относят и технологическое оборудование, использующее для обработки электрофизические и электрохимические методы, сфокусированный электронный или лазерный луч, поверхностное пластическое деформирование и некоторые другие виды обработки.

Помимо основной рабочей операции, связанной с изменением формы и размеров заготовки, на станке необходимо осуществлять и вспомогательные операции для смены заготовок, их зажима, измерения, операции по смене режущего инструмента, контроля его состояния и состояния всего станка.

Собственно станок подразделяется на несколько важнейших частей, обычно называемых узлами.

Главный привод (1) станка сообщает движение инструменту или заготовке для осуществления процесса резания с соответствующей скоростью. У подавляющего большинства станков главный привод сообщает вращательное движение шпинделю, в котором закреплён режущий инструмент или заготовка.

Привод подачи (3) необходим для перемещения инструмента относительно заготовки (или наоборот) для формирования обрабатываемой поверхности. У подавляющего большинства станков привод подачи сообщает узлу станка прямолинейное движение. Сочетанием нескольких прямолинейных, а иногда и вращательных движений можно реализовать любую пространственную траекторию.

Привод позиционирования необходим во многих станках для перемещения того или иного узла станка из некоторой исходной позиции в другую заданную позицию, например, при последовательной обработке нескольких отверстий или нескольких параллельных плоскостей на одной и той же заготовке. Во многих современных станках с числовым программным управлением (ЧПУ) функции приводов подачи и позиционирования выполняет один общий привод.

Несущая система (2) станка состоит из последовательного набора соединённых между собой базовых деталей. Соединения могут быть неподвижными (стыки) или подвижными (направляющие). Несущая система обеспечивает правильность взаимного расположения режущего инструмента и заготовок под воздействием силовых и температурных факторов.

Манипулирующие устройства необходимы для автоматизации различных вспомогательных движений в станке, для смены заготовок, их зажима, перемещения или поворота, смены режущих инструментов, удаления стружки и т.п. Современный многооперационный станок имеет набор манипуляторов транспортёров, поворотных устройств, а в некоторых случаях обслуживается универсальным манипулятором с программным управлением (промышленным роботом).

Контрольные и измерительные устройства необходимы в станке для автоматизации и наблюдения за правильностью его работы. С помощью них контролируют состояние наиболее ответственных частей станка, работоспособность режущего инструмента, измеряют заготовки и изделие. При достаточно высоком уровне автоматизации результаты контроля измерения поступают в управляющее устройство, а оттуда в виде управляющих сигналов корректируют положение узлов станка.

Устройство управления может быть с ручным обслуживанием оператором, с механической системой управления или с ЧПУ. В настоящее время происходит широкое внедрение микропроцессорных устройств ЧПУ для управления всеми видами станочного оборудования.

В зависимости от целевого назначения станка для обработки тех или иных деталей или их поверхностей, выполнения соответствующих технологических операций и режущего инструмента, станки разделяют на следующие основные группы: токарные, сверлильные, расточные, фрезерные, шлифовальные и т. д. (табл. 1). В обозначении конкретных моделей станков первая цифра указывает на группу станка, вторая – на тип, а последние цифры характеризуют размер рабочего пространства, т.е. предельно допустимые размеры обработки.

Таким образом, обозначение токарно-винторезного станка модели 16К20П следует расшифровать так: токарно-винторезный станок (первые две цифры) с высотой центров (половина наибольшего диаметра обработки) 200 мм, повышенной точности (П) и очередной модификации (К).

Универсальные станки, иначе называемые станками общего назначения, предназначены для изготовления широкой номенклатуры деталей, обрабатываемых небольшими партиями в условиях мелкосерийного и серийного производства. Универсальные станки с ручным управлением требуют от оператора подготовки и частичной или полной реализации программы, а также выполнения функции манипулирования (смена заготовки и инструмента), контроль и измерение.

Специализированные станки предназначены для обработки заготовок сравнительно узкой номенклатуры. Примером могут служить токарные станки для обработки коленчатых валов или шлифовальные станки для обработки колец шарикоподшипников. Специализированные станки имеют высокую степень автоматизации, и их используют в крупносерийном производстве при больших партиях, требующих редкой переналадки.

Специальные станки используют для производительной обработки одной или нескольких почти одинаковых деталей в условиях крупносерийного и

особенно массового производства. Специальные станки имеют, как правило, высокую степень автоматизации.

Классификация металлорежущих станков
Классификация металлорежущих станков

Автоматическая линия образуется из набора станков-автоматов, расположенных последовательно в соответствии с ходом технологического процесса и связанных общим транспортом и общим управлением. Переналаживаемая автоматическая линия может в режиме автоматической переналадки переходить от обработки одной детали к обработке другой похожей на неё детали.

Гибкие производственные модули (ГПМ) представляют собой автоматизированную универсальную технологическую ячейку, основой которой является станок с полным набором манипуляторов, контрольных и измерительных устройств обеспечивающих работу по безлюдной технологии в течение не менее двух смен.

Станки наиболее распространённых технологических групп образуют размерные ряды, в которых за каждым станком закреплён вполне определённый диапазон размеров обрабатываемых деталей. Например, в группе токарных станков возможности станка характеризуются цилиндрическим рабочим пространством (рис. 1, а), а для фрезерных, расточных (многооперационных станков) – прямоугольным рабочим пространством.

-3

В зависимости от массы станка, которая связана с размерами обрабатываемых деталей и его типом, принято разделять станки (токарные, расточные, шлифовальные) на лёгкие (до 1 т), средние (1-10 т), тяжёлые (более 10 т).

Станки также условно разделяют на классы точности – нормальной (Н), повышенной (П), высокой (В), особо высокой (А) и особо точные станки или мастер-станки (С). Класс точности обозначают соответственно буквами Н, П, В, А, С.