Добавить в корзинуПозвонить
Найти в Дзене
RADIO INFO

Как правильно собрать батарею из двух последовательно соединенных Li-ion аккумуляторов 18650 с зарядкой от USB.

Добрый день дорогие друзья. Я, как наверное многие из Вас, переделываю свои конструкции на питание от Li-ion аккумуляторов 18650 с зарядкой от USB. В большинстве случаев мне требовалось напряжение питания 3-3,7В и меня вполне устраивал вот модуль зарядки TP4056 с защитой аккумулятора Вот его схема Стандартно этот модуль выдает ток зарядки 1А, что мой взгляд много, но его можно уменьшить изменив номинал резистора R3. И вот в настоящее время у меня находится в переделке на FM и подсветки шкалы, и с сохранением всего остального радиоприемник VEF-202. Запитать его от штатных элементов 373 не представляется возможным, так как разъедены и поотваливались контактные пружины, и не только в корпусе приемника, но и на крышке батарейного отсека. Однако испытания показали, что УНЧ и АМ-тракт, а также FM через понижающий линейный стабилизатор, прекрасно работают от двух последовательных Li-ion аккумуляторов 18650 с общим напряжением пределах 7,4-8,4В. Принято было решение поставить аккумуляторы 186

Добрый день дорогие друзья.

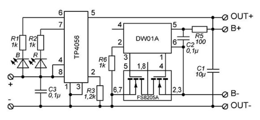
Я, как наверное многие из Вас, переделываю свои конструкции на питание от Li-ion аккумуляторов 18650 с зарядкой от USB. В большинстве случаев мне требовалось напряжение питания 3-3,7В и меня вполне устраивал вот модуль зарядки TP4056 с защитой аккумулятора

Вот его схема

-2

Стандартно этот модуль выдает ток зарядки 1А, что мой взгляд много, но его можно уменьшить изменив номинал резистора R3.

И вот в настоящее время у меня находится в переделке на FM и подсветки шкалы, и с сохранением всего остального радиоприемник VEF-202. Запитать его от штатных элементов 373 не представляется возможным, так как разъедены и поотваливались контактные пружины, и не только в корпусе приемника, но и на крышке батарейного отсека. Однако испытания показали, что УНЧ и АМ-тракт, а также FM через понижающий линейный стабилизатор, прекрасно работают от двух последовательных Li-ion аккумуляторов 18650 с общим напряжением пределах 7,4-8,4В. Принято было решение поставить аккумуляторы 18650 в батарейный отсек, и встал вопрос как их заряжать.

Заряжать аккумуляторы я решил напряжением 5В от USB через штатный разъем питания радиоприемник VEF-202, для этого я даже сделал самодельный штекер питания. Предлагаю посмотреть небольшой видеоролик про этот штекер

Самый простой вариант просматривался в применении китайского повышающего модуля, и стабилизатора тока, например микросхеме LM317. Но этот вариант не совсем подходящий по причине того, Li-ion аккумуляторы не рекомендуется ставить на зарядку последовательно из за возможных перекосов напряжения на аккумуляторах и тем более в моем случае, так как я применяю б/у аккумуляторы от ноутбуков.

После изучения этого вопроса я решил построит зарядку вот на таких двух модулях

-3

Вид с обратной стороны

-4

Об этих модулях на моем канале я уже немного рассказывал в этом видеоролике.

Давайте поговорим о них немного подробней.

Первый который побольше, модуль зарядки

-5

В нашем случае он рассчитан на два соединенных последовательно Li-ion аккумуляторов 18650. При входном напряжении USB 5В и токе 1А он повышает входное напряжение до 8,4В и дает ток зарядки 0,55А. Вот его типовая схема подключения от USB к аккумуляторам.

-6

Такому подключению присущи все недостатки, о которых я говорил выше. И еще я понял, что у этого модуля нет никаких защит. Схемы модуля зарядки я не нашел, и если у кого Вас есть, дайте в комментариях. Выход из положения я вижу в подключения модуля зарядки модуля балансира на 2 Li-ion аккумулятора.

Схема подключения платы балансира к двум аккумуляторам очень проста. К контактам P+ и P- подключается нагрузка, или же при заряде батареи модуль заряда. Вот так выглядит подключение аккумуляторов к балансиру

-7

Удалось даже найти и схему балансира

-8

Балансир выполняет следующие функции:

1. Контроль переразряда батареи
2. Контроль перезаряда батареи
3. Защита от превышения тока нагрузки.

В конечном результате у меня получается вот такое соединение модуля зарядки, балансира и двух Li-ion аккумуляторов 18650.

-9

На этом у нас сегодня все.
Рекомендую посмотреть
Подборку публикаций моего канала, где Вы найдете статьи по рассмотренной выше теме, и множество других материалов, которые могут быть Вам интересны и полезны. Ставьте лайки, комментируйте, подписывайтесь и заходите на мой канал, есть много интересной и нужной информации для радиолюбителей