Добавить в корзинуПозвонить
Найти в Дзене
from SHAMANYUK

РАНЦЕВЫЙ АЭРОДВИЖИТЕЛЬ

Мы привыкли к тому, что любое моторное средство транспорта должно иметь раму, на худой конец опорное устройство, где можно закрепить двигатель. Но вполне надежным опорным устройством могут быть и плечи человека. Ранцевый винтомоторный аэродвижитель для лыжников, созданный в общественном конструкторском бюро Поволжского лесотехнического института имени М. Горького (Йошкар-Ола) мастером спорта Ф. Магиным, именно этот вариант и предусматривает. Пропеллер за спиной дает возможность лыжнику двигаться по снегу со скоростью до 30 км/час. Движитель пригодится в перспективе не только для прогулок. Технические виды спорта рождаются на глазах. Вполне может появиться еще один — соревнования аэролыжников. Конструкция движителя очень проста, его легко сделать за несколько вечеров. Основная ее часть — бензиновый двухтактный двигатель воздушного охлаждения мощностью порядка 4—5 л. с. с числом оборотов коленчатого вала в пределах 4000—5000 об/мин. Этим параметрам соответствует двигатель от бензопилы «Д

Мы привыкли к тому, что любое моторное средство транспорта должно иметь раму, на худой конец опорное устройство, где можно закрепить двигатель. Но вполне надежным опорным устройством могут быть и плечи человека. Ранцевый винтомоторный аэродвижитель для лыжников, созданный в общественном конструкторском бюро Поволжского лесотехнического института имени М. Горького (Йошкар-Ола) мастером спорта Ф. Магиным, именно этот вариант и предусматривает. Пропеллер за спиной дает возможность лыжнику двигаться по снегу со скоростью до 30 км/час. Движитель пригодится в перспективе не только для прогулок. Технические виды спорта рождаются на глазах. Вполне может появиться еще один — соревнования аэролыжников.

Конструкция движителя очень проста, его легко сделать за несколько вечеров. Основная ее часть — бензиновый двухтактный двигатель воздушного охлаждения мощностью порядка 4—5 л. с. с числом оборотов коленчатого вала в пределах 4000—5000 об/мин. Этим параметрам соответствует двигатель от бензопилы «Дружба», мотоцикла К-125 или какой-либо другой воздушного охлаждения. Эти двигатели относительно легки, и плечи вполне их выдержат.

-2

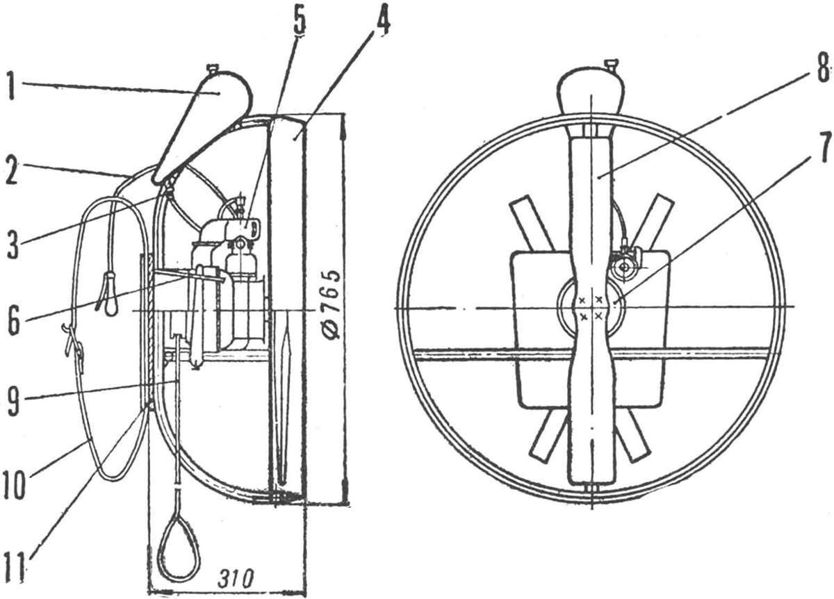
Основа аэродвижителя (рис. 1) — наспинная плита 11, к которой крепятся удерживающие ремни 10, двигатель 5 и оградительное кольцо 4.

Удерживающие ремни шириной 45—50 мм должны быть такими, чтобы их длину можно было регулировать пряжками или зажимами. Ремни крепятся к наспинной плите стальными накладками и болтами М6 X 25.

Наспинная плита 11 изготовлена из фанеры толщиной 10 мм или какого-либо другого прочного материала: дюралюминия, текстолита. При выборе материала надо всегда помнить, что плечи человека не станина, поэтому конструкция должна быть как можно легче.

Двигатель крепится к плите ограничительным кольцом и стальными тягами 6. Кольцо согнуто из листовой стали толщиной 1,5 мм и служит также гнездом под стартер для заводки двигателя. Обычно после запуска бензопилы «Дружба» стартер с двигателя сразу снимается. В нашей конструкции стартер постоянно находится на двигателе, и его можно в любую минуту использовать для запуска.

-3

Рис. 2.

Предусмотренный для удобства запуска удлинительный шнур 9 одним концом крепится к ручке стартера, на другом находится петля, в которую лыжник вставляет при запуске ногу. Таким образом, стартер из ручного превращен в ножной. После запуска удлинительный шнур необходимо сматывать и убирать в специальный карман.

Оградительное кольцо изготовлено из дюралюминиевой трубки Ø 22 мм. По всему периметру к нему крепится ребро жесткости — полоска из дюралюминии толщиной 1,5—2 мм и шириной 40 мм. Кольцо и ребро обматываются киперной лентой и красятся.

Оградительное кольцо крепится к наспинной плите двумя крестообразно расположенными изогнутыми дюралюминиевыми трубками Ø 20 мм. К одной из этих трубок присоединен бензобак 1 емкостью 1,5 литра, который соединяется с карбюратором через хлорвиниловый шланг и бензокран 3. Управляют карбюратором рукояткой через гибкую связь 2.

Наиболее ответственная часть движителя, требующая особенно тщательного изготовления, — воздушный винт 8. От того, насколько удачно он выполнен, зависит развиваемая движителем тяга и, следовательно, скорость лыжника.

-4

Рис. 3.

Винт (рис. 3) изготавливается из сухого березового бруска сечением 35 X 85 мм, длиной 700 мм. Размеры и форма винта в плане приведены на рисунке 3. Винт должен быть тщательно отбалансирован, отшлифован и покрыт несколькими слоями нитроэмали. Отверстия под болты М6 сверлить по месту.

( с нашей практеки винт надо делать многослойным - напровлния ворса к друг к другу)

На рисунке 2 изображен фланец 7, при помощи которого винт крепится к валу двигателя.

Видео о том ПОЕДЕТ ЛИ АЭРОРАНЕЦ ИЗ БЕНЗОПИЛЫ ДРУЖБА?:

ТЕХНИЧЕСКИЕ ДАННЫЕ АЭРОДВИЖИТЕЛЯ ПЛТИ-3

  • Вес в заправленном состоянии — 12 кг
  • Диаметр винта — 700 мм
  • Число оборотов винта — 5000 об/мин
  • Развиваемое тяговое усилие — 15 кг
  • Емкость топливного бака — 1,5 л
  • Расход топлива на всех рабочих режимах в г/л. с. в час — 550
  • Топливо — смесь автомобильного бензина А-72 или А-74 с автотракторным маслом АК-10 или АС-9,5 в пропорции 15:1 по объему
  • Мощность двигателя при максимальных оборотах п = 5000—5400 об/мин — 4 л. с.
  • Скорость перемещения лыжника — до 30 км/час

======================================================

Что бы двигатель соотвествал требуемым параметрам добавить еще дополнительное кольцо на поршень, заменить карбюратор PZ19 с воздушным и топлевным фильтром что бы использовать А-95 в пропорции с маслом 18:1 (масло сентетика используемые для тримеров) или авиционка.